147501 (594361), страница 2
Текст из файла (страница 2)
При желании, клиент может пообщаться с персоналом, ремонтирующим его автомобиль – мастера ответят на все интересующие вопросы, касающиеся выполняемых работ, вежливо и в удобной для восприятия форме.
1.1.4 Доступность и удобство пользования сервисом. Работа с клиентами
Режим работы АТП 10: ежедневно с 9:00 до 19:00, выходной – воскресенье. В праздничные дни предприятие не работает.
Реклама АТП 10 практически нигде не встречается. Однако предприятие хорошо известно в городе. Имеется указатель на ул. Космонавтов (на подъезде к предприятию), а также адрес, телефон и обозначение на схеме города в справочнике «Деловой посредник» (рекламно-информационный справочник-указатель).
Основной же рекламой, являются отзывы клиентов, передающиеся устно от человека к человеку, а также, встречающиеся на форумах региональных сайтов.
Прием клиентов осуществляется непосредственно на территории предприятия. По поводу выполнения работ, оплаты, стоимости услуг и другим организационным вопросам клиент должен обратиться к старшему мастеру. Цены зависят от сложности выполняемых работ. В среднем, они не сильно отличаются от цен основных конкурентов.
При оформлении договора фиксируются регистрационный номер автомобиля, а также номер телефона его владельца на случай оперативной связи с клиентом, во время долгосрочного ремонта.
Нахождение клиента в ремонтной зоне неприемлемо, так как это может угрожать его безопасности. Специального места ожидания для клиентов не предусмотрено, что является существенным минусом для имиджа предприятия. Клиент вынужден, зачастую, ждать «на улице» или находиться в ремонтной зоне, подвергая себя различным опасностям. Оплата выполненных услуг производится после их выполнения.
Покупку запасных частей клиент осуществляет сам. Однако, по договоренности, это могут сделать и сами мастера, при условии, что клиентом будет оставлен аванс.
На все виды работ, кроме регулировки углов установки колес, существует гарантийный срок. В среднем, он составляет 6 месяцев. На ремонт двигателя гарантия – 1000 км, при регулярном ТО, выполняемом на этом же предприятии.
Въезд и выезд автомобилей из боксов (постов ремонта) и с территории предприятия осуществляется с разрешения мастера и под руководством специалиста, осуществляющего ремонт, поскольку пространство для маневрирования на стоянке зачастую бывает сильно ограничено из-за скопления автомобилей, находящихся на ремонте или наоборот, ожидающих своей очереди.
1.1.5 Конкурентоспособность АТП 10
На сегодняшний день российский рынок услуг автосервиса находится на стадии развития. В первую очередь на его развитие влияет растущий большими темпами отечественный рынок автомобилей, который является одним из наиболее перспективных в Европе и имеет шансы через несколько лет выйти на лидирующие позиции. В России пока существует только одна сеть автосервисов федерального масштаба, хотя данный вид услуг с каждым становятся все более востребованными, а число автомобилей в России стремительно растёт.
Чтобы быть конкурентоспособным, предприятие должно обладать конкурентными преимуществами перед другими субъектами рынка.
Под конкурентными преимуществами предприятия следует понимать реальные или потенциальные возможности, характеристики его производственной, финансовой, маркетинговой и иной деятельности, позволяющей предприятию в условиях конкурентной борьбы реализовать свои экономические интересы с большей эффективностью, чем его конкуренты.
Уровень автосервисного обслуживания должен отражать объем и структуру услуг (количественные показатели) и качества предоставления этих услуг населению (качественные показатели).
Уровень конкурентоспособности в основном определяется уровнем конкурентоспособности выполняемых услуг, которая в свою очередь обеспечивается степенью привлекательности услуг для конкретного потребителя. Кроме того конкурентоспособность зависит от изменений во внешней среде, включая конкурентов, а также от изменений в самой фирме, способствующих росту ее эффективности по сравнению с другими фирмами. Известно, например, что уровень производительности труда, качество услуг в значительной мере зависят от применяемых способов мотивации труда работников предприятия и других внутрифирменных факторов.
Основными направлениями повышения уровня конкурентоспособности предприятия являются:
-
повышение качества выполняемых услуг;
-
сокращение времени выполнения заказов;
-
диверсификация производства (услуг);
-
применение гибкой ценовой политики, в основе которой лежат скидки и льготные цены за услуги;
-
применение мер, направленных на повышение общей культуры и репутации предприятия, вежливого и уважительного отношения к клиентам, создания удобств для клиентов.
Основная роль в создании клиентоориентированной культуры в компании принадлежит менеджменту. Персонал компании хорошо понимает значение и задачи сервиса. Для создания и продвижения клиентоориентированной культуры менеджмент предприятия предпринимает следующие действия:
-
доносит до персонала подразделений цели, которых компания пытается достичь;
-
вовлекает сотрудников конкретных подразделений в разработку соответствующих стандартов обслуживания;
-
регулярно включает вопросы обслуживания клиентов в повестку встреч рабочих групп;
-
создает систему стимулирования для сотрудников, оказывающих лучший сервис;
-
поощряет улучшения в сфере обслуживания клиентов;
-
демонстрирует этичное поведение;
-
периодически осуществляет контакт с клиентами с целью выяснения их потребностей и проблем в обслуживании;
-
создает атмосферу, направленную на постоянное улучшение сервиса;
-
создает систему измерения качества обслуживания и сделать результаты доступными для всех сотрудников;
-
перенимает лучшую практику обслуживания внутри и вне компании;
-
обучает новых сотрудников и посвящать их в идеологию клиентоориентированного бизнеса с момента найма;
-
упрощает процедуры, правила, инструкции и прививать сотрудникам философию заботы о клиенте, которая будет реализовываться в соответствующие поступки, так как понимание чаще приводят к правильным действиям, чем формальные инструкции;
-
отстраняет сотрудника от контактов с клиентами, если он не обслуживает их должным образом.
Сервис на предприятии организован таким образом, чтобы предоставлять клиентам возможность:
-
инициировать запрос в удобное для них время;
-
покупать (заказывать) товары или услуг;
-
изменять информацию о себе и заказываемых услугах, например адрес доставки, удобное проведение работ;
-
просматривать и оплачивать свои счета;
-
проверять состояние заказчика;
-
вносить изменения в текущий заказ на некоторых стадиях его выполнения;
-
контактировать с представителем компании в любой момент процесса обслуживания.
Важную роль в привлечении клиентов имеет представление им информации о предприятии и его услугах через рекламу. Рекламы недостаточно. О данном предприятии можно узнать преимущественно от людей, ремонтировавших там свой автомобиль, а также из рекламно-информационного справочника-указателя «Деловой посредник». Рекламный щит-указатель, расположенный на повороте к автосервису, недостаточно больших размеров, чтобы его можно было легко заметить, кроме того, он недостаточно информативен.
АТП 10 находится непосредственно вблизи оживленной улицы. Удобный подъезд. Можно легко добраться на общественном транспорте практически из любого района города.
АТП 10 предоставляет достаточно полный перечень услуг по ремонту и обслуживанию автомобилей.
Квалификация персонала высокая, что подтверждается хорошим качеством оказания услуг. Также об этом свидетельствуют, преимущественно, положительные отзывы клиентов.
Размеры стоянки, находящейся на территории и рядом с предприятием, достаточно для размещения большого числа автомобилей. На ней можно свободно маневрировать.
Наличие собственных запасных частей на предприятии не предусмотрено, как не предусмотрено и магазина на территории предприятия. Предполагается, что комплектующие клиент приобретет сам, после согласования (или без него) со специалистом, ремонтирующим его автомобиль.
В автосервисе отсутствует комната ожидания, где клиенты могут провести время, в ожидании своего автомобиля при ремонте или ТО.
Предприятие является одним из старейших в городе, то соответственно, и оборудование (подъёмники, некоторое диагностическое оборудование и прочее) нуждаются в обновлении или замене на более современные, что может существенно повысить скорость и качество выполнения работ, а, соответственно, и доход предприятия.
Поднять конкурентоспособность предприятия помогло бы заключение договоренности с ГИБДД. Так как на территории АТП-10 находится станция технического осмотра, клиенты не прошедшие ТО имели бы возможность устранять неполадки на месте. Но, к сожалению, такая договоренность еще не заключена. Не меньшую роль может сыграть открытие поста технического обслуживания и ремонта карданной передачи легковых автомобилей для населения.
1.1.6 План автотранспортного предприятия № 10
Предприятие занимает большую площадь. На этой площади расположено два цеха по ремонту грузовых и легковых транспортных средств и центральный склад по хранению запасных частей. В помещениях предприятия имеется освещение, отопление и вентиляция. Также на территории предприятия расположено здание административно-управленческого персонала. На территории АТП-10 располагается станция технического обслуживания с прилегающими к ней стоянкой ожидающих ТО и стоянкой прошедших ТО.
Рисунок 1.2 – Схема движения транспортных средств по территории «АТП-10»: 1 - проходная, 2 - цех №1,3- агрегатный цех, 4 - административное здание, 5-пункт технического осмотра, 6 - стоянка транспортных средств «АТП-10», 7 -склад металла, 8 - стоянка транспортных средств ожидающих ТО, 9 - стоянка транспортных средств, прошедших ТО, 10 - служебная стоянка.
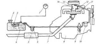
1.2 Принципиальное устройство системы питания легкового автомобиля
Система питания предназначена для хранения запаса топлива на автомобиле, очистки топлива и воздуха, образования горючей смеси, подвода ее в цилиндры двигателя и отвода от них отработавших газов. Система питания карбюраторного двигателя должна обеспечивать высокую надежность работы двигателя в различных условиях эксплуатации автомобиля, заданный расход топлива, минимальное загрязнение окружающего воздуха отработавшими газами, безопасность в пожарном отношении, удобство диагностики и технического обслуживания.
Рисунок 1.3 – Принципиальная схема системы питания карбюраторного двигателя: 1 - указатель уровня топлива; 2 - датчик указателя уровня топлива; 3 - крышка горловины топливного бака; 4 - топливный бак; 5 - глушитель; 6 - фильтр отстойник; 7 - приемная труба; 8 - двигатель; 9 - топливный насос; 10 - фильтр тонкой очистки топлива; 11 -выпускной трубопровод; 12 - впускной трубопровод; 13 - воздушный фильтр; 14 -карбюратор.
При работе двигателя топливо (бензин) из бака закачивается насосом и, проходя через трубопроводы и топливные фильтры, подается в карбюратор, где распыливается и смешивается в определенной пропорции с воздухом, который поступает в карбюратор через воздушный фильтр. Такая смесь топлива и воздуха приготовленная в карбюраторе называется горючей смесью, которая по впускному трубопроводу подводится в каждый цилиндр двигателя при такте впуска. В цилиндре горючая смесь смешивается с продуктами сгорания, оставшимися после предыдущего такта, и образует рабочую смесь. Далее при такте сжатия рабочая смесь сжимается. В конце такта сжатия она воспламеняется от искрового разряда свечи зажигания и сгорает, увеличиваясь в объеме и совершая полезную работу на перемещение поршня. Образовавшиеся при такте рабочего хода отработавшие газы при такте выпуска отводятся через глушитель в атмосферу. В системах питания различных карбюраторных двигателей могут быть некоторые конструктивные отличия. Так, для уменьшения шума при впуске воздуха в карбюратор между воздушным фильтром и карбюратором могут быть установлены глушители шума впуска.
Топливные фильтры для двигателей легковых автомобилей иногда выполняют совместно с карбюратором или топливным насосом. Отдельное исполнение этих фильтров, как правило, принимают для двигателей грузовых автомобилей и автобусов. Для защиты двигателя от чрезмерного повышения частоты вращения коленчатого вала, что может быть при работе двигателя без нагрузки, в системе питания предусматривают ограничитель частоты вращения. Обычно такие ограничители устанавливают на карбюраторах двигателей грузовых автомобилей (например, автомобиль ЗИЛ-130). Приборы системы питания двигателя соединены между собой металлическими топливопроводами, а также шлангами из маслобензостойкой резины или пластмассы.
1.2.1 Устройство и работа простейшего карбюратора
Для грамотной эксплуатации карбюратора необходимо изучить прежде всего конструктивные его особенности и понять принципы работы систем на различных режимах, знать возможные неисправности и разрегулировки, причины возникновения, а также методы их обнаружения и устранения.















