144662 (594104), страница 4
Текст из файла (страница 4)
qhreg ≥ qhdes.
Уменьшаем приведенные сопротивления теплопередачи ограждающих конструкций, определенные по таблице 1”б” СНиП II-3-79*, исходя из условий энергосбережения. (Изменения вносим в пункт 19).
19. Для второго этапа принимаем следующие сопротивления ограждающих конструкций:
- стен Rwred= 1,72 м20С/Вт;
- окон и балконных дверей Rfred= 0,377 м20С/Вт;
- входных дверей Rwred= 1,35 м20С/Вт;
- совмещенное покрытие Redred= 20,5 м20С/Вт;
- пол первого этажа Rf = 1,15 м20С/Вт;
20. Приведенный трансмиссионный коэффициент теплопередачи:
Kmtr = (Aw/Rwr+AF/ RFr + Aed/ Rtdr+n Ac/ Rcr+ n Af/ Rfr)/ Аеsum
Kmtr = 1,1(1426,6/1,72 + 542,5/0,38 + 5,75/1,35 + 1885,4/2,05 +0,6885,4/3,25)/3745,7 = 1.1(829,4 + 1427,6 + 4,25 + 431,9+769,9)/3745,7 = 0,92 (Вт/м20С),
21. (Без изменения.) Воздухопроницаемость наружных ограждений принимается по таблице 12* СниП П-3-79*. Согласно этой таблице воздухопроницаемость стен, покрытия, перекрытия первого этажа Gmw = Gmc = Gmf = 0,5 кг/(м20С), окон и деревянных переплетов и балконных дверей GmF = 6 кг/(м20С).
22. (Без изменения.) Требуемая среднесуточная кратность воздухообмена в общественных зданиях, функционирующих не круглосуточно, определяется по формуле:
где
— продолжительность рабочего времени в учреждении, ч;
— кратность воздухообмена в рабочее время, ч-1, согласно СНиП 2.08.02 для учебных заведений, поликлиник и других учреждений, функционирующих в рабочем режиме неполные сутки, 0,5 ч-1 в нерабочее время;
na=
=0,75 ч-1
24. Общий коэффициент теплопередачи здания, (Вт/м20С) определяемый по формуле:
Кm = Kmtr+ Кminf= 0,92+0,489 = 1,409 (Вт/м20С)
Теплоэнергетические показатели
25. Общие теплопотери через ограждающую оболочку здания за отопительный период, МДж
Qh = 0.0864KmDd Aesum = 0,08641,40930583745,7 = 1394425,7(МДж)
26. (Без изменения.) Удельные бытовые тепловыделения qint, Вт/м3, следует устанавливать исходя из расчетного удельного электро- и газопотребления здания, но не менее 10 Вт/м3
Принимаем 12 Вт/м3.
27. (Без изменения.) Бытовые теплопоступления в здание за отопительный период, МДж:
Qint = 0,0864qintZhtAL = 0,0864121682528,6 = 440437,3 МДж
28. (Без изменения.) Теплопоступления в здание от солнечной радиации за отопительный период, МДж:
Qs =FkF(AF1l1+AF2l2+ AF3l3+AF4l4)= 0,90,9(185,26382+131,26816 +98,52 382+126,96816)= 0,81(70769+107108+37634+103599)=258479 МДж
29. Потребность в тепловой энергии на отопление здания за отопительный период, МДж, определяют по формуле:
Qhy = [Qh – (Qint + Qs)Y]h
Qhy = [1394425,7- (440437,3+258479,1)0,8]1,13 = 943880,2 МДж
30. Удельный расход тепловой энергии на отопление здания qhdes, кДж/(м30Ссут): qhdes = 103 Qhy/AhDd
qhdes= 103943880,2 /101013058 = 30,55 кДж/(м30Ссут)
При требуемом qhred = 31 кДж/(м30Ссут)
По принятым сопротивлениям теплопередаче определимся конструкциями ограждений и толщиной утеплителя совмещенного покрытия и перекрытия первого этажа.
Стены: принимаем следующую конструкцию стены, теплотехнические характеристики материалов (рис. 4)
1. Известково-песчанный раствор плотностью 1600 кг/м3 1=20мм, с коэффициентом теплопроводности
А =0,70 Вт/(моС)
2. Пенобетон плотностью 800 кг/м3 2=Х мм, с коэффициентом теплопроводности
А =0,33 Вт/(моС)
3. Цементно-песчаный раствор плотностью 1800 кг/м3 3=20 мм, с коэффициентом теплопроводности
А =0,76 Вт/(моС)
Сопротивление теплопередаче:
R0 =RВ+Rраств+Rж/б +Rраств + Rн =Roтреб
R0 =
м20С/Вт
[1,72 – (0,115 + 0,028+0,026 + 0,043)]0,33 =δ2
откуда толщина пенобетона δ2=0,5 м
Совмещенное покрытие: принимаем следующую конструкцию совмещенного покрытия, теплотехнические характеристики материалов (рис. 5)
1. Цементно-песчаный раствор плотностью 1800 кг/м3 1=20 мм, с коэффициентом теплопроводности
А =0,76 Вт/(моС)
2. Утеплитель-газобетон плотностью 600 кг/м3 2=Х мм, с коэффициентом теплопроводности
А =0,22 Вт/(моС)
3. Железобетонная монолитная плита плотностью 2500 кг/м3 3=250 мм, с коэффициентом теплопроводности
А =1,92 Вт/(моС)
R0 =RВ +Rж/б +Rутеп +Rраств + Rн =Roтреб
R0 =
м20С/Вт
1/8,7+0,25/1,92 + X/0,22+ 0,02/0,76 + 1/23= 1,45
[1,45-(0,115+0,13 +0,026+0,043)]0,22 = X
X = (1,45-0,314)0,22= 0,249 м
Принимаем ут = 25 см
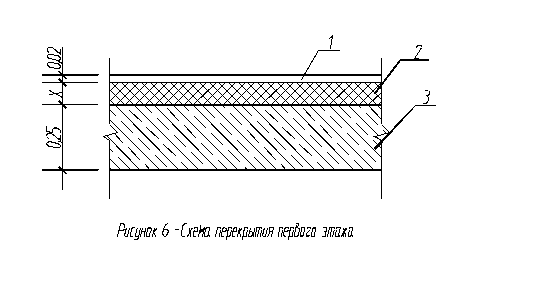
Перекрытие первого этажа: принимаем следующую конструкцию перекрытия первого этажа, теплотехнические характеристики материалов (рис. 6)
1. Цементно-песчаный раствор плотностью 1800 кг/м3 1=20 мм, с коэффициентом теплопроводности
А =0,76 Вт/(моС)
2. Утеплитель-газобетон плотностью 300 кг/м3 2=Х мм, с коэффициентом теплопроводности
А =0,11 Вт/(моС)
3. Железобетонная монолитная плита плотностью 2500 кг/м3 3=250 мм, с коэффициентом теплопроводности
А =1,92 Вт/(моС)
R0 =RВ + Rраств + Rутеп +Rж/б + Rн =Roтреб
R0 =
м20С/Вт
1/8,7+0,02/0,76 + X/0,11+ 0,25/1,92 + 1/23= 1,15
[1,15-(0,115+0,026 +0,13+0,043)]0,11 = X
X = (1,15-0,314)0,11= 0,9 м принимаем ут = 90 см
5.3 Конструктивное решение здания
Конструктивные решения обусловлены архитектурно – планировочными требованиями и приняты в соответствии с архитектурным заданием.
Здание рамно-связевое из монолитного железобетона с безригельными перекрытиями.
Фундаменты приняты из условия ограничения возможных деформаций для многоэтажной части из кустов свай, для одноэтажных пристроек – плитные фундаменты. Перекрытия – монолитные железобетонные. Кровля – плоская из рулонных материалов, утепленная газобетоном.
Отмостка вокруг здания – бетонная шириной 1000 мм. Стены – из монолитного пенобетона с поэтажным опиранием на консоли перекрытий.
Перегородки – кирпичные толщиной 120 мм и на металлическом каркасе с двухсторонней обшивкой гипсокартонными листами в два слоя.
5.4 Решение фасада, внутренняя отделка помещений
Стены из пенобетона покрыты штукатуркой типа “Drewa”. Основной колер стен – белый. Цоколь и часть первого этажа отделаны плитами из натурального камня по сетке на цементно-песчаном растворе. Остекление принято зеркальными стеклопакетами.
Внутренние стены и потолки после затирки (при необходимости – штукатурки) окрашиваются водоэмульсионной краской СТЭМ-45. В помещениях, где установлено сантехническое оборудование стены отделываются глазурированной плиткой или окрашиваются поливинилацетатной краской ВА-27.
5.5 Инженерное оборудование
Отопление
Отопление помещений корпуса – водяное, местными нагревательными приборами – радиаторами типа МС 140. Систеиы отопления – двухтрубные. Расход тепла на отопление по первой очереди 180000 ккал/час (218 кВт).
Источником теплоснабжения является котельная по ул. Красных партизан, 6 (резервный источник- котельная РОК-1. Котельная оборудована водонагревательными котлами ТВГ-8М, ТВГ-4Р и двумя паровыми котлами Е-1/9 Г.
Источником водоснабжения являются кольцевые сети 2-й горбольницы.
Вентиляция и кондиционирование
Для создания нормативных параметров воздуха в помещениях предусматривается:
-
общественная вытяжная вентиляция;
-
кондиционирование воздуха.
Количество воздуха для вентиляции и кондиционирования в помещениях определено расчетом в соответствии с требованиями СНиП 2.08.02-89, СНиП 2.04.05-91, пособиям по проектированию учреждений здравоохранения.
По экономическим соображениям и, исходя из надежности работы, приняты автономные кондиционеры японской фирмы “DEIKIN”, работающие в режиме “зима-лето”, поддерживающие в помещении заданную температуру воздуха и очищающие его от пыли. Расход тепла на вентиляцию первой очереди – 195000 ккал/час (226 КВт).
Теплоснабжение
Согласно схеме теплоснабжения источником тепла является котельная по ул. Красных партизан, 6 (резервный источник – котельная РОК-1). Котельная оборудована водогрейными котлами ТВГ-8М, ТВГ-4Р и двумя паровыми котлами Е-1/9 Г
Показатели параметров теплоносителей:
-
теплофикационная вода с температурой подающей воды 150˚С и обратной 70 ˚С;
-
подающей горячего водоснабжения 65˚С и циркуляционной воды 50 ˚С.
Давление в подающей магистрали на выходе из котельной Р=0,55 Мпа, давление в обратной магистрали входе в котельную Р=0,45 Мпа.
Водоснабжение
В соответствии с требованиями, предъявляемыми к качеству воды, в здании медицинского учреждения предусмотрена следующая система водоснабжения:
-
хозяйственно - питьевая;
-
противопожарная.
Питьевая вода используется для хозяйственно-питьевых нужд, полив газонов и территории, пожаротушения.
Источником водоснабжения являются кольцевые сети 2-й горбольницы диаметром 300 мм. Напор в сети – 4,0 атм. Учет воды производится водомером ВТ-80, установленным на вводе в колодце.
Внутренние сети водопровода – кольцевые, укладываются из стальных электросварных труб диаметром 100 мм по ГОСТ 10704-76 и из стальных водогазопроводных труб диаметром 15…50 мм по ГОСТ 3262-75. Пожарные краны устанавливаются в деревянных шкафах, оборудованных двумя огнетушителями.
Канализация
В соответствии с требованиями, предъявляемыми к качеству сточных вод, запроектированы следующие системы канализации:
-
бытовая;
-
дождевая.
В сеть бытовой канализации сбрасываются стоки от санприборов. Отвод бытовых стоков предусмотрен в существующую сеть фекальной канализации 2-й горбольницы диаметром 300 мм.
На выпуска канализации от санприборов, расположенных в подвале и в колодце здания, устанавливаются электрофицированные задвижки с автоматическим управлением.
Система дождевой канализации запроектирована для отвода дождевых стоков с кровли здания и дождеприемных лотков. Отвод дождевых стоков предусматривается в существующий ливневый коллектор диаметром 600 мм 2-й горбольницы. Сети канализации укладываются из чугунных и керамических труб с герметизацией стыковых соединений. Характеристика загрязнений в сточных водах соответствует требованиям Краснодарского Горисполкома (решение №362 от 12.07.91 г.).
Электроосвещение
Электроосвещение выполнено в соответствии со СниП II-4-79 и предусматривает:
-
рабочее напряжение 220 В;
-
аварийное и эвакуационное напряжение 220 В;
-
ремонтное напряжение 42 В.
Аварийное освещение для продолжения работы предусмотрено только в процедурных и электрощитовой. В качестве источников света приняты люминесцентные светильники и лампы накаливания. Выбор светильников произведен в соответствии с условиями среды. Управление рабочим освещением осуществляется выключателями по месту управления эвакуационным освещением централизовано со щита аварийного освещения.
6. Расчетно-конструктивная часть
6.1 Расчет железобетонной четырехпролетной рамы
Расчет рамы ведем по оси «В».
Сечение стоек- колонн bxh=40x40 см, сечение ригелей bxh=0,5х(600+300)х25=450х25 см, где по методу заменяющих рам ширина ригеля равна полусумме двух смежных пролетов.
















