144662 (594104), страница 3
Текст из файла (страница 3)
В цокольном этаже расположены стерилизационная, комплекс помещений сауны с отдельным входом, архив, актовый зал на 96 мест и буфет с подсобными помещениями. Часть этажей заняты техническими помещениями.
Комплекс помещений сауны начинается с раздевалки, при которой предусмотрен санузел. Далее посетители попадают в помещение с душевыми.
Здание реабилитационного корпуса, имея изрезанные очертания, живописно вписывается в окружающую зеленую зону. Остекление принято тонированными зеркальными стеклопакетами теплого тона. Стены из пенобетона. Основной колер стен – белый. Цоколь и часть первого этажа отделаны плитами из натурального камня по сетке на цементно – песчаном растворе.
Основные технико-экономические показатели:
объем здания – 10101 м³
общая площадь – 2856 м
полезная площадь – 2528 м²
площадь застройки –1158,1 м²
5.2 Теплотехнический расчет ограждающих конструкций
Расчет производится согласно главы СНиП П-3-79 «Строительная теплотехника» и СНКК 23-302-2000 (ТСН 23-302-2000 Краснодарского края) Энергетическая эффективность жилых и общественных зданий. Нормы по теплозащите зданий и методических указаний к курсовому и дипломному проектированию «Теплотехнический расчет ограждающих конструкций зданий».
Расчетные условия (по данным СНКК 23-302-2000):
1. Расчетная температура внутреннего воздуха – tint = +210 С;
2. Расчетная температура наружного воздуха – text = - 190 С;
(температура наиболее холодной пятидневки)
5. Продолжительность отопительного периода Z ext = 168 сут.;
6. Средняя температура наружного воздуха за отопительный период textav +2,80 С;
7. Градусосутки отопительного периода Dd = 30580С.
8. Назначение – лечебное.
9. Размещение в застройке – отдельностоящее.
10. Тип – четырехэтажное.
11. Конструктивное решение – рамно-связевое из монолитного бетона с самонесущими стенами из пенобетона.
Объемно-планировочные параметры здания:
12. Общая площадь наружных стен, включая окна и двери
Aw+F+ed = Pst Hh =
м2
Площадь наружных стен (за минусом площади окон и входных дверей):
Aw = 1974,9 – 542,5 – 5,76 = 1426,64 м2
AF = 542,5 м2 – площадь окон и витражей;
Aed = 2.42.4 = 5,76 м2 – площадь входной двери.
Площадь покрытия и площадь пола 1-го этажа равны:
Ас = Аst = 885,4 м2
13. Площадь наружных ограждающих конструкций определяется как сумма площади стен (с окнами и входными дверьми) плюс площадь пола, плюс площадь совмещенного покрытия:
Аеsum= Aw+F+ed+ Ас + Аst= 1974,9+885,4+885,4 = 3745,7 м2
14-15. Площадь отапливаемых помещений (общая площадь) Аh и полезная площадь Аr:
Аh =580,5+
м2
Аr =2856,4-327,8=2528,6 м2,
16. Отапливаемый объем здания:
Vh =Ast Hh=
м3
17-18. Показатели объемно-планировочного решения:
- коэффициент остекленности здания: Р =АF / Aw+F+ed = 542,5/1974,9= 0,27;
- показатель компактности здания: Кеdes = Аеsum/ Vh = 3745,7/10101 = 0,37.
Теплотехнические показатели
19. Согласно СниП П-3-79 приведенное сопротивление теплопередаче наружных ограждений R0r, м2 0С/Вт должно приниматься не ниже требуемых значений R0red, которые устанавливаются по табл. 1б в зависимости от градусосуток отопительного периода.
Для Dd = 30580Ссут требуемое сопротивление теплопередаче равно для:
- стен Rwred= 2,46 м20С/Вт;
- окон и балконных дверей Rfred= 0,377 м20С/Вт;
- входных дверей Rwred= 1,35 м20С/Вт;
- совмещенное покрытие Redred= 3,6 м20С/Вт;
- пол первого этажа Rf = 3,25 м20С/Вт;
Определимся с конструкциями и рассчитаем толщины утеплителей наружных ограждений по принятым сопротивлениям теплопередачи. Схема конструкции стены приведена на рисунке 1.
1. Известково-песчанный раствор плотностью 1600 кг/м3 1=20 мм, с коэффициентом теплопроводности
А =0,70 Вт/(моС)
2. Пенобетон плотностью 600 кг/м3 2=Х мм, с коэффициентом теплопроводности
А =0,22 Вт/(моС)
3. Цементно-песчанный раствор плотностью 1800 кг/м3 3=20 мм, с коэффициентом теплопроводности
А =0,76 Вт/(моС
Определяем требуемое сопротивление теплопередаче стены, исходя из санитарно-гигиенических и комфортных условий:
м20С/Вт
R0 =RВ+Rраств+Rж/б +Rраств + Rн =Roтреб
R0 =
м20С/Вт
[2,46 – (0,115 +0,028+ 0,026 + 0,043)]0,22 = x
x = 0,5 бет =0,5 м
толщина стены 0,5+0,02= 0,54 м
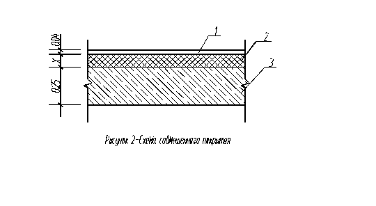
Для обеспечения требуемого по градусосуткам сопротивления теплопередаче совмещенного покрытия R0тр = 3,6 м20С/Вт определяем толщину утеплителя в многослойной конструкции покрытия (термическое сопротивление пароизоляции отнесены в запас), схема которого приведена на рисунке 2.
1. Железобетонная монолитная плита плотностью 2500 кг/м3 1=250 мм, с коэффициентом теплопроводности
А =1,92 Вт/(моС)
2. Утеплитель-пенополистирол плотностью 150 кг/м3 2=Х мм, с коэффициентом теплопроводности
А =0,052 Вт/(моС)
3. Цементно-песчанный раствор плотностью 1800 кг/м3 3=40 мм, с коэффициентом теплопроводности
А =0,76 Вт/(моС)
R0 =RВ +Rж/б +Rутеп +Rраств + Rн =Roтреб
R0 =
м20С/Вт
1/8,7+0,25/1,92 + X/0,052+ 0,04/0,76 + 1/23= 2,46
[3.6-(0,115+0,13 +0,052+0,043)]0,052 = X
X = (3,6-0,34)0,052= 0,169 м
ут = 17 см
Для обеспечения требуемого по градусо-суткам сопротивления теплопередаче R0тр = 3,25 м20С/Вт перекрытия по грунту, определяем его конструкцию и рассчитаем толщину утеплителя (рис. 3).
1. Цементно-песчанный раствор плотностью 1800 кг/м3 1=40 мм, с коэффициентом теплопроводности
А =0,76 Вт/(моС)
2. Утеплитель-керамзит плотностью 300 кг/м3 2=Х мм, с коэффициентом теплопроводности
А =0,12 Вт/(моС)
3. Железобетонная монолитная плита плотностью 2500 кг/м3 3=250 мм, с коэффициентом теплопроводности
А =1,92 Вт/(моС)
R0 =RВ + Rраств + Rутеп +Rж/б + Rн =Roтреб
R0 =
м20С/Вт
1/8,7+0,04/0,76 + X/0,12+ 0,25/1,92 + 1/23= 3,25
[3,25-(0,115+0,052 +0,13+0,043)]0,12 = X
X = (3,25-0,34)0,12= 0,349 м принимаем ут = 35 см
20. Приведенный трансмиссионный коэффициент теплопередачи:
Kmtr = (Aw/Rwr+AF/ RFr + Aed/ Rtdr+n Ac/ Rcr+ n Af/ Rfr)/ Аеsum
Kmtr = 1,1(1426,6/2,46 + 542,5/0,38 + 5,75/1,35 + 1885,4/3,6 +0,6885,4/3,25)/3745,7 = 1.1(597,67 + 1427,6 + 4,25 + 245,94+163,45)/3745,7 = 0,651 (Вт/м20С),
21. Воздухопроницаемость наружных ограждений принимается по таблице 12* СниП П-3-79*. Согласно этой таблице воздухопроницаемость стен, покрытия, перекрытия первого этажа Gmw = Gmc = Gmf = 0,5 кг/(м20С), окон и деревянных переплетов и балконных дверей GmF = 6 кг/(м20С).
22. Требуемая среднесуточная кратность воздухообмена в общественных зданиях, функционирующих не круглосуточно, определяется по формуле:
где
— продолжительность рабочего времени в учреждении, ч;
— кратность воздухообмена в рабочее время, ч-1, согласно СНиП 2.08.02 для учебных заведений, поликлиник и других учреждений, функционирующих в рабочем режиме неполные сутки, 0,5 ч-1 в нерабочее время;
na=
=0,75 ч-1
23. Приведенный инфильтрационный (условный) коэффициент теплопередачи здания определяется по формуле:
Кminf= 0.28cnav Vh ahtk/Acsum, aht=353/(275+textav)
Кminf = 0,2810,750,85101011,270,8/3745,7 = 0,489 (Вт/м20С).
24. Общий коэффициент теплопередачи здания, (Вт/м20С) определяемый по формуле:
Кm = Kmtr+ Кminf= 0,651+0,489 = 1,14 (Вт/м20С)
Теплоэнергетические показатели
25. Общие теплопотери через ограждающую оболочку здания за отопительный период, МДж
Qh = 0.0864KmDd Aesum = 0,08641,1430583745,7 = 1128207(МДж)
26. Удельные бытовые тепловыделения qint, Вт/м3, следует устанавливать исходя из расчетного удельного электро- и газопотребления здания, но не менее 10 Вт/м3
Принимаем 12 Вт/м3.
27. Бытовые теплопоступления в здание за отопительный период, МДж:
Qint = 0,0864qintZhtAL = 0,0864121682528,6 = 440437 МДж
28. Теплопоступления в здание от солнечной радиации за отопительный период, МДж:
Qs =FkF(AF1l1+AF2l2+ AF3l3+AF4l4)= 0,90,9(185,26382+ 131,26816+ 98,52 382+126,96816)= 0,81(70769+107108+37634+103599)=258479 МДж
29. Потребность в тепловой энергии на отопление здания за отопительный период, МДж, определяют по формуле:
Qhy = [Qh – (Qint + Qs)Y]h
Qhy = [1128207- (440437+258479)0,8]1,13 = 643053 МДж
30.Удельный расход тепловой энергии на отопление здания qhdes, кДж/(м30Ссут): qhdes = 103 Qhy/AhDd
qhdes= 103643053 /101013058 = 20,81 кДж/(м30Ссут)
Разница между удельным расходом энергии на отопление здания и требуемым (20,81 против 31) составляет 32,87%, что превышает допустимую разницу (5%), поэтому необходим пересмотр вариантов до достижения условия:
















