115417 (591914), страница 8
Текст из файла (страница 8)
Блок живлення (див.принципову схему рис. 29) складається з трьох випрямлячів із стабілізованою вихідною напругою, випрямляч на діодному мості VD3 живить фотореле, обмотки електромагнітів, світловий пістолет. Випрямляч на діодному мості VD5 призначений для живлення лічильника. Змінна напруга величиною 180В з обмотки трансформатора Т1 подається на однопівперіодний випрямляч (діод VD6), а з нього на аноди газорозрядних індикаторів. Для повторення вказаної конструкції, необхідні наступні радіодеталі: постійні резистори МЛТ вказаної на схемі потужності, підстроювальні (RЗ у вузлах АІ-А6) - СПЗ-1а; фоторезистори ФР-1, конденсатори СЗ,С8 - МБМ або інші малогабаритні; електролітичні конденсатори типу К5О-б, К50-12 з зазначеною на схемі робочою напругою; транзистори фотореле - серії МП40-МП42 з коефіцієнтом передачі струму не менше 50. Транзистори VТЗ - будь-які з серії П213-П217, VТ4 -будь-який з серії КТ807 (його необхідно встановити на радіатор виготовлений з листового алюмінію товщиною 2 мм при габаритних розмірах 30 х 20мм). Діоди VD1 блоків фотореле - будь-які із серії Д9, Д220; діодні блоки VDЗ, VD5 - будь-які із серії КЦ402, КЦ405; діод VD6 - будь-який розрахований на зворотню напругу не менше ЗООВ. Динамічні головки потужністю 1-2 Вт (опір звукової котушки - б-1О ом). Трансформатор блоку живлення намотано на магнітопроводі Ш16х20. Первинна обмотка трансформатора містить 2355 витків проводу ПЭВ-1 (діаметр проводу - 0,12 мм.), обмотка ІІ - 2050 витків проводу ПЭВ-1- 0,1 мм; обмотка ІІІ - 129 витків ПЭВ-1 - 0,31 мм; обмотка ІV 75 витків ПЭВ-1 - 0,2б мм.
Рис. 30
Деталі вузлів А1-А6 змонтовано на одній платі. Плати з деталями та данамічні головки кріплять в середині корпусу. На боковій панелі корпусу розміщено: тумблер включення живлення, запобіжники, роз'єм для підключення шнура світлового пістолета, кнопка встановлення лічильника вистрілів у нульове положення. В стволі пістолета розміщена лампа і фокусуюча лінза, а в рукоятці - решта деталей вузла А7.
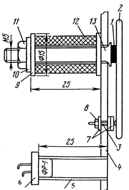
Фоторезистор (рис.30), встановлено в середині непрозорої трубки 5, яку змонтовано на передній панелі корпусу. Над фоторезистором розміщені електромагніти. Котушку електромагніта 12 намотано на пласмасовому каркасі 9. Для намотки використано провід діаметром 0,16 мм (800 витків проводу котушки намотано "внавал").
Котушку одівають на магнітопровід 13. Ним може бути болт М6, відповідної довжини. Перед монтажем шестигранну головку болта доцільно обточити (надати їй циліндричної форми) і дещо вкоротити.
При допомозі постійного магніта 1 до магнітопроводу котушки кріпиться фігурка (мішень), яка крім того, насаджена на вісь3 (рис. 31). Таке кріплення дозволяє утримувати її в вертикальному положенні.
Рис. 31
При влучному попаданні, на обмотку електромагніту подається електричний струм, внаслідок чого навколо котушки утворюється постійне магнітне поле, яке і відштовхує постійний магніт встановлений на мішені (мішень опрокидується).
Світловий промінь пістолета фокусують так, щоби при відстані 5м, на передню стінку фототиру падав яскравий світловий промінь (при цьому діаметр даного світлового пучка повинен бути мінімальним).
Слід забезпечити також можливість вільного обертання мішені навколо осі. Якщо, при влучному попаданні, мішень не опрокидується, то в такому випадку, слід змінити полярність включення виводів обмоток. У випадку необхідності, коректують чутливість світлового реле так, щоб воно надійно реагувало лише на світловий промінь пістолета і не було чутливим до інтенсивності навколишнього освітлення.
ПРАВИЛА БЕЗПЕЧНОЇ ПРАЦІ ПРИ ВИКОНАННІ ПРАКТИЧНИХ РОБІТ НА ЗАНЯТТЯХ ГУРТКА РАДІОТЕХНІЧНОГО КОНСТРУЮВАННЯ
Керівник гуртка повинен постійно тримати в полі зору питання дотримання гуртківцями правил безпечної праці. З цією метою, вже на першому занятті необхідно провести інструктаж з безпеки праці та зробити відповідний запис у журналі гурткової роботи (форма запису не є строго регламентованою, але тут повинно бути наступне: прізвище та ім’я школярів, дату проведення та зміст інструктажу, підписи гуртківців та керівника гуртка). Такий інструктаж необхідно проводити не менше двох разів на рік.
При проведенні інструктажу слід керуватись основними положеннями правил безпечної праці та "Правилами безпечної праці і виробничої санітарії для шкільних навчальних і навчально-виробничих майстерень, а також навчальних комбінатів, цехів і підприємств, в яких проходить трудова підготовка учнів".
Керівнику гуртка необхідно:
1) під час проведення гурткових занять постійно знаходитись в приміщенні гуртка;
2) створювати належні умови праці гуртківцям та вимагати дотримання ними правил безпечної праці;
3) проводити поточний інструктаж з правил безпечної праці;
4) слідкувати за технічним станом і своєчасно приймати міри по відновленню або вилученню з користування несправного електроінструменту, радіомонтажного, слюсарного і столярного інструменту, електроарматури тощо;
5) зберігати інструменти індивідуального та загального користування в спеціально відведеному для цього місці;
б) вміти правильно надати першу медичну допомогу потерпілому від опіків, порізів, електротравм;
7) знати призначення та спосіб використання медичних препаратів, що знаходяться в аптечці лабораторії;
8) своєчасно поповнювати аптечку перев'язочним матеріалом та дезинфікуючими препаратами;
Гуртківці зобов’язані:
- дотримуватись правил внутрішнього розпорядку в радіолабораторії;
- використовувати інструмент лише за призначенням;
- тримати на робочому місці тільки ті матеріали, інструменти, прилади, які необхідні для виконання поточної роботи;
- припиняти роботу за першою ж вимогою керівника гуртка;
- повідомляти керівника гуртка про виявлені дефекти інструментів, електроарматури, ізоляції електропроводу тощо;
- при появі сторонніх запахів відключити живлення електроспоживачів і негайно повідомити керівника гуртка.
Окрім загальних правил безпечної праці, специфіка роботи гуртка зобов'язує особливо ретельно дотримуватись вимог електробезпеки:
- напруга живлення електропаяльників не повинна перевищувати 42В;
- шнури електропаяльників повинні бути оснащені вилками, конструкція яких виключає можливість іх підключення до розеток з напругою 220В;
- періодично перевіряти паяльники на відсутність короткого замикання між корпусом та нагрівальним елементом;
- електроспоживачі, розраховані на напругу живлення більше 42В повинні бути надійно заземлені;
- при монтажі, налагодженні та ремонті вузлів радіоелектронної апаратури необхідно використовувати інструмент з ізольованими ручками;
- монтаж і заміну елементів в схемах слід проводити лише при відключеному живленні;
- подавати напругу на схему слід лише після ретельної перевірки відповідності електричних з'еднань принциповій схемі;
- заборонено залишати без нагляду апаратуру, яка знаходиться під напругою;
- заборонено використовувати саморобні запобіжники, а також блокувати кола аварійного відключення електроспоживачів;
- заборонено торкатись струмопровідних частин електрообладнання, а також визначати наявність напруги на дотик.
Робота з горючими та легкозаймистими рідинами вимагає ретельного дотримання правил пожежноі безпеки. Слід пам'ятати, що такі речовини, як ефіри, спирти, бензин, ацетон, дихлоретан є надзвичайно леткими і їх пари, при великій концентрації становлять більшу пожежно-вибухову небезпеку аніж самі рідини. Не слід тримати на робочому місці легкозаймисті рідини у великих кількостях.
Не можна працювати з ними поблизу відкритого вогню.
Підігрівати такі рідини, у випадку крайньої необхідності, можна лише на "водяній ванні"; категорично заборонено користуватись при цьому відкритим вогнем.
Робота з кислотами та лугами також погребує підвищеної уваги та дотримання особливих заходів безпечної праці. Кислоти та луги, при попаданні на шкіру людини, викликають опіки. Особливо небезпечним є їх попадання в очі. Вдихання випарів кислот і лугів також шкодить здоров’ю.
При роботі з кислотами та лугами необхідно:
- користуватись захисними окулярами;
- пам'ятати, що кислоту завжди вливають до води, а не навпаки; інакше, в результаті бурхливої реакції, пройде інтенсивне розбризгування кислоти;
- при приготуванні лужних розчинів, воду слід доливати до лугу;
- при хімічній обробці металів (травлення, оксидування, анодування тощо) занурювати і виймати з розчину вироби необхідно при допомозі спеціальних приспосіблень;
- приміщення, де проводяться роботи, повинно мати добру вентиляцію.
Памятайте: при хімічних опіках шкіри уражене місце слід добре промити проточною водою і остаточно нейтралізувати: кислоту – 3% розчином питтєвої соди; луг – 1% розчином оцтової кислоти.
Висновки
-
Розвиток творчих здібностей особистості неможливий без засвоєння творчого досвіду попередників. Оволодіння цим досвідом, на відміну від засвоєння інших елементів культури, передбачає обов’язкове залучення учнів до практичної діяльності; ця діяльність, особливо в початках, повинна носити, здебільшого, відтворювальний, репродуктивний характер.
-
Навчальний характер творчої технічної діяльності дітей висуває на перший план не результати , а лише підготовку школярів до цієї діяльності в майбутньому. Виходячи з цього, основною метою творчої діяльності учнів слід вважати набуття досвіду практичної роботи з конструювання технічних об’єктів.
3. Головною метою позакласної та позашкільної роботи в усіх її формах є залучення учнів до активної участі у суспільно-корисній діяльності, стимулювання їх самостійності, ініціативи, розвиток індивідуальних інтересів, нахилів, здібностей.
4. Ознайомлення з основами роботи цифрових електронних пристроїв, з фізичною суттю процесів, що проходять при цьому, слід проводити в школі на уроках математики, фізики, інформатики, трудового навчання. Особливої уваги, в реалізації цього завдання, заслуговують шкільні технічні гуртки і, насамперед, гуртки радіоелектронного напрямку.
5. Підвищити ефективність навчального процесу, надати йому більшої динамічності та колоритності можна за умови добре продуманої та організованої дослідно-експериментальної роботи гуртківців.
6. Залучення учнів до виконання лабораторних робіт на заняттях шкільного радіотехнічного гуртка в ході вивчення розділу “Елементи цифрової техніки”, переслідує такі основні цілі:
-
закріплення теоретичних знань з основ математичної логіки;
-
вироблення вміння застосовувати їх у практичній діяльності (синтез електронних схем на логічних елементах);
-
закріплення практичних умінь з радіотехнічного експерименту;
-
розвиток творчих конструкторських здібностей;
-
виховання культури праці.
-
При відборі об’єктів конструювання слід враховувати наступне:
-
можливість їх практичного застосування;
-
відповідність завданням реалізації програми гуртка;
-
доступність та посильність у виготовленні;
8. Практичні заняття, в ході яких гуртківці працюють над виготовленням об’єктів конструювання, створюють добру основу для системного формування політехнічних знань, розвитку трудових умінь учнів, сприяють формуванню відповідальності за доручену справу, виробляють акуратність в роботі та наполегливість в досягненні мети.














