115417 (591914), страница 7
Текст из файла (страница 7)
Робота по виготовленню об’єктів конструювання створює добру основу для системного формування політехнічних знань, розвитку трудових навичок учнів, сприяє формуванню відповідальності за доручену справу, виробляє акуратність в роботі та наполегливість в досягненні мети.
Фотореле. Для дистанційного керування радіоелектронними пристроями при допомозі світлового променя використовують фотореле.
Найпростіше фотореле можна виготовити на базі мікросхеми К155ЛА3 (рис.18). Датчиком освітленості є фотодіод VI типу ФД-3, який ввімкнено до входу мікросхеми DD1. Для підвищення чутливості й надійності роботи мікросхеми, її входи 1 та 2 об'єднано. Вихід мікросхеми під’єднано до транзисторного ключа V2.
Якщо, при ввімкненому живленні, фотодіод затемнений, то на ньому винекне деякий спад потенціалу, зменшиться потенціал і на виході елемента DD1.1, транзистор V2 відкриється, реле K1 спрацює.
Рис. 18.
Якщо фотодіод освітити, то його опір зменшиться і спад напруги на вході МС DD1 зменшиться практично до нуля. Тоді потенціал на виході інвертора значно зросте, транзистор V2 закриється реле К1 буде знеструмлене.
Резистори R1 та R2 обмежують струм бази транзистора V2. Діод V3 запобігає пробою транзистора V2 (він шунтує ЕРС самоіндукції, яка виникає в обмотці реле при його знеструмленні). Резистори типу МЛТ-0,25; транзистор V2 - МП13—МП16, МП39—МП41; реле РЭС15 або будь-яке інше із струмом опрацювання до 20 мА та опором обмотки 300— 400 Ом.
Рис. 19
Пристрої охоронної сигналізації. На рис. 19 зображено схему сигналізатора типу «сирена». В ньому передбачено затримку спрацювання сигналізації на 10 секунд. В момент розмикання контактів геркона SF1 конденсатор C5 починає заряджатися через резистор R1. Приблизно через 10 секунд на входах 2, 13 мікросхеми DD1 з'явиться логічна "1" і спрацьовує сигналізація. Резистор R8 зменшує струм розряду конденсатора C5.
На логічних елементах DD1.2, DD1,2 зібрано модульований мультивібратор. З конденсатора C2 знімають пилкоподібні імпульси, які забезпечують модулювання частоти мультивібратора з перехресними резистивно-ємнісними зворотніми зв'язками на логічних елементах DD1.3, DD1.4. Тобто відбувається перетворення напруги на конденсаторі С2 в частоту. Девіація частоти змінює тембр звучання гучномовця BA1. Підсилювач потужності виконано на транзисторах VT2, VT3.
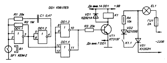
Пристрої світлової сигналізації. Світлова сигналізація в охоронних електронних пристроях є ефективним попереджувальним засобом. На рис. 20 зображено схему такого сигналізатора.
Рис. 20
Коли віддалити магніт B1 від геркона, то мультивібратор на логічних елементах DD1.1, DD1.2 починає генерувати імпульси з частотою 1 Гц. Вільний елемент DD1.4 ввімкнуто паралельно до DD1.4 для поліпшення навантажувальних характеристик. Транзистор VT1, що працює в ключовому режимі, керує реле K1, яке своїми контактами K1.1 з частотою 1 Гц то відкриває, то закриває тринiстор VS1, який комутує живлення лампи (її потужність може сягати 200 Вт).
Детектори наближення. Принцип побудови ємнісних "детекторів наближення" ґрунтується на використанні грані зриву та виникненні генерації.
На рис.21 зображено схему "детектора наближення" на основі ємнісного реле. На елементах DD1.1, DD1.2 виконано мультивібратор. При налагодженні, значення резистора R1 та конденсатора C1 зменшують доти, доки генерація (при приєднаній антені) не зірветься. Коли наблизити руку до антени WA1 (нею може бути металевий предмет), - генерація повинна відновитись. Елементи DD1.3, DD1.4 підсилюють та формують частотний сигнал. Конденсатор C4 унеможливлює короткочасні хибні спрацювання. Провідники, що з'єднують антену з пристроєм сигналізації, потрібно робити якомога короткими.
Рис. 21
Рис. 22.
Пристрої на інфрачервоних променях. Інфрачервоне випромінювання займає невидиму для ока частину електромагнітного спектра. ІЧ промені мають такі ж властивості, як і видимі. Тобто, розміщуючи пристрої, треба враховувати, що на проходження променів будуть впливати туман, дощ, сніг та інші перешкоди, які траплятимуться на їхньому шляху.
На рис. 22 показано схему випромінювача ІЧ променів, модульованих частотою мультивібратора, виконаного на елементах DD1.1, DD1.2 мікросхеми DD1 типу К561ЛЕ5.
Резистори R1, R2 приєднані між входами та виходами елементів мікросхеми, забезпечують м'який режим збудження. Паралельно приєднані елементи DD1.3, DD1.4 зменшують вплив навантаження на режим робити мультивібратора. Транзистори VT1, VT2 утворюють підсилювач потужності. Це два емітерні повторювачі, з'єднані послідовно. Для досягнення максимального підсилення струму треба, щоб наступний транзистор був потужнішим від попереднього. Резистор R4 обмежує струм через світлодіоди HL1 – HL3.
Частота генерації визначається залежністю
ƒ = 0,4 √Uж / RC
де Uж - напруга живлення, В; R=R1=R2, МОм; C=C1=C2, мкФ.
Для Uж = 9 В частота генерації ƒ = 5 кГц.
Рис. 23
На рис. 23 показано схему приймача ІЧ променів. Фотодіод працює у фотодіодному режимі (є ще фотогенераторний режим). При освітленні опір фотодіода зменшується і на його виводах з'являється електрорушійна сила, пропорційна до освітлення. Конденсатор С1 усуває вплив ймовірних повільно змінних джерел на режим роботи. На збірці з двох польових транзисторів типу КПС104Г створено послідовно балансний каскад, коефіцієнт підсилення якого становить 300-400. Така схема потребує великого вхідного опору в наступному каскаді, має малу верхню частоту пропускання. На транзисторі VT3 реалізовано емітерний повторювач з великим вхідним та малим вихідним опорами. На діодах VD2, VD3 виконано амплітудний випрямляч з подвоєнням напруги. Транзистор VT4 підсилює та інвертує випрямлений сигнал. До емітера транзистора VT5 (вихід A) можна приєднати виконавчі пристрої звукової та світлової сигналізації.
Рис. 24
Така схема може працювати на відстані, яка не перевищує 4 метри від випромінювача.
Перемикач гирлянд. На мікросхемі DD1 (рис.24) зібрано симетричний мультивібратор частоту коливань якого можна змінювати в межах 195-205 Гц змінним резистором R2. Через інвертори DD1.3 і DD1.4 прямокутні імпульси мультивібратора надходять на тригери DD2.1 та DD2.2 (вони виконують роль подільника частоти). Вихідні сигнали тригерів надходять на підсилювачі струму VT1-VT4, а дальше, через конденсатори С3-С6 на управляючі електроди тиристорів VS1-VS4, в анодні кола яких включені гирлянди ламп EL1-EL4.
В залежності від співвідношення частот мультивібратора і освітлювальної мережі вони або плавно засвічуютьчся і різко гаснуть, або навпаки, різко засвічуються і плавно гаснуть. Швидкість цього процесу можна регулювати змінним резистором R2.
КОМПЛЕКСНА ПРАКТИЧНА РОБОТА
ФОТОТИР. На відміну від описаних в науково-популярній літературі пропонований фототир, на нашу думку, найбільш повно уособлює в собі якості пневматичного тиру: в момент вистрілу чути характерний звук пневматичної гвинтівки, а при попаданні в мішень - вона опрокидується. В даному фототирі, окрім цього передбачено цифровий індикатор кількості вистрілів.
Рис. 25
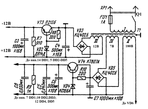
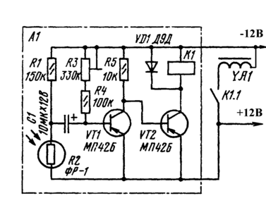
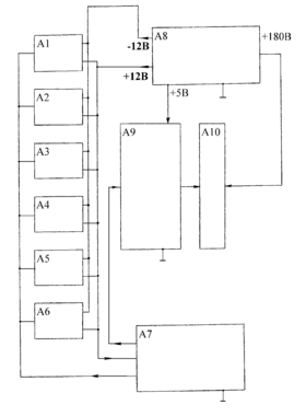
Будову фототиру розглянемо за його структурною схемою (рис.25). Він складається з десяти вузлів: шести однотипних фотореле (вузли А1-А6), світлового пістолету (вузол А7), блоку живлення (вузол А8), лічильника кількості вистрілів (вузол А9) та газорозрядних цифрових індикагорів (вузол А10).
Рис. 26
Чутливим елементом фотореле (рис.26) є фоторезистор R2, величина опору якого безпосередньо залежить від інтенсивності його освітлення. До моменту, коли на фоторезистор не попадає світлова "куля" опір його досить великий і струм в колі подільника, утвореного цим же резистором, є досить малий. При цьому транзистор VT1 є відкритим (цього досягають, при налагодженні, підбором величини резистора RЗ), а VT2 – закритий; реле К1 - знеструмлене.
В момент попадання променя світла на фоторезистор, його опір різко зменшується, при цьому зменшується і напруга на ньому. Іншими словами, на фоторезисторі формується імпульс, який поступає через конденсатор С1 на базу транзистора VT1. На деякий час цей транзистор закривається, натомість VT2 - відкривається: спрацьовує реле К1, яке своїми контактами подає напругу на обмотку електромагніта. Магнітне поле, утворене цим електромагнітом, "опрокидуе" фігурку мішені. Аналогічно працюють й інші фотореле (вузли А2-А6).
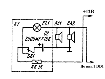
Світлову "кулю" формує пістолет, в корпусі якого розміщена лампа EL1, конденсатор С2, резистор R6 та перемикач B1 (рис. 27). В початковому положенні, коли контакти перемикача знаходяться у вказаному на схемі положенні, конденсатор С2 заряджається через резистор R6 до напруги яка дещо перевищує напругу блоку живлення. В момент замикання контактів кнопки В1 конденсатор швидко розряджається через лампу EL1 і паралельно підключені динамічні головки BАІ i ВА2. Лампа при цьому спалахуэ, а динамычних головок чути звук, який імітує звук пострілу.
Рис. 27
Рис. 28.
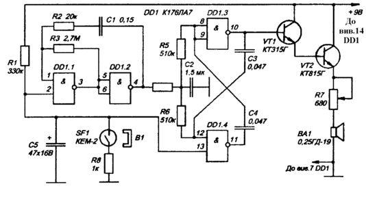
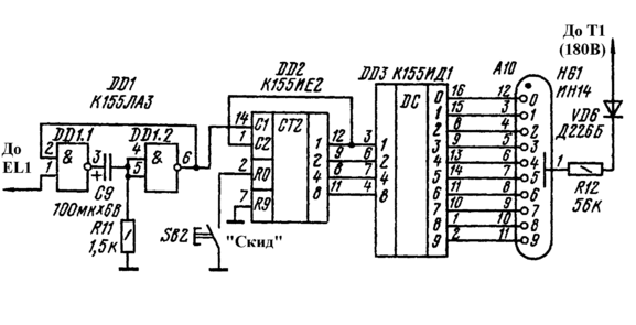
Одночасно з пострілом включається в роботу вузол А9 (рис. 29). На його вході стоїть мультивібратор, виконаний на елементах DD1.1 i DD1.2. Запускається він імпульсом, який формують динамічні головки.
Вихідний імпульс мультивібратора подається на лічильники DD2, DD4, стан яких дешифрується мікросхемами DD3 та DD5. Стан лічильників відображають цифрові індикатори HG1 та HG2 (вузол А1О). Перед початком роботи фототиру лічильники необхідно обнулити (натиснути кнопку В2).
Рис. 29















