115417 (591914), страница 6
Текст из файла (страница 6)
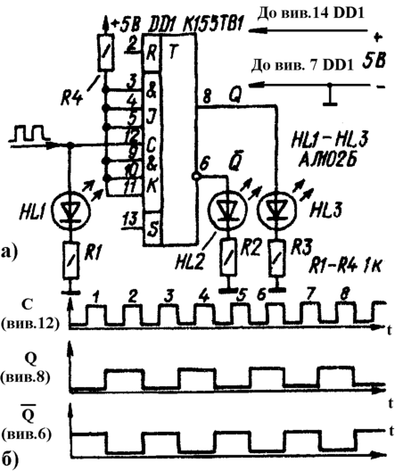
Серед мікросхем серії К155 JK-тригером є мікросхема К155ТВ1 (рис. 14). У цієї мікросхеми дев'ять входів, та два виходи - прямий й інверсний. По входах R і S цей тригер працює як RS-тригер. Входи J і K - управляючі, причому кожен з них має по три входи (виводи 3-5 та 9-11), об'єднані за схемою логічного елемента 3І ( про це свідчать знаки «&» проставлені біля цих виводів). Вхід С за своїм функціональним призначенням тотожний аналогічному входу D-тригера. У режимі прийому та зберігання інформації він служить входом тактових імпульсів; у режимі обліку - інформаційним входом.
Рис. 15
Дослідну перевірку роботи JK-тригера також доцільно проводити на макетній платі.
Послідовність виконання дій наступна:
- мікросхему підключіть до відповідних шин джерела живлення, а до входу С (вив.12) та прямого й інверсного виходу (вив.8 та 6) підключіть світлодіодні індикатори (рис.15а);
-
подайте живлення; зразу ж повинен спалахнути один з вихідних індикаторів (HL2 або HL3);
-
замкніть короткочасно, на загальну шину вивід 2, потім вивід 3, дальше знову вивід 2 і т.д.; при цьому вихідні індикатори повинні почергово засвічуватись та гаснути (таким чином можна перевірите працездатність мікросхеми взагалі і JK-тригера зокрема);
Дослідіть тригер у режимі обліку вхідних імпульсів. Для цього об'єднайте виводи усіх входів J і К і через резистор R4 з'єднайте їх із плюсовою шиною джерела живлення, щоби подати на них напругу, яка відповідає рівню логічної 1. На вхід С подайте від генератора серію імпульсів і за часом засвічування та тривалістю горіння індикаторів побудуйте графіки роботи тригера в такому режимі. Вони повинні вийти такими ж, як і на рис.15б. Неважко завважити, що ці графіки дуже нагадують графіки роботи D-тригера включеного в режимі обліку (див. попередні дослідж.), тільки зміщені вправо на тривалість одного імпульсу. Це зміщення пояснюється тим, що D-тригер змінює свій стан на протилежний по фронту, а JK-тригер по спаду вхідного імпульсу. Кінцевий же результат однаковий - тригер ділить частоту вхідних імпульсів на 2.
Завдання
-
Ознайомтесь з теоретичними відомостями.
-
Використовуючи макетну плату, складіть схему D-тригера зображену на рис.13.
-
Пересвідчившись в правильності монтажу та надійності з’єднань, подайте на схему живлення.
-
Дотримуючись послідовності (описаної в теоретичних відомостях) дослідіть роботу тригера. Запишіть результати дослідження.
-
Для дослідження JK-тригера (дослідна схема подана на рис.15), виконайте пункти 1 - 4. Запишіть результати дослідження.
-
Співставте результати. Зробіть висновки.
Контрольні запитання
-
В чому полягає суть процесу поділу частоти тригером?
-
В чому полягає відмінність тригерів RS-, D- та JK-типів?
-
Яке призначення інформаційного входу D-тригера? Як він позначається на схемі?
-
Чому тривалість імпульсів на інформаційному вході D-тригера повинна бути більшою за тривалість імпульсів на вході С?
Література
1. Гончаренко С.У., Хаїмзон І.І. Учням про цифрову електроніку. – К.Радянська школа, 1991.
2. Паскалев Ж. Первые шаги в вычислительной технике. – М.: Радио и связь, 1987.
3. Партин А.С., Борисов В.Г. Введение в цифровую технику. – М.: Радио и связь, 1987.
4. Гайдучок Г.М., Ткачук Р.З. Юному радіоаматору. – К.: Радянська школа, 1980.
ЛАБОРАТОРНА РОБОТА №4
Тема. Дослідження роботи лічильників імпульсів
Мета роботи: ознайомитись з принципом роботи та схемотехнікою цифрових лічильників імпульсів, їх основними характеристиками та сферою використання; набути практичних умінь роботи з цифровими інтегральними схемами.
Обладнання: монтажна плата, радіодеталі (згідно поданої схеми), паяльник, монтажні проводи, генератор прямокутних імпульсів, осцилограф.
Теоретичні відомості
Лічильники імпульсів - невід'ємні вузли мікрокалькуляторів, електронних годинників, таймерів, частотомірів та інших пристроїв цифрової техніки. Вони призначені для підрахунку кількості імпульсів; перетворення послідовності імпульсів в паралельний двійковий код; ділення частоти вхідного імпульсного сигналу. Основу їх складають тригери з лічильним входом. За функціональним призначенням та логікою дії лічильники імпульсів поділяють на чотири основні групи: прямої лічби (підсумовуючі), зворотної лічби (віднімаючі), реверсивні (підсумовуючі та віднімаючі), подільники частоти.
Найпростішими однорозрядними лічильниками імпульсів є JK- та D-тригери, які працюють в режимі обліку. Вони рахують вхідні імпульси по модулю 2 (кожен імпульс переключає тригер у протилежний стан). Один такий тригер рахує до одного, два послідовно з’єднаних – до трьох, n тригерів – до 2n – 1 імпульсів. Результат обліку формується в заданому коді, який може зберігатися в пам’яті лічильника або ж бути переданий іншим пристроям цифрової техніки.
На рис.16 зображено схему трирозрядного двійкового лічильника імпульсів. Для кращого засвоєння принципу роботи такого лічильника змоделюйте його на макетній панелі; підключіть до прямих виходів тригерів світлодіодні індикатори (як це робили на попередніх практикумах). Від генератора, подайте на вхід лічильника серію імпульсів частотою 1...2 Гц і, за світловими сигналами індикаторів, побудуйте графіки роботи лічильника.
Рис. 16
Якщо в початковий момент усі тригери лічильника знаходилися в нульовому стані (його встановлюють вимикачем SВ1, подаючи на R-входи тригерів рівень логічного 0), то по спаду першого імпульсу (графік б на рис.16) тригер DD1 переключиться в одиничний стан — на його прямому виході з'явиться рівень логічної 1 (графік в, рис.16). Наступний імпульс переключить тригер DD1 у нульовий стан, а тригер DD2 — в одиничний (графік г, рис.16). По спаду третього імпульсу тригери DD1 та DD2 будуть перебувати в одиничному стані, а DD3 - ще буде знаходитись у нульовому. Четвертий імпульс переключить перші два тригери в нульовий стан, а третій в одиничний. Восьмий імпульс переключить усі тригери в нульовий стан; почнеться наступний цикл роботи лічильника імпульсів.
Вивчаючи графіки, неважко завважити, що кожен старший розряд лічильника відрізняється від молодшого подвоєним числом обліку. Так, період імпульсів на виході першого тригера у 2 рази більший періоду вхідних імпульсів, на виході другого тригера - у 4 рази, на виході третього тригера — у 8 раз. Іншими словами, такий лічильник працює у цифровому коді 1-2-4.
У пристроях цифрової техніки найбільш поширинеми є чотирирозрядні лічильники імпульсів, що працюють у цифровому коді 1-2-4-8.
Рис. 17
Лічильники-подільники рахують вхідні імпульси до певного моменту (він заданий коефіцієнтом числення), після чого формують сигнал, який опрокидує тригери в нульовий стан - починається новий цикл лічби.
На рис. 17 зображено схему та графіки роботи дільника з коефіцієнтом числення 5. Тут, уже відомий, трирозрядний лічильник доповнено логічним елементом 2І-НЕ (DD4.1), який і визначає зазначений коефіцієнт обліку.
Суть роботи лічильника полягає в наступному. При перших чотирьох вхідних імпульсах (після установки тригерів у нульовий стан) пристрій працює як звичайний двійковий лічильник імпульсів. При цьому на одному або обидвох входах елемента DD4.1 діє рівень логічного 0, тому цей елемент перебуває в одиничному стані. По спаду п'ятого імпульсу на виходах першого і третього тригерів появляться рівні логічної одиниці (вони одночасно появляться і на входах елемента DD4.1), які спричинять появу логічного нуля на виході DD4.1. При цьому, формується короткий імпульс негативної полярності, що переключає тригери у вихідний нульовий стан. З цього моменту починається наступний цикл роботи лічильника.
Перевірте роботу такого лічильника-подільника, змоделювавши його на макетній платі.
На практиці, функції лічильників та подільників виконують спеціально розроблені мікросхеми підвищеного ступеня інтеграції. У серії К155, наприклад, це лічильники типу К155ИЕ1, К155ИЕ2, К155ИЕ4 та інші.
Завдання
-
Ознайомтесь з теоретичними відомостями.
-
Використовуючи макетну плату, зберіть схему трирозрядного лічильника імпульсів подану на рис. 16.
-
Пересвідчившись в правильності монтажу та надійності з’єднань, подайте на схему живлення.
-
Дотримуючись послідовності (описаної в теоретичних відомостях) дослідіть його роботу. Накресліть часові діаграми роботи лічильника.
-
Для дослідження лічильника-подільника (дослідну схему зображено на рис. 17), виконайте пункти 1 - 4. Запишіть результати дослідження.
-
Співставте результати. Зробіть висновки.
Контрольні запитання
-
В чому полягає суть процесу поділу частоти?
-
Охарактеризуйте принцип роботи лічильника-подільника.
-
Яке призначення виконує логічний елемент 2І-НЕ в лічильниках-подільниках?
Література
1. Гончаренко С.У., Хаїмзон І.І. Учням про цифрову електроніку. – К.Радянська школа, 1991.
2. Паскалев Ж. Первые шаги в вычислительной технике. – М.: Радио и связь, 1987.
3. Партин А.С., Борисов В.Г. Введение в цифровую технику. – М.: Радио и связь, 1987.
-
Гайдучок Г.М., Ткачук Р.З. Юному радіоаматору. – К.: Радянська школа, 1980.
-
Відбір об’єктів конструювання
Творча технічна діяльність являє собою комплексну пізнавально-перетворюючу діяльність, яка складається із множини взаємозв’язаних компонентів, таких, як теоретичні дослідження, експерименти, вирішення технічних завдань, побудова технічних об’єктів, їх випробування. Завдяки цій діяльності учні набувають поглиблених знань про навколишній світ, переконуються в правильності власних міркувань, які в процесі технічної діяльності підтверджуються або ж спростовуються, набувають важливих практичних умінь та навичок.
Одним з головних чинників підвищення ефективності занять радіотехнічних гуртків є практична робота з конструювання технічних об’єктів. Тому, при їх відборі, потрібно ретельно враховувати інтереси, здібності та можливості школярів. Робота над об’єктами конструювання пов’язана з застосуванням ряду трудових операцій. Всі вони повинні бути передбачені тематикою гуртка. Окрім того, слід дотримуватись оптимального співвідношення часу, який затрачається на виконання кожної з цих операцій.
Таким чином, при відборі об’єктів конструювання, керівник гуртка опиняється перед необхідністю враховувати цілий ряд вимог.
Спробу сформувати узагальнені критерії відбору об’єктів праці зробило багато авторів методичних посібників та дослідників проблеми трудового навчання та виховання. Так Д. О. Тхоржевський виділяє наступні критерії:
-
вироби повинні бути суспільно корисними:
-
технологія виготовлення виробів повинна складатись із операцій, передбачених навчальною програмою;
-
робота повинна бути посильною для учнів (з огляду точності виготовлення) і вкладатись, в заплановані на виготовлення норми часу;
-
за признеченням та особливостями конструкції вироби повинні бути доступні розумінню учнів.
В. М. Аридін 3 вважає, що при відборі об’єктів конструювання, керівник гуртка повинен виходити з таких міркувань:
-
доступність розуміння учнями принципу роботи технічного пристрою;
-
розуміння суті фізичних процесів при виготовленні та налагодженні виробу;
-
можливість виготовлення за відведений час;
-
освітня та виховна цінність виробу;
-
наявність необхідних матеріалів та обладнання.
Г. Є. Левченко акцентує увагу на такі функції об’єктів праці як комплексність, технологічність, типовість трудових операцій, естетичність, трудоємкість, безпечність 14. «При відборі об’єктів конструювання важливо правильно розрахувати відносну питому вагу самостійності школяра, які творчі елементи проявляє він, які емоції і почуття збуджує у нього виготовлення даного виробу...».
На основі вказаних критеріїв нами відібрано та рекомендовано для повторення ряд електронних схем, які можуть бути предметом практичної діяльності учнів на заняттях радіотехнічного гуртка, зокрема під час вивчення розділу “Елементи цифрової техніки”.














