115417 (591914), страница 5
Текст из файла (страница 5)
Мета роботи: вивчити принцип дії та дослідити характеристику RS-тригера; ознайомитись з сферою його використання; набути практичних умінь роботи з цифровими інтегральними схемами.
Обладнання: монтажна плата, радіодеталі (згідно поданої схеми), електронний вольтметр типу ВК7-9Б, паяльник, монтажні проводи.
Теоретичні відомості
Тригер - це логічний електронний пристрій, який може перебувати в одному з двох стійких станів – одиничному або нульовому. Перехід від одного стану до іншого здійснюється внаслідок подачі електричних сигналів на строго визначені входи. При відсутності цих сигналів тригер зберігає свій вихідний (початковий) стан.
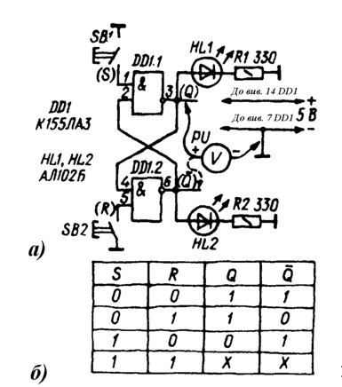
У загальному вигляді, тригер можна розглядати як пристрій, що має декілька керуючих входів та два виходи. В серії тригерів RS-тригери - найпростіші. Щоправда промисловість не випускає їх в окремому інтегральному виконанні, тому, зазвичай, їх складають з логічних елементів, наприклад, 2І-НЕ. Схему такого тригера подано на рис.10а.
Він утворений двома елементами 2І-НЕ з перехресними зворотніми зв’язками між входами та виходами. У RS-тригера є два незалежних входи та стільки ж виходів. Перший вхід - вивід 1 елемента DD1.1, другий - вивід 5 елемента DD1.2; виходи - відповідно виводи 3 та 6.Щоб краще зрозуміти та засвоєти принцип роботи RS-тригера, доцільно змоделювати подану схему тригера на монтажній платі. Звіривши монтаж дослідного тригера із його схемою і переконавшись у відсутності помилок та надійності паяних з’єднань, подайте живлення. Відразу ж повинен спалахнути один з світлодіодів. Припустимо, що це буде НL1. Значить, першим одиничний стан прийняв елемент DD1.1. Про це засвідчать і покази вольтметра, підключеного до його виходу (вив.3) — тут повинен бути рівень логічної 1; принагідно виміряйте напругу на виході другого елемента (вив.6) — тут буде рівень логічного О.
Рис. 10
Записавши результати вимірiв, короткочасно замкніть контакти кнопки SВ1. Що змінилося? Нічого. Як і раніше горить тільки світлодіод НL1. А тепер замкніть контакти кнопки SВ2. Відразу ж світлодіод НL1 згасне, натомість спалахне світлодіод НL2. Елемент DD1.1 перейде в нульовий стан, а DD1.2 — в одиничний. У такому стані елементи можуть знаходитися досить тривалий час (доки не вимкнуть живлення). Але варто натиснути кнопку SВ1, як елементи одразу ж переключаться в протилежний стан.
Проаналізуємо роботу досліджуваного тригера. Відомо, що непідключення вхідного виводу елемента 2І-НЕ рівнозначне подачі на нього рівня логічної 1. Цей рівень на виводі 5 був, очевидно, дещо вищим аніж на виводі 1. Тому при включенні живлення на виході елемента DD1.2 відразу ж з'явився рівень логічного О. Це спричинило встановлення елемента DD1.1 в одиничний стан. При цьому рівень, що з'явився на виході цього елемента (логічна 1), одразу ж подано на другий вхід елемента DD1.2 (вив. 4). Це утримує його в одиничному стані. Імітація подачі імпульсу негативної полярності на вхідний вивід 1 елемента DD1.1 (кнопкою SВ1) не зможе змінити його стану, оскільки в цей час на другому його вхідному виводі 2 присутній рівень логічного 0.
Коли ж натиснути кнопку SВ2, то на вхід елемента DD1.2 (вив. 5) буде подано імпульс негативної полярності. Переключаючись в одиничний стан, цей елемент рівнем логічної 1, що присутня на його виході (вив. 6), переключить елемент DD1.1 у нульовий стан. При цьому на другому вході елемента DD1.2 (вив.4) появиться рівень логічного 0, який підтримує елемент в одиничному стані.
Так, по черзі натискуючи кнопки вхідних кіл, можна переключати тригер з одного стійкого стану в інший і тим самим керувати пристроями цифрової техніки, підключеними до його виходів.
Стан RS-тригера характеризують рівні сигналу на його так званому прямому виході. Цей вихід позначають буквою Q (вив.3). Якщо на даному виході присутній рівень логічної 1, то вважають, що тригер знаходиться в одиничному стані, а якщо присутній рівень логічного 0 — у нульовому.
При одиничному стані тригера на його другому виході (вив.6) буде рівень логічного 0 і, навпаки. Тому цей вихід позначають такою ж буквою Ō (риска поверх букви вказує на те що сигнал інвертований).
Вхід, через який тригер встановлюють в одиничний стан (вив.1), позначають буквою S (початкова буква англійського слова Sеt - встановлення). Вхід, через який тригер переключають у нульовий стан (вив.5), позначають буквою R (початкова буква англійського слова Reset - повернення).
Стан тригера, залежно від рівня сигналів на його входах, ілюструє таблиця, подана на рис.10б. Якщо на обидва входи тригера подати рівні логічного 0 (натиснувши одночасно обидві кнопки), на обох його виходах буде рівень логічної 1. Такий стан тригера суперечить логіці його дії, тому подібне поєднання сигналів слід вважати недопустимим.
Присутність на обидвох входах одночасно рівня логічної одиниці не змінює стану трігера (на це вказують хрестики в таблиці). Щоб перевірити на практиці останнє твердження, під’єднайте виводи 1 і 5 мікросхеми (через резистор опором 1 кОм) до плюсової шини джерела живлення; при цьому контакти кнопок SB1 та SB2 повинні бути розімкнутими.
RS-тригери найбільш широко використовують як комірки зберігання цифрової інформації, тобто як елемент памяті електронного приладу.
Завдання
-
Ознайомтесь з теоретичними відомостями.
-
Використовуючи макетну плату, складіть схему RS-тригера подану на рис. 10а.
-
Пересвідчившись в правильності монтажу та надійності з’єднань, подайте на схему живлення.
-
Дотримуючись послідовності (описаної в теоретичних відомостях) дослідіть роботу тригера. Запишіть результати дослідження.
-
Співставте результати. Зробіть висновки.
Контрольні запитання
-
Що означають літери R,S,Q на схематичному позначенні тригера?
-
Які керуючі сигнали слід подавати на входи логічних схем?
-
Що таке тригер? Яке його функціональне призначення?
-
Охарактеризуйте принцип роботи RS-тригера.
Література
1. Гончаренко С.У., Хаїмзон І.І. Учням про цифрову електроніку. – К.Радянська школа, 1991.
2. Паскалев Ж. Первые шаги в вычислительной технике. – М.: Радио и связь, 1987.
3. Партин А.С., Борисов В.Г. Введение в цифровую технику. – М.: Радио и связь, 1987.
-
Гайдучок Г.М., Ткачук Р.З. Юному радіоаматору. – К.: Радянська школа, 1980.
ЛАБОРАТОРНА РОБОТА №3
Тема. Дослідження роботи тригерів з розширеною логікою
Мета роботи: ознайомитись з основними характеристиками D- та JK-тригерів, сферою їх використання, принципом дії; набути практичних умінь роботи з цифровими інтегральними схемами.
Обладнання: монтажна плата, радіодеталі (згідно поданої схеми), електронний вольтметр типу ВК7-9Б, паяльник, монтажні проводи, генератор прямокутних імпульсів, осцилограф.
Теоретичні відомості
Відомо, що RS-тригер переключається в протилежний стан відразу ж після зміни рівнів сигналу на його вході. Такі тригери називають асинхронними з установлювальними входами або звичайними тригерами. Однак у пристроях цифрової техніки частіше використовують синхронні тригери керовані тактовими імпульсами. Найбільш поширеними серед них є D-тригери та JK-тригери.
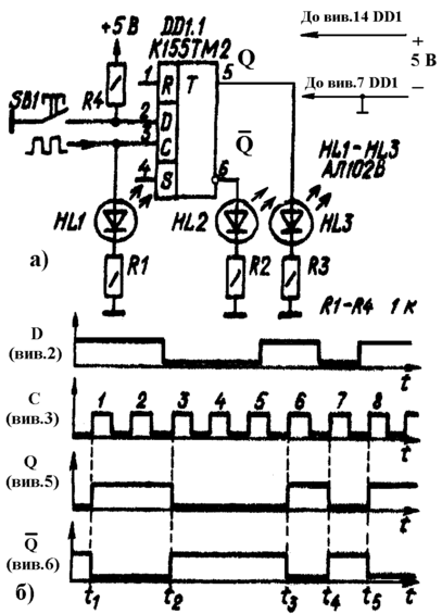
Рис. 11
D-тригер (в серії К155 найбільшою популярністю користуються D-тригери мікросхеми К155ТМ2) має чотири логічних входи та два виходи – прямий і інверсний (рис. 11).
Вхід D – вхід прийому цифрової інформації, С – вхід тактових імпульсів синхронізації, джерелом яких, здебільшого, є генератор прямокутних імпульсів. Входи R і S D-тригера виконують аналогічну функцію, що і відповідні входи RS-тригера: при подачі рівня логічного 0 на вхід R тригер приймає нульовий стан, на вхід S – одиничний.
По входах D і С він може функціонувати як комірка пам'яті прийнятої інформації або ж як лічильний, тобто тригер з лічильним входом.
Рис. 12
Для кращого засвоєння та осмислення логіки дії D-тригера пропонуємо провести декілька дослідів.
Виконайте монтаж мікросхеми К155ТМ2 на макетній платі, з'єднайте вивід 14 із плюсовою, а вивід 7 - з мінусовою шиною джерела живлення (рис.12а). До виводів прямого й інверсного виходів тригера (вив.5 та 6) під’єднайте світлодіодні індикатори (вони допоможуть визначити стан тригера). Аналогічний індикатор під’єднайте і до вив.3 (він буде індикувати наявність та тривалість тактових імпульсів синхронізації). На платі змонтуйте також кнопковий вимикач SВ1 та резистор R4, але до входу D цей ланцюжок поки що не під’єднуйте.
Подайте на схему живлення. Відразу ж повинен спалахнути один з вихідних індикаторів. Якщо це буде світлодіод НLЗ, то це означає, що тригер прийняв одиничний стан, а якщо НL2 - нульовий. Тепер почергово декілька разів замкніть виводи 1 і 4 (R i S) на мінусову шину джерела живлення. Ви будете мати змогу пересвідчитись, що по цих входах D-тригер працює так як і RS- тригер.
Під’єднайте до вив.2 (інформаційний вхід мікросхеми) резистор R4 та вимикач SВ1. Занотуйте початковий стан тригера, а потім декілька разів підряд натисніть кнопку. Як реагує тригер? Ніяк - продовжує горіти той же індикатор.
Короткочасним з'єднанням входу R або S з мінусовою шиною джерела живлення переключіть тригер в інший стійкий стан і знову декілька разів натисніть кнопку SВ1. І тепер, як бачите, тригер не реагує на вхідні сигнали. Чому? Тому що на вхід С не надходять синхронізуючі імпульси (вони повинні бути позитивної полярності).
Для дослідної перевірки D-тригера джерелом синхронізуючих імпульсів може бути генератор прямокутних імпульсів. Підє’днайте його вихід з виводом 3 (вхід С) тригера, та встановіть найбільшу тривалість (тобто найменшу, близько 1Гц, частоту) генерованих імпульсів і, ввімкнувши живлення, стежте за станом індикаторів. Якщо тригер знаходився в нульовому стані, а контакти кнопки SВ1 були розімкнуті, то по фронту першого ж імпульсу на вході С (вив.3) тригер повинен переключитися в одиничний стан і не реагувати на наступні тактові імпульси. Але варто замкнути контакти кнопки SB1, щоб подати на інформаційний вхід рівень логічного 0, і тригер по фронту чергового тактового імпульсу відразу переключиться в протилежний стан. Тривалість рівнів сигналів на інформаційному вході D повинна бути значно більшою за тривалість імпульсів на вході С.
Роботу тригера в такому режимі проілюстровано на графіку (рис.12б.).
Приймемо, що на початку досліду, коли контакти кнопки були незамкнутими, сигнал на вході D відповідав рівню логічної 1, тригер знаходився в нульовому стані (на виході Q - логічний 0, на виході Ō — логічна 1). Перший же імпульс на вході C своїм фронтом переключить тригер в одиничний стан (момент t1). На спад цього імпульсу та й на наступні тригер не реагує зберігаючи тим самим прийнятий стан.
У результаті замикання контактів кнопки SB1, третій тактовий імпульс своїм фронтом (момент t2) переключить тригер у нульовий стан, який зберігається до приходу шостого імпульсу (до моменту коли кнопку SB1 відпустили і на вході D встановився рівень логічної 1). Дальше, при зміні рівнів вхідного сигналу, тригер переключився в нульовий стан по фронту сьомого тактового імпульсу, а по фронті восьмого — в одиничний.
З цього дослідження можна зробити висновки, які характеризують логіку роботи D-тригера в режимі прийому інформації:
-
якщо на вході D - логічна 1, тригер встановлюється по фронту першого тактового імпульсу на вході С в одиничний стан, а якщо на вході D - логічний 0, то в нульовий стан;
-
на спади синхронізуючих імпульсів D-тригер не реагує;
-
кожна зміна стану тригера означає запис в його пам’ять прийнятої інформації, яка може зберігатись або ж бути передана іншим логічним пристроям цифрової техніки.
Наступний дослід – дослідження D-тригера в режимі обліку, тобто як тригера з лічильним входом. Для цього від входу D (вив.2) потрібно від’єднати резистор та вимикач і цей вхід з’єднати з інверсним виходом Ō (рис.13). Тепер інформаційним входом тригера буде вхід С, на який слід подати серію імпульсів.
Рис. 13
Як тепер поводиться тригер? По фронту першого ж вхідного імпульсу він приймає одиничний стан, по фронту другого імпульсу - нульовий, по фронту третього - знову одиничний і т. д. Отже, у такому режимі роботи тригер по фронту кожного вхідного імпульсу змінює свій логічний стан на протилежний. У результаті, частота імпульсів на кожному з виходів тригера виявляється вдвічі меншою від частоти вхідних імпульсів.
Висновок напрошується сам собою: у такому режимі D-тригер ділить частоту вхідного сигналу на 2, тобто виконує функцію двійкового лічильника. J K – тригер
Рис. 14















