63749 (589033), страница 4
Текст из файла (страница 4)
В беспроводной локальной сети вопрос прослушивания имеет особую важность. Для обеспечения современного уровня безопасности стандарт IEEE 802.11 включает схему WEP. Для обеспечения конфиденциальности (а также целостности данных) используется алгоритм, основанный на шифровании и дешифровании RC4.
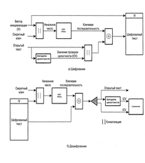
На рис.1.2. представлена структурная схема, поясняющая процесс шифрования и дешифрования передаваемой информации.
Из рис.1.2. следует, что алгоритм обеспечения целостности – это простая 32-битовая последовательность циклической проверки четности с избыточностью (CRC), присоединяемая к концу кадра MAC.
Для процесса шифрования 40-битовый секретный ключ делится между двумя сообщающимися сторонами. К секретному ключу присоединяется вектор инициализации (IV). Получившийся блок – это начальное число генератора псевдослучайной последовательности (PRNG), определенного в RC4. Генератор создает последовательность битов, длина которой равна длине кадра MAC плюс CRC.
Рис.1.2. Структурная схема, поясняющая алгоритм шифрования
Побитовое применение операции исключающего ИЛИ к кадру MAC и псевдослучайной последовательности дает шифрованный текст. К данному тексту присоединяется вектор инициализации, и результат шифрования передается. Вектор инициализации периодически меняется (при каждой новой передаче), следовательно, меняется и псевдослучайная последовательность, что усложняет задачу расшифровки перехваченного текста.
После получения шифрованного сообщения (рис.1.2, б) приемник извлекает вектор инициализации и присоединяет его к совместно используемому секретному ключу, после чего генерирует ту же псевдослучайную последовательность, что и источник на передающей стороне. К полученному таким образом ключу и поступившим данным побитово применяется операция исключающего ИЛИ, результатом которой является исходный передаваемый текст.
Таким образом, если взять исходный текст, применить к нему операцию ключевой последовательности и операцию исключающего ИЛИ, а затем применить операцию исключающего ИЛИ к полученному результату и к той же ключевой последовательности, то в итоге получится исходный текст.
На заключительной операции приемник сравнивает поступившую последовательность CRC и последовательность CRC, вычисленную по восстановленным данным: если величины совпадают, данные считаются неповрежденными.
Оценим, как происходит сравнение одинаковости понимания сообщения на передающей и на приемной стороне при кодировании (искажении) передаваемого сигнала, то есть оценим процесс аутентификации.
Стандарт IEEE 802.11 предлагает два типа аутентификации: «открытая система» и «общий ключ».
Аутентификация открытых систем просто позволяет двум сторонам договориться о передаче данных без рассмотрения вопросов безопасности. В этом случае одна станция передает другой управляющий кадр MAC, именуемый кадром аутентификации. В данном кадре указывается, что имеет место аутентификация открытых систем. Другая сторона отвечает собственным кадром аутентификации и процесс завершен. Таким образом, при аутентификации открытых систем стороны просто обмениваются информацией о себе.
Аутентификация с общим ключом требует, чтобы две стороны совместно владели секретным ключом, не доступным третьей стороне. Процедура аутентификации между двумя сторонами, А и В, выглядит следующим образом:
cторона А посылает кадр аутентификации, в котором указан тип "общий ключ" и идентификатор станции, определяющий станцию-отправителя;
сторона В отвечает кадром аутентификации, который включает 128-октетный текст запроса. Текст запроса создается с использованием генератора случайных чисел WEP. Ключ и вектор инициализации, используемые при генерации текста запроса, не важны, поскольку далее в процедуре они не используются;
cторона А передает кадр аутентификации, который включает полученный от стороны В текст запроса. Кадр шифруется с использованием схемы WEP.
Сторона В получает зашифрованный кадр и дешифрует его, используя WEP и секретный ключ, которым владеют стороны А и В. Если дешифрование прошло успешно (совпали CRC), сторона В сравнивает принятый текст запроса с текстом, который был послан на втором этапе процедуры.Принцип взаимодействия сторон при аутентификации представлен на рисунке 1.3.
Рис.1.3. Механизм проведения процедуры аутентификации
Таким образом, проанализированы перспективные технологии построения абонентской части локальной сети с учетом организационных и технических мероприятий по защите информации в сети.
Выводы по разделу:
В результате анализа перспективных технологий построения абонентской части сети с учетом известных организационных и технических мероприятий по защите информации в сети можно сформулировать следующие выводы:
1. Существующие стандарты радиодоступа к информационным ресурсам сети достаточно хорошо проработаны и существует их множество фактических реализаций (действующих образцов).
2. Наиболее перспективной технологией построения абонентской части локальной сети является стандарт IEEE 802.11, который обладает целым рядом достоинств, а именно:
- высокая оперативность развертывания сети;
- наличие технической возможности обеспечить надежную защиту информации в сети;
- возможность поэтапного (постепенного) развития сети, начиная с минимальной конфигурации;
- сравнительно низкие затраты на эксплуатацию;
- высокая пропускная способность;
- высокая помехозащищенность;
- минимальная стоимость;
- широкая инфраструктура;
- наличие возможности масштабирования.
3. Выявленные недостатки известных информационных технологий построения абонентской части локальной сети не позволяют останавливаться на известных достигнутых результатах и побуждают на дальнейшее исследование в дипломной работе в направлении разработки локальной сети с беспроводным доступом к ее информационным ресурсам, используя перспективные технологии защиты информации.
2. Выбор оборудования, для перспективных технологий СПД
2.1 Выбор передающей среды
Зачастую перед разработчиками и создателями корпоративных сетей передачи информации стоит задача выбора передающей среды.
В качестве передающей среды могут использоваться следующие:
- медный кабель;
- волокно – оптический кабель;
- радиоканал;
- оптический канал;
- лазерный канал.
Выбор передающей среды обусловлен, как правило, требованиями, предъявляемыми к сети доступа корпоративной системе передачи данных:
- сеть должна быть недорогой;
- сеть должна иметь широкую инфраструктуру;
- иметь возможность к масштабированию.
Зачастую сеть доступа не может быть расширена, за счет проводных сетей по целому ряду причин:
1) проблема прокладки кабеля, которая приводит к высокой стоимости сети;
2) высокая стоимость работ;
3) отсутствие телефонных линий.
В этом случае задача может быть решена за счет использования систем фиксированного широкополосного радиодоступа. Передача данных по радиоканалу во многих случаях надёжнее и дешевле, чем передача по коммутируемым или арендованным каналам, и особенно по каналам сотовых сетей связи. В ситуациях, в связи с отсутствием развитой инфраструктуры связи, использование радиосредств для передачи данных часто является единственно разумным вариантом организации связи.
Сеть передачи с использованием радиомодемов может быть развёрнута практически в любом географическом регионе. В зависимости от используемых радиостанций такая сеть может обслуживать своих абонентов в зоне радиусом от единиц до сотен километров. Огромную практическую ценность радиомодемы имеют там, где необходима передача небольших объёмов информации (документов, справок и т.д.).
Радиомодемы часто называют пакетными контроллерами (TNC - Terminal Node Controller) по причине того, что в их состав входит спец. контроллер, осуществляющий обмен данными с компьютером, управление форматирование кадров и доступом к общему радиоканалу в соответствии с реализованным методом множественного доступа. Радиомодемы ориентированы для работы в едином радиоканале со многими пользователями (в канале множественного доступа), а не в канале "точка - точка" (модем для коммутируемых линий).
Факторы, служащие основой для распространения радиосетей.
1. Гибкость конфигурации. Все беспроводные сети поддерживают как режим инфраструктуры (подключение через точку доступа) так и режим "равный с равным" (без применения точки доступа). Можно добавлять новых пользователей и устанавливать новые узлы сети в любом месте. Беспроводные сети могут быть установлены для временного использования в помещениях, где нет инсталлированной кабельной сети или если прокладка сетевых кабелей затруднена.
2. Простота расширения сети. Беспроводные рабочие станции могут добавляться без ухудшения производительности сети. Перегрузки сети трафиком можно легко избежать добавлением точки доступа для сокращения времени отклика сети.
3. Беспроводной доступ в Интернет. К точке доступа можно подключить маршрутизатор. Данная схема привлекательна тем, что беспроводные пользователи могут разделять общий доступ в Интернет.
4. Поддержка роуминга. Благодаря поддержке роуминга между точками доступа пользователи могут продолжать работать с ресурсами сети даже во время перемещения.
5. Передающая среда. В среде IEEE 802.11b распространяется с помощью маломощного шумоподобного сигнала, имея более десятка частотных каналов шириной 22 MГц в области 2,4 ГГц.
Щадящие режимы эксплуатации позволяют использовать частотный ресурс весьма интенсивно. Характер сигнала позволяет устанавливать связь на дальности до 110 км при наличии не только прямой оптической видимости между конечными точками, но и при отсутствии преград в области так называемой первой зоны Френеля. В условиях разновысотной застройки, снежно-дождливого климата, об официальной регистрации связи на дальность более 5 км говорить можно, но нужно очень серьезно отнестись к выбору оборудования. На таких расстояниях в городах применяется каналообразующее оборудование. Cтандарт 802.11, являются своеобразным прорывом в области беспроводных сетей.
Можно выделить три принципиальных преимущества этих технологий над кабельными сетями:
1) невозможность подсоединения подвижных (иначе, мобильных) абонентов является принципиально непреодолимым ограничением чисто кабельных сетей (т.е. сетей, использующих кабели и на сетевых магистралях, и для подсоединения абонентов). Это ограничение относится к любому виду коммуникаций - как к обычной телефонной и факсимильной связи, так и к передачам данных. Фактор мобильности радиосетей приобретает первостепенное значение, когда пользователь не имеет возможности подключения к обычной проводной сети и должен перемещаться в пределах определенного района;
2) Другое преимущество беспроводных сетей имеет не технологический а экономический характер - фактор удаленности. Оно касается подсоединения удаленных абонентов к сети. Это могут быть абоненты, разбросанные по обширной, малонаселенной или труднодоступной территории, либо сгруппированные в удаленном пункте. В таких случаях протягивать кабель не всегда экономически целесообразно;
3) Наконец, третий фактор специфичен для стран с бурно развивающейся экономической деятельностью и отстающими в развитии телефонными сетями общего пользования. К этой категории можно отнести и нашу республику. Фактор срочности выражается в том, что надежные коммуникации нужны сейчас, немедленно, а для прокладки кабельной сети требуются колоссальные инвестиции и длительное время.
2.2 Режимы работы
В режиме Ad Hoc рис.2.1. станции непосредственно взаимодействуют друг с другом. Для этого режима требуется минимум оборудования: каждая станция должна быть оснащена беспроводным адаптером.
Рис.2.1 Режим работы Ad Hoc
При такой конфигурации не требуется создания сетевой инфраструктуры. Основным недостатком режима Ad Hoc является ограниченный диапазон действия возможной сети и невозможность подключения к внешней сети (например, к Интернету).
В заключение нашего обзора физического уровня стандартов 802.11a, 802.11b и 802.11g, рассмотрим базовые архитектуры беспроводных сетей. В режиме Infrastructure Mode рис.2.2. станции взаимодействуют друг с другом не напрямую, а через точку доступа (Access Point), которая выполняет в беспроводной сети роль своеобразного концентратора (аналогично тому, как это происходит в традиционных кабельных сетях). Рассматривают два режима взаимодействия с точками доступа - BSS (Basic Service Set) и ESS (Extended Service Set). В режиме BSS все станции связываются между собой только через точку доступа, которая может выполнять также роль моста к внешней сети.
















