63075 (588892), страница 7
Текст из файла (страница 7)
130 Z = Z + H
140 D = D + 1
150 IF D <= V GOTO 90
160 V1 = V
170 A1 = A
180 GOSUB 220
190 P = Z / Z1
200 PRINT "P="; P
210 STOP
220 I1 = 1
230 W1 = 1
240 Z1 = 1
250 IF V1 <= 0 GOTO 280
260 W1 = (W1 * A1) / I1
270 Z1 = Z1 + W1
280 E1 = W1 / Z1
290 I1 = I1 + 1
300 IF I1 <= V1 GOTO 260
310 RETURN
320 END
? 2,5,1
Р = 0,879.
Выше была приведена программа расчета ненадежных линий в коммутаторе.
3.2.3 Оценка требуемого числа каналов и вероятности потери вызова методом динамики
Используемая формула Эрланга.
При технико – экономической оценке проектируемых канальных емкостей в функции числа абонентов и создаваемой ими нагрузки при заданных характеристиках качества обслуживания. Применительно к системам с коммутацией каналов основной характеристикой является вероятность потери первичного вызова, который для простейшего потока первичных вызовов совпадает с вероятностью занятости всех выходов в системе, или всех единичных каналов. В телефонных сетях требование к качеству по потерям вызовов обычно нормируется средним числом вызовов, приходящихся на один теряемый.
В классической теории телетрафика оценка вероятности Рn потери вызова традиционно базируется на модели многоканальной системы массового обслуживание с отказами. Размеченный граф состояние такой системы показан на рисунке 3.5. Здесь S0, S1, …,Sn - состояния, пронумерованные по числу занятых каналов (S0 – все каналы свободны; S1 – заняты один канал, остальные свободны; Sn – заняты все n каналов); интенсивность λ=1/Тз поступление заявок и интенсивность μ=1/tс обслуживания выражаются через средний интервал Tз (между поступлениями заявок) и среднее время tc обслуживания. Для оценки Pn используется формула В Эрланга, или первая формула Эрланга для системами с потерями:
S0 – все каналы свободны; S1 – заняты один канал, остальные свободны; Sn – заняты все n каналов
Рисунок 3.5 – Модель многоканальной системы
Pn=(Rn/n!)/
(3.19)
где R= λ/ μ – приведенная интенсивность поступление заявок на обслуживание. Если tc, Тз выражены в часах то R=tc/Тз может интерпретироваться как телефонная нагрузка в Эрлангах.
Определенные неудобства оперирования с факториалами (особенно при больших значениях n) заставляют для определения Рn или необходимого n при заданном числе N абонентов и фиксированном Рn пользоваться таблицами Еn(R) рекуррентной формулой Еn(R)=F[En-1(R),n,] либо приближением Стирлинга, практически приводящим к вычислению частного от деления близких табличных значений интеграла Лапласа.
Новая формула для числа каналов.
Метод динамики моментов базируется на тех же исходных линейных дифференциальных уравнениях теории непрерывных Марковских цепей, описывающих изменение вероятностей дискретных состояний в непрерывном времени, что и формула В Эрланга. Метод предусматривает агрегирование состояний однородных и независимых элементов системы на основании того, что среднее число Ei элементов, находящихся в i–м состоянии, есть произведение общего числа элементов n(ΣEi=N) на вероятность пребывания pi в состоянии I (рисунок 3.6).
Рисунок 3.6 – Состояние системы
1 – пассивное состояние элементов системы; 2 – состояние занятия каналов
В данном случае элементами системами являются абоненты, каждый из которых может находиться в одном из двух состояний: в пассивном 1 и в состоянии занятия канала 2 на время сеанса связи (рисунок 3.6).
Если λ и μ – интенсивности перехода одного абонента между состояниями 1,2, то уравнения динамики средних имеют вид:
dE1/dt=-λE1+ μE2;
dE2/dt=λE1+ μE2. ;
отсюда для установившегося режима
dE1/dt=dE2/dt=0;
среднее число занятых каналов
Е2=Nρ+(1+ρ),
где ρ=λ/μ.
Пусть дискретная случайная величина на хij может принимать только два значения:
х
i = 1, если j-й элемент находится в состоянии i;
0,в противном случае.
Ряд распределения имеет для каждого j один и тот же вид:
| Значения хi | 0 | 1 |
| вероятности | 1-рi | pi |
Здесь pi – вероятность пребывания в состоянии i.
Поэтому дисперсия численности состояния i=2 есть сумма N одинаковых значений дисперсии величины xij=xi
D[x2]=(0-p2)2(1-p2)+ (1-p2)2,
то есть
D2=E2(1-E2/N)=Nρ(1+ρ)2.
В соответствии с “правилом трех сигм” практически возможное максимальное значение числа занятых каналов составляет Е2+3
(естественно, в предложении о нормального распределении числа занятых каналов). На этом основании требуемое число n каналов для обслуживания N абонентов, каждый из которых создают в ЧНН нагрузку ρ, выражается как:
n=(Nρ+K
,; (3.20)
где
2,2- при допустимости в среднем одного отказа на 70 вызовов;
К= 2,31 – для одного отказа в среднем на 100 вызовов.
K – коэффициент допустимости отказа, определяемый как значение аргумента (нормированного средним квадратическим отклонением) при подходящем значении функции нормального распределения. Заметим, что в (3.2) Nρ имеет тот же смысл, что R в (3.16).
Для оценки точности формулы (3.17) можно сравнить результаты вычислений по (3.17) с таблицами значений требуемого количества каналов n=n(N, Pn), вычисленных по En(R). Такое сопротивление для ρ=0,05 (то есть для нагрузки одного абонента 0,05 Эрл) показало, что даже для небольших значений n (порядка десятков) различие – менее 1% .
Вероятность потери вызова.
Для определенных выше (по методу динамики средних) математического ожидания E2 и дисперсии D2 и в соответствии с предположении о нормальном распределении случайной численности состояния (2) вероятность отказа Ротк можно выразить через интеграл Лапласа:
Ф(у)=
то есть вероятность превышения такой случайной величиной значения n , или превышения отклонения от среднего Е2=Nρ/(1+ρ) величины n-E2:
Ротк
; (3.21)
Подстановка (3.17) в (3.18) дает Ротк
1-2F(K). Ошибка
Ротк=Ротк-Рn;
где Рn соответствует (3.16) и определяется только ошибкой
по (3.17), а также ошибкой, связанной с предположением о нормальном распределении численности состояния.
Влияние ошибки
на погрешность определения Ротк по формуле (3.18) можно оценить из сопоставления с вычислениями по (3.17) при К=2,2…2,31, (то есть для Ротк=0,1…0,014), N
20 и значениях 0,04
0,01, характерных для нагрузки создаваемых для ЧНН средним абонентам квартирного телефона. В частности,
Ротк<0,03Рn для
n=(0.01…0,015)n и погрешность определения Ротк из-за ошибки оценки n порядка 1…1,5% составляет менее 3%или по абсолютному значению
Ротк
0,0004. следовательно существенной может быть только погрешность, вносимая допущением о нормальном законе распределения.
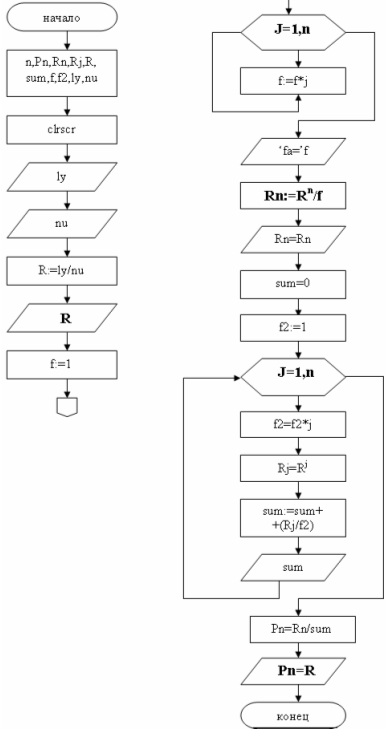
Напишем программу на языке Pascal для расчета вероятности потери вызова, а на рисунке 3.7 приведем ее алгоритм.
program laura1;
uses crt;
const n=10;
var Pn,Rn,Rj,ly,nu,sum,R,f,f2:real;
a:array[1..n] of integer;j:integer;
begin
clrscr;
writeln('inter number of chanel n=',n:1);
write('inter ly =');readln(ly);
write('inter nu =');readln(nu);
R:=ly/nu;
writeln('result R=',R:4:10);
f:=1;
for j:=1 to n do
f:=f*j;
writeln('fa=',f:4:10);
Rn:=exp(n*ln(R))/f;
writeln('result Rn=',Rn:7:10);
sum:=0;
f2:=1;
for j:=1 to n do
begin
f2:=f2*j;
Rj:=exp(j*ln(R));
sum:=sum+(Rj/f2);
writeln('sum=',sum:7:10);
end;
Pn:=Rn/sum;
writeln('Pn=',Pn:7:10);
end.
n=10
Рn=0,0000151088
Рисунок 3.7 – Алгоритм расчета вероятности потери вызова
3.3 Программа мониторинга сети станций и настройка объектов мониторинга
3.3.1 Общее описание системы
Система предназначена для удаленного мониторинга состояния станций МС-240. Программа является удобным средством для непосредственного наблюдения за параметрами устройств, расположенными в удаленных населенных пунктах. Программа позволяет оперативно отслеживать следующие характеристики оборудования:
– работа центрального процессора (ЦП);
– работа устройств электропитания (УЭП);
– состояния соединительных линий (потоки Е1, DLS);
– состояния датчиков телеметрии;
– работа модулей периферии.
Система позволяет осуществлять мониторинг других типов оборудования предприятия «Элтекс»: мультиплексора Маком-МХ, МС-240 версии 2, коммутатора потоков, устройств доступа МХЕ-4 и МХМ-12.
Состояние объектов отображается на условной карте. Аварийные сообщения сохраняются в журнал, а также сопровождаются звуковой и световой сигнализацией. Есть возможность дублировать аварийные сообщения на внешний блок аварийной сигнализации БАС.
Система может использоваться и для мониторинга локальной станции МС-240. В этом случае все элементы системы устанавливаются на один компьютер (рисунок 3.8).
Рисунок 3.8 – Пример внешнего вида основного окна
программы мониторинга
Комплекс состоит из следующих элементов (рисунок 3.9):
Рисунок 3.9 – Возможная структура системы мониторинга сети
станций MC-240
– NCS – программа доступа к объектам сети. Позволяет осуществлять доступ к станциям и мультиплексорам, а также создает «сквозные» каналы связи для программ-конфигураторов. В функции программы входит кэширование сообщений от объектов, с последующим предоставлением информации удаленным программам мониторинга.
– MON – программа удаленного мониторинга. Предназначена для организации удаленных терминалов мониторинга сети станций. Программа отображает состояния объектов, полученные при помощи NCS. Сама программа MON не имеет возможности подключаться к реальным объектам сети.
– PbxAdm – программа конфигуратор станций МС-240 с центральным процессором третьей версии. Программа поддерживает способ подключения «IP-транзит», позволяющий конфигурировать станции через канал, предоставленный сервером NCS.
– MxAdm – программа конфигуратор мультиплексоров Маком-МХ. При запуске из интерфейса NCS использует канал сервера NCS для подключения к мультиплексору.
– SQL-сервер Firebird – используется комплексом для хранения конфигурации сети, а также хранения конфигураций объектов. Является обязательным компонентом системы.
Установка, системные требования. Для работы системы мониторинга ЦАТС «МС240» необходим компьютер с установленной операционной системой Windows® 2000 SP4/XP SP2. Минимальные требования к аппаратному составу компьютера:
– процессор Intel Pentium III-IV (Celeron) или AMD Athlon;
– ОЗУ 256Мб;
– НЖМД 20Гб;
– Свободный последовательный порт или установленный модем;
– Сетевая карта;
– Монитор SVGA. Разрешение 1024х768 или выше.
Программа используется при разрешении экрана не менее 1024х768, минимальная разрядность 16 бит. Для установки программы необходимо не более 100Мб дискового пространства, а также требуется свободное место на диске, которое определяется объемом обрабатываемых данных (периодичность тестирования, количество объектов и т.д.)(Минимум 200Мб).
В качестве хранилища сетевых объектов (станций и узлов), параметров соединительных линий и журналов аварий программа использует SQL-сервер Firebird. Сервер Firebird является программным продуктом с открытым исходным кодом (open source) и не налагает на пользователя никаких лицензионных ограничений. Дистрибутив SQL-сервера поставляется вместе с установочным пакетом мониторинга. Минимальная версия сервера 1.5.2.
Система позволяет устанавливать все компоненты как на один компьютер, так и на разные.
Отдельные терминалы мониторинга могут быть установлены на любой компьютер, имеющий доступ по TCP/IP протоколу к серверам NCS и SQL.
Установка системы производится в следующем порядке:
– Установка SQL сервера Firebird. В параметрах установки не менять установленные по умолчанию параметры. Выбрать тип сервера SuperServer. Тип запуска – автоматический.
– Установка NCS. Программа будет инсталлирована в каталог «c:\eltex\ncs». Одновременно в каталог «c:\eltex\base» инсталлятор поместит файл базы данных «mc240-net.fdb». Этот файл предназначен для хранения конфигурации сети, объектов мониторинга, карт, журналов и прочей оперативной информации системы. Удалять и переносить файл нельзя (без предварительной настройки параметров системы).
– Установка PbxAdm. Программа по умолчанию инсталлируется в каталог «c:\eltex\PbxAdmFib.»
– Установка MON. Программа дополнительного мониторинга устанавливается на другой компьютер сети предприятия. Инсталлятор помещает её в каталог «c:\eltex\mon\». После установки необходимо прописать IP адрес компьютера, на котором установлен SQL сервер. Для этого необходимо открыть любым текстовым редактором файл «c:\eltex\mon\pbxnet.ini» и в строке FB_HOST=127.0.0.1 исправить параметр «127.0.0.1» на реальный адрес компьютера. Инсталлятор предлагает создать ярлыки на рабочем столе Windows, а также помещает ярлыки в список программ в «Программы/Eltex/Мониторинг МС-240».
Настройка программы. В первую очередь производится настройка имени SQL сервера в программе NCS. По умолчанию, считается, что NCS и SQL сервера находятся на одном компьютере. Поэтому в настройке NCS установлен локальный адрес «127.0.0.1». Если SQL сервер был установлен на 8 Цифровая АТС "МС240"Руководство по эксплуатации Программа удаленного мониторинга другой компьютер, то его адрес необходимо прописать в файле «c:\eltex\ncs\pbxnet.ini» в параметре FB_HOST=127.0.0.1, вместо локального адреса прописать реальный. Это необходимо сделать до запуска программы. Все остальные настройки можно производить из интерфейса программы NCS [П.Ж].
3.3.2 Настройка объектов мониторинга
Настройка узлов. Объекты мониторинга (станции, мультиплексоры) могут располагаться как в основном «базовом» узле, который виден, когда открывается программа, так и в дочерних узлах. Узлы предназначены для группировки объектов по смыслу. Узлы удобно применять в программах мониторинга верхнего уровня. Например, в программе мониторинга, установленной в областном центре можно сконфигурировать сеть районов в виде узлов. Тогда на основной карте области, вместо десятков станций может быть лишь несколько узлов. При аварии на объекте, помещенном внутрь узла, сам узел будет привлекать к себе внимание.
Чтобы добавить новый узел на карту необходимо в меню «Объекты» выбрать «Новый узел» или на пустом месте на карте нажать правую кнопку мыши и в меню выбрать «Новый узел». Затем заполнить данные и нажать кнопку «Ок» (рисунок 3.10).
Чтобы открыть содержимое узла, нужно два раза щелкнуть левой кнопкой мыши на его изображении. Чтобы вернуться назад, нужно нажать клавишу «Esc» или мышкой на зеленую стрелку возврата в меню (рисунок 3.11).
Рисунок 3.10 – Свойства узла
Рисунок 3.11 – Иллюстрация узловой конфигурации
На рисунке 3.11 приведен пример узловой конфигурации, здесь программа мониторинга обнаружила в узле «Искитим» аварию на одном из объектов. Для того чтобы точнее узнать о аварии необходимо щелкнуть левой кнопкой мыши два раза на изображении узла или выделить одиночным щелчком левой кнопкой и нажать «Enter».
Чтобы изменить название или пометки, необходимо выбрать пункт меню «Объекты/Свойства объекта» или выделить объект, нажать правую кнопку мыши и выбрать пункт «Свойства объекта».
Удаление узла производится через пункт меню «Объекты/Удалить объект». Или через дублирующую кнопку на панели управления.
При нажатии правой кнопки мыши на узле появляется меню, позволяющее делать следующие операции:
– удалить узел;
– выключить мониторинг всех объектов узла;
– включить мониторинг всех объектов узла;
– свойства узла.
Типы объектов мониторинга. Программа позволяет проводить мониторинг следующих типов оборудования, производимого предприятием «Элтекс»:
– станция МС-240 (ЦПv3);
– станция МС-240 (ЦПv2);
– центральная станция (коммутатор потоков);
– гибкий мультиплексор Маком-МХ;
– мультисервисное устройство доступа МХЕ-4;
– мультисервисное устройство доступа МХМ-12;
– абонентский вынос на базе мультиплексора Маком-МХ (через DSL).
В программе предусмотрена возможность добавления на карту объектов с названием «Внешняя станция». Этот тип объектов предназначен для визуализации связей оборудования предприятия «Элтекс» с любым другим оборудованием.
Выбор типа оборудования производится при добавлении объекта на карту. Изменение типа оборудования после создания невозможно.
Добавление нового объекта на карту производится одним из следующих способов (рисунок 3.12):
1. Через основное меню программы, пункт меню «Конфигурация сети/Добавить объект»;
2. Щелчком правой кнопки мыши на незанятом участке карты вызвать окно со списком оборудования и выбрать соответствующего типа оборудования из выпадающего списка.
Рисунок 3.12 – Добавление нового объекта через меню
При выборе пункта меню «Новая станция» программа предложит диалог выбора типа станции (рисунок 3.13).
Рисунок 3.13 – Выбор типа станции
При выборе типа станции «АТС МС-240 ЦПv3», программа выведет диалог настройки доступа к объекту. В диалоге необходимо указать название объекта, краткое описание (если нужно), тип доступа, параметры доступа (зависит от типа), пароль.
Типы доступа к станции МС-240 ЦПv3 (Приложение З):
Телеметрия. Система мониторинга позволяет отслеживать следующие параметры (рисунок 3.14):
– наличие доступа к станции;
– основные параметры центрального процессора;
– состояния модуля электропитания (УЭП), наличие первичного напряжения, тока заряда батарей и проч.;
– показания датчиков температуры и влажности;
– состояние датчиков телеметрии;
– состояние цифровых потоков.
Рисунок 3.14 – Настройка телеметрии
Для активации мониторинга объекта нужно выставить флаг «Мониторинг состояний» в диалоге «Свойства станции». В диалоге «Объекты мониторинга» ставятся флаги мониторинга отдельно для УЭП и датчиков телеметрии.
Примечание: для мониторинга датчиков телеметрии, в станции должен быть установлен соответствующий модуль. Не все модули телеметрии содержат в себе датчики температуры и влажности.
Диалог телеметрии позволяет настроить мониторинг восьми внешних датчиков и двух встроенных. При этом в левой колонке выставляется флаг мониторинга, в графе «Назначение» можно написать название объекта, куда установлен датчик (например: дверь, окно, магазин и т.д.). В правой колонке «Инверс» устанавливается режим опроса датчика. Если выставлен флаг инверсии, значит аварийное состояние датчика – разомкнутое. В обычном режиме аварийное состояние датчика – замкнутое. После перехода датчика в исходное состояние и режим аварии объекта будет выключен.
Примечание: для корректной работы триггеров датчиков телеметрии на станции так же должен быть выбран соответствующий режим (настраивается при помощи программы PbxAdm).
Контроль устройства электропитания может производиться в двух режимах. Режим устанавливается при помощи флага «Расширенная сист.». Если установлен этот флаг, то контроль модуля осуществляется по схеме повышенного быстродействия и уменьшения трафика.
Для работы по такой схеме необходима прошивка станции МС-240 не ниже версии 5.1.36 и прошивка модуля МК устройства УЭП не раньше 1 авг. 2006г.
Соединительные линии. Программа позволяет осуществлять мониторинг соединительных линий – цифровых потоков Е1 и DSL линий. Для осуществления мониторинга сначала нужно создать «линк» между двумя объектами на карте. Для этого необходимо щелкнуть правой кнопкой мыши на объекте, поток которого должен отслеживаться и выбрать в выпадающем меню «Межстанционные связи/Выбор станции для соединения». В появившемся диалоге необходимо ввести параметры линка для первой станции: номер слота и номер порта (потока). Если между двумя объектами более одного потока, то для корректного отображения необходимо выбрать индекс соединения (от нулевого и далее) (рисунок 3.15).
Рисунок 3.15 – Настройка мониторинга соединительной линии
В поле «Условное название» можно ввести смысловое значение. Название будет фигурировать в журналах аварий. Т.е. при аварии, кроме указания параметров слот/порт будет внесено условное название. Пример мониторинга соединительных линий показан в Приложении И.
Карта. Карта предназначена для улучшения восприятия информации. В качестве карты может быть задан любой рисунок в формате BMP или JPG, с достаточным для размещения объектов размером. Чтобы задать карту нужно выбрать пункт меню «Конфигурация сети/Карта/Задать карту для текущего узла». После чего программа покажет диалог выбора файла. Нужно найти файл на диске и нажать «Открыть». Карта задается для текущего узла. Например, на поле базового узла можно поместить карту области, а в узлах сконфигурировать станции районов и поместить в соответствующие узлы карты районов.
Удаление карты производится при помощи пункта меню «Конфигурация сети/Карта/Удалить карту».
Примечание: когда задана карта местности, то отображение линков производится только в пределах карты.
Перемещение объектов по карте мониторинга. Каждый вновь созданный объект помещается в левый верхний угол экрана, если объект создан через главное меню программы и в место расположения курсора, если объект создан через всплывающее меню по правой кнопке мыши. Для того чтобы поменять местоположение объекта на форме программы нужно удерживая на клавиатуре клавишу “Ctrl”, выделить объект левой кнопкой мыши и не отпуская кнопку мыши переместить объект на новое место. После чего отпустить левую кнопку мыши и клавишу “Ctrl” (механизм Drag&Drop Windows). После перемещения объекта будут перерисованы и его связи. Чтобы поместить объект в узел можно переместить его на изображение нужного узла и отпустить кнопку мыши «над» узлом. После подтверждающего запроса объект будет помещен внутрь узла. Чтобы переместить объект «вверх» по дереву, т.е. в предыдущий узел, нужно выделить объект, нажать правую кнопку мыши и выбрать в выпадающем меню пункт «Переместить объект в предыдущий узел».
3.4 Отображение аварийных состояний и описание элементов Интерфейса
3.4.1 Общие сведения по аварийным состояниям
Система мониторинга позволяет просматривать основные параметры объекта, а также отображать аварии объектов и их модулей. Для станции МС-240 ЦПv3 можно получить следующие характеристики ЦП (рисунок 3.16):
– время в работе – время, в течение которого станция проработала с момента последней перезагрузки;
– источник синхронизации – локальная или внешняя (указывается слот/порт);
– количество задач – информация о работе внутреннего ПО станции;
– загрузка процессора;
– количество портов – общее число сконфигурированных портов на станции;
– всего перезагрузок – число перезагрузок станции с момента очистки счетчика;
– версия ПО – версия и дата компиляции внутреннего ПО;
– напряжения – напряжения, выдаваемые вторичным источником;
– информация о работе станции до перезагрузки – позволяет узнать время включения и время выключения станции до последнего перезапуска;
– системное время станции.
Примечание: системное время станции можно синхронизировать с управляющим компьютером. Для этого необходимо нажать на кнопку, расположенную правее отображения времени. Если разбег часов станции и компьютера более 10 минут, то это отобразится красным фоном в диалоге.
Рисунок 3.16 – Информация о станции МС-240 ЦПv3
Кнопки «УЭП» и «Датчики» позволяют открыть соответствующие диалоги по отображению информации. Если кнопка «Датчики» не активна, то в станцию не установлен модуль телеметрии. В случае если кнопка «УЭП» не активна – УЭП недоступен центральному процессору.
3.4.2 Потеря связи с объектом
Если программа мониторинга не может соединиться со станцией (мультиплексором) или после соединения произойдет обрыв сеанса связи, то объект на карте перейдет в состояние аварии. При этом на изображении объекта будет мигать яркий восклицательный знак, а также программа будет издавать сигнал системным динамиком компьютера и мигать окном приложения (если оно свернуто). В строке статуса отображается причина аварии. Например, если не удалось установить соединение, то может быть указан неверный пароль, неверный способ доступа или адрес. В процессе соединения отображается объект и зеленая стрелка к нему [П.К].
После установления соединения с объектом рядом с ним (справа сверху) отобразится латинская буква «i» в зеленом круге. Если активирован мониторинг датчиков телеметрии и модуля УЭП, то отобразятся соответствующие значки рядом с объектом (подробнее см. ниже).
При потере связи с объектом система будет делать периодические попытки восстановить связь.
3.4.3 Срабатывание датчика телеметрии
Если система мониторинга обнаружила, что сработал один (или несколько) датчиков телеметрии, подключенных к станции МС-240, то соответствующий объект на карте будет подсвечен знаком аварии (мигающий восклицательный знак). Причина аварийного состояния объекта, т.е. срабатывание датчика, будет написана в строке статуса программы, а также подсвечиваться, при наведении на объект указателя мыши (рисунок 3.17).
Чтобы уточнить какой именно датчик (или несколько датчиков) сработал, нужно вызвать меню, нажав правую кнопку мыши на объекте и выбрать «Состояние датчиков» или «Показать аварии объекта» (рисунок 3.18).
Рисунок 3.17 – Срабатывание датчика телеметрии
Рисунок 3.18 – Диалог состояния датчиков телеметрии, сработка «Датчик-6»
3.4.4 Аварийное состояние климатических датчиков
Если система мониторинга обнаружила, что показания датчиков температуры или влажности вышли из допустимого диапазона, то соответствующий объект на карте будет подсвечен знаком аварии (мигающий восклицательный знак). Причина аварийного состояния объекта, т.е. определение типа аварийного датчика, будет написана в строке статуса программы, а также подсвечиваться, при наведении на объект указателя мыши.
3.4.5 Авария УЭП
Авария модуля электропитания (УЭП) разделяется на несколько типов:
– модуль УЭП недоступен центральному процессору. Причиной может быть как поломка модуля УЭП, так и повреждение (отсутствие) соединяющего кабеля;
– пропадание первичного напряжения 220В;
– превышение тока заряда батарей;
– превышение тока нагрузки;
– выход напряжений за установленные пределы (пределы устанавливаются конфигуратором станции).
Также как и прочие аварии, авария УЭП отображается мигающим восклицательным знаком на изображении объекта, а также соответствующим изображением. УЭП отображается в виде вилки электропитания, расположенной слева от станции. Красный цвет «вилки» говорит о аварии, связанной с работой модуля (выход номиналов напряжения или тока за установленные пределы, пропадание первичной сети). Желтый цвет «вилки» сообщает о недоступности для ЦП модуля УЭП. Зеленый цвет сообщает о нормальной работе (рисунок 3.19).
Рисунок 3.19 – Модуль УЭП в норме
Для просмотра характеристик модуля УЭП (если он доступен ЦП) нужно выбрать пункт меню «Информация по УЭП» (рисунок 3.20).
Рисунок 3.20 – Информация о состоянии модуля УЭП
3.4.6 Авария потока Е1
Мониторинг состояний потоков (линков) производится путем периодического опроса соответствующих объектов. В нормальном состоянии линки отображаются на карте зеленым цветом (рисунок 3.21).
Рисунок 3.21 – Линк в исходном состоянии, отображается зеленым цветом
Система мониторинга отображает следующие типы аварий:
– потеря потока (LOS);
– потеря цикловой синхронизации (LOF);
– потеря сверхцикловой синхронизации (LOMF);
– аварийный сигнал (AIS);
– удаленная авария (RA);
– удаленная авария сверхцикла (RA16);
– коэффициент ошибок 10-3;
– коэффициент ошибок 10-6;
Рисунок 3.22 – Сконфигурированный, но не активный, линк отображается серым цветом
Рисунок 3.23 – Поток в состоянии аварии отображается красным цветом. На станции знак аварии
Рисунок 3.24 – Если объект мониторинга недоступен, то его линки отображаются серым цветом
При наведении указателя мыши на объект, программа подсветит причину аварии, которая будет продублирована в строке статуса.
3.4.7 Журнал работы
Система мониторинга производит сохранение всех изменений состояний объектов карты в журнал мониторинга. В журнал сохраняется следующая информация (рисунок 3.25):
– запуск и установка программы мониторинга (NCS);
– запуск конфигураторов объектов;
– запуск и останов мониторинга объекта карты;
– ошибки соединения с объектами;
– аварии объектов;
– аварии линков;
– срабатывание датчиков телеметрии (включая переход в нормальное состояние);
– авария модулей УЭП;
– регистрация дежурного.
Рисунок 3.25 – Просмотр журнала работы
Форма просмотра журнала позволяет фильтровать сообщения, помечать прочитанные, сортировать и экспортировать списки.
Панель фильтров в левой части формы позволяет вывести сообщения по следующим параметрам:
– объект;
– тип события;
– категория срочности;
– фильтр по времени.
Для обновления данных в соответствии с фильтром или сортировкой нужно нажать кнопку «Обновить» или клавишу «F5».
Критические сообщения выделены красным цветом, мажорные – желтым, минорные – голубым. Чтобы поставить отметку о том, что сообщение прочитано, нужно дважды щелкнуть на соответствующей записи.
Экспорт данных производится из меню панели инструментов формы. После нажатия соответствующей кнопки нужно ввести имя экспортируемого файла. По умолчанию «journal.csv». Экспорт будет произведен в текстовый файл с разделителями столбцов знаком точка с запятой «;». Открыть, отредактировать и распечатать этот файл можно при помощи программы Microsoft Excel.
Для просмотра журнала аварий нужно выбрать в главном меню программы «Журналы/Журнал аварий» или нажать “Ctrl+J”.
3.4.8 Список аварий объекта
Каждый объект мониторинга имеет собственный список аварий. В этом списке содержатся как активные, на данный момент, аварии, так и неактивные непрочитанные. Активной является авария, если в объекте на текущий момент авария не снята. Например, пропал источник синхронизации или произошла потеря потока. Неактивной аварией считается авария, которая произошла, но потом, по какой-то причине произошло самовосстановление ситуации. Например, пропало первичное питание на УЭП, затем, через какое-то время, само восстановилось. Если у объекта есть хоть одна активная авария, объект сигнализирует об этом на экране и раздается звуковой сигнал. Активную аварию можно замаскировать. Для этого нужно навести указатель на объект, нажать правую кнопку мыши и в меню выбрать пункт «Показать аварии объекта». Откроется форма, на которой отображаются активные и неактивные аварии. При деактивации аварий, активные аварии маскируются, а неактивные помечаются как прочитанные. Этот механизм используется следующим образом: после того, как появилась сигнализация об активной аварии, обслуживающий персонал может заняться её устранением, и чтобы данная авария не привлекала больше внимания, её маскируют. Отображение неактивных аварий предназначено для того, чтобы привлечь внимание персонала к тому, что на объекте происходили какие-то аварии во время отсутствия дежурного. Если объект содержит неактивные непрочитанные аварии, то на его изображении на форме мониторинга, высвечивается соответствующий знак (рисунки 3.26, 3.27, 3.28, 3.29).
Рисунок 3.26 – Список аварий объекта – активные аварии
Рисунок 3.27 – Список аварий объекта – замаскированные аварии
Рисунок 3.28 – Отображение замаскированных аварий на объекте
Рисунок 3.29 – Отображение неактивных непрочитанных аварий
На панели инструментов главной формы программы есть кнопка, при нажатии на которую программа выведет общий список аварий всех объектов мониторинга. Она находится рядом с кнопкой журнала аварий.
3.4.9 Настройка критических значений МС-240 ЦПв3
Форма настройки критических значений для станции МС-240 ЦПв3 вызывается через пункт меню «Конфигурация сети/Настройка критических значений». Предварительно необходимо выделить соответствующий объект. На форме настройки можно задать критические значения (минимальное и максимальное) для следующих параметров станции:
Питание:
– +5В;
– -24В;
– +5В аналоговые;
– +60В;
– -5В;
– -60В;
– +12В;
– ГИВ;
УЭП:
– 60В;
– Ток нагрузки;
– Ток заряда;
Датчики телеметрии:
– Температура;
– Влажность;
Выход значений за заданные диапазоны будет восприниматься системой мониторинга как аварийная ситуация.
Главное меню программы состоит из следующих разделов:
– Файл – раздел для настройки и отладки программы;
– Конфигурация сети – раздел для добавления, удаления объектов и настройки их свойств;
– Телеметрия МС-240 – раздел для просмотра информации и телеметрии;
– Журналы – для просмотра журналов;
– Справка (?) – для получения информации о программе.
Панель инструментов предназначена для быстрого доступа к наиболее часто применяемым пунктам меню (рисунок 3.30).
Рисунок 3.30 – Панель инструментов
Кнопки панели инструментов автоматически активируются и деактивируются при выделении объектов карты левой кнопкой мыши.
Всплывающее меню появляется на экране при нажатии правой кнопки мыши на любом объекте. В зависимости от типа объекта, всплывающее меню содержит соответствующие пункты (рисунок 3.31).
Всплывающее меню дублирует свойства главного меню программы и панели инструментов, но, кроме того, позволяет производить дополнительные действия с текущим объектом.
Следующие пункты характерны только для всплывающего меню:
– Переместить объект в предыдущий узел – применяется для перемещения текущего объекта из вложенного узла «вверх» по иерархии;
– Межстанционные связи – в этом пункте реализовано подменю, позволяющее создавать, удалять и редактировать линки между объектами.
Рисунок 3.31 – Всплывающее меню
Строка статуса расположена в нижней части основной формы программы и предназначена для отображения текущих параметров выделенного объекта (рисунок 3.32).
Рисунок 3.32 – Иллюстрация строки статуса
В строке статуса отображается следующая информация (слева направо, по разделам):
– название станции и наличие связи;
– время в работе (если информация получена);
– время в работе (если информация получена);
– информация о состоянии программы в режиме конфигурирования Линков;
– аварийные сообщения.
Список сочетаний клавиш для осуществления ряда операций, без использования указателя мыши:
- Ctrl+A – настройка программы;
- Ctrl+N – новая станция;
- Ctrl+Del – удалить текущий объект;
- Ctrl+P – свойства текущего объекта;
- Ctrl+I – информация по текущему объекту;
- Ctrl+J – посмотреть журнал работы и аварий;
- Ctrl+R – регистрация оператора.
3.4.10 Настройка конфигураторов объектов
Для каждого типа объектов мониторинга назначается своя программа-конфигуратор. Также, можно назначить разные версии программы для отдельных объектов одного типа. Например, для станции МС-240 ЦПв3 с прошивкой 5.1.35 назначается конфигуратор PbxAdm432, а для версии прошивки 5.1.36 назначается конфигуратор PbxAdm433d и т.д.
В первую очередь, нужно внести программу в список конфигураторов. Для этого нужно в меню «Файл» выбрать «Список конфигураторов». В открывшемся диалоге, нажать кнопку «Добавить» и указать файл на диске. Удалить конфигуратор из системы можно только в том случае, если он не настроен ни на один объект мониторинга. Если необходимо заменить версию конфигуратора, то поместить обновление можно в любой каталог, но в форме настройки конфигураторов нажать кнопку «Изменить». При этом, изменения коснутся всех объектов, для которых был настроен предыдущий конфигуратор. Затем производится настройка конфигуратора для каждого объекта. Для этого нужно выделить объект и нажать в меню «Конфигурация сети/настроить конфигуратор». В появившемся диалоге выбрать нужную программу из списка и нажать «ОК».
Примечание: для объектов МС-240 ЦПв3 можно задать конфигуратор «по умолчанию».
Этот конфигуратор будет автоматически присваиваться всем, вновь создаваемым, объектам этого типа. Для этого нужно зайти в форму настройки общего списка конфигураторов, выделить нужный и нажать «По умолчанию».
Запуск конфигуратора производится двойным щелчком левой кнопки мыши на объекте.
Если необходимо запустить конфигуратор без подключения к объекту, например, для просмотра или редактирования конфигурации, нужно нажать правую кнопку мыши на объекте и выбрать пункт меню «Запустить конфигуратор без подключения». Программа-конфигуратор сохраняет в базе данных текущий файл конфигурации для каждого объекта, поэтому при запуске конфигуратора происходит автоматическое подключение файла конфигурации. Для объекта МС-240 можно посмотреть, какой файл конфигурации является активным, не запуская конфигуратор.
Для этого нужно нажать правую кнопку мыши и выбрать «Свойства объекта».
После запуска конфигуратора происходит его подключение к системе мониторинга и соединение непосредственно с объектом. На экране факт подключения конфигуратора к конкретному объекту можно увидеть в виде буквы «А» на пиктограмме объекта. Буква «L» означает, что конфигуратор подключен локально (на этом компьютере). Если конфигуратор запущен с другого ПК, то на пиктограмме будет только буква «А» (рисунок 3.33).
Рисунок 3.33 – Пример объекта с запущенным конфигуратором
Если программа PbxAdm была свернута в системную панель или переведена на задний план клавишами “Alt+Tab”, то вернуть её можно, сделав повторно двойной щелчок на объекте.
Одновременный запуск более одного конфигуратора для одного объекта запрещен.
Примечание: на время запуска конфигуратора собственный обмен программы мониторинга с объектом блокируется. Это значит, что аварийные состояния не будут фиксироваться программой мониторинга, пока конфигуратор текущего объекта не будет закрыт. Мониторинг других объектов будет происходить без изменений. Запускать одновременно много конфигураторов для множества объектов не рекомендуется.
3.5 Управление ЦАТС «МС240»
3.5.1 Общие принципы управления
Все операции по управлению ЦАТС выполняются в программе PbxAdm в режиме подключения к станции. Для более подробного ознакомления с программой PbxAdm см. «МС240».
Руководство по эксплуатации. Часть 3. Программа конфигурирования и мониторинга». Операции управления делятся на три группы:
– оперативное вмешательство (оперативные команды или команды);
– оперативное изменение конфигурации;
– полное переконфигурирование.
К оперативным командам относятся:
– команда «Перезапуск станции»;
– команда «Включить/выключить порт»;
– команда «Сбросить порт»;
– команда «Тестировать порт»;
– команда «Тестировать слот»;
– команда «Автоматическое тестирование».
– команда «Синхронизация календаря».
Оперативные команды не вносят изменения в конфигурацию и выполняются немедленно после подачи команды в станцию. Все эти команды производятся из раздела «Мониторинг» путем вызова контекстного меню или нажатием соответствующей кнопки в инструментальной панели программы.
Оперативное изменение конфигурации производится передачей в станцию только параметров выбранного объекта. Такими объектами могут быть абонентские порты, порты СЛ, общие параметры станции и блоки параметров портов.
Для внесения оперативных изменений вызывается окно редактирования свойств объекта и вносятся изменения. Затем из контекстного меню (правая кнопка мыши) выбирается пункт «Записать» - информация передается в станцию. При этом на модуле ЦП начинает мигать зеленый индикатор «Режим», что означает изменение конфигурации. После 30 секундного интервала происходит автоматический подсчет контрольной суммы новой конфигурации и мигание индикатора прекращается. Выполнив команду «Сверка контрольных сумм» (сверяются контрольные суммы конфигураций в станции и в программе PbxAdm), можно досрочно осуществить пересчет контрольной суммы конфигурации в станции.
Полное переконфигурирование означает запись в станцию полной конфигурации из программы PbxAdm. Это необходимо при внесении изменений в план нумерации, при изменении категорий доступа и прочих характеристик общестанционных объектов.
При полном переконфигурировании в конфигурацию вносятся все необходимые изменения, а затем выполняется запись всей конфигурации в станцию путем выполнения команды меню «Конфигурация/Записать». Во время записи происходит автоматическая сверка контрольных сумм только что записанных блоков, что повышает защищенность от ошибок передачи данных.
По окончанию записи будет автоматически предложен перезапуск станции, который необходимо выполнить для того, чтобы изменения вступили в силу. После перезапуска и восстановления соединения со станцией можно продолжить работу.
Примечание. При большом объеме изменений рекомендуется сохранить конфигурацию на диске ПК в файле с новым именем.
Категории определяют взаимодоступность внутренних объектов станции между собой. Например, доступность направлений (транковых групп) для абонентов.
Кроме того, для абонентов, их категория содержит информацию о категории АОН. В ЦАТС «МС240» можно определить до 32 различных категорий доступа.
Определение категории доступа осуществляется в разделе «Категории доступа». Параметры категории доступа включают в себя: имя категории, категория АОН и возможность доступа к другим категориям. Окна изменения параметров вызываются либо двойным щелчком на строчке категории, либо нажатием «Enter», либо из контекстного меню выбором пункта «Свойства».
Для быстрого просмотра всех категорий и их взаимодоступности используется раздел «Таблица доступа».
Для удобства работы с абонентскими линиями в программе предусмотрен раздел «Абоненты», который содержит список всех абонентских линий станции с кратким описанием настроек и режимов. Возможна сортировка линий по значениям параметров и быстрый поиск линии по первым цифрам номера.
Добавление новых абонентских линий осуществляется путем изменения аппаратного состава станции – добавления модулей 16АК. Для вновь установленных модулей 16АК следует правильно задать конфигурацию, которая включает в себя категорию абонента, телефонный номер, параметры линии и параметры ДВО. Это может быть сделано либо непосредственным редактированием параметров абонентских линий, либо копированием параметров уже сконфигурированных линий.
Порядок добавления новых абонентских линий:
a) установка нового модуля.
Раздел «Оборудование». Выберите свободный слот в конфигурации и установите тип модуля «16АК». Ответьте утвердительно на вопрос «Установить плату?». В следующем диалоговом окне можно задать начальную нумерацию, указав стартовый номер.
b) задание характеристик линии, режим обслуживания.
Вызовите окно редактирования свойств порта и установите требуемые параметры: Параметры линии:
- Повышенная дальность – напряжение питания линии 100 В.
- Пониженное потребление – напряжение питания линии 24 В.
- Расширенная АЧХ – используется при подключении к комплекту модема.
- Коэффициенты усиления входных и выходных сигналов.
- Высокий импеданс.
Параметры обслуживания:
- Выключен – порт не обслуживается.
- Набор DTMF – прием тонального набора.
- Обработка FLASH.
- Выдача АОН при ответе.
Дополнительно в окне свойств порта можно задать:
- Уникальное название порта (например, ФИО абонента).
- Прямой номер (прямое соединение с указанным портом при снятии трубки).
- Блок параметров (настраиваются в разделе «Блоки параметров АК»).
- Блок коэффициентов (набор коэффициентов для различных характеристик линии).
- Категория доступа – доступ к внутренним объектам и категория АОН.
- Категория ДВО – один из планов функций ДВО.
c) Определение категории абонентской линии.
Категория абонента должна удовлетворять следующим требованиям:
- Описывать категорию АОН.
- Обеспечивать доступ к разрешенным направлениям (транковым группам) при исходящей связи.
- Обеспечивать доступность для разрешенных входящих направлений (транковых групп) при входящей связи.
- Обеспечивать доступ к внутренним абонентам при внутренней связи.
Примечание. Для удобства работы со станцией делайте наименования объектов максимально информативными. Например, наименование категории доступа присваиваемой абонентам имеющим категорию АОН 1 может быть таким: «Абоненты, АОН1» - это позволит в дальнейшем облегчить использование категорий при конфигурировании станции.
d) Списочный номер абонента.
Списочный номер абонента назначается в зависимости от типа нумерации. При закрытой нумерации он должен содержать полный пятизначный номер, при открытой нумерации – сокращенный трехзначный номер абонента.
Списочный номер назначается либо при начальной установке платы, либо, черезконтекстное меню «Нумерация». Изменение нумерации можно осуществлять для нескольких портов одновременно.
e) Назначение категории ДВО.
Назначение категории ДВО происходит в окне редактирования свойств порта (см. b)).
Укажите одну из ранее определенных категорий ДВО. Необходимо заранее настроить все необходимые категории ДВО при планировании и запуске системы.
Ликвидировать абонентскую линию можно разными способами:
– ликвидация с удалением модуля 16АК – при удалении модуля удаляются все его порты (физическое удаление), а также освобождаются номера, занятые портами. Для физического удаления в разделе «Оборудование» указать тип модуля как «Нет» и ответить утвердительно на вопрос «Удалить плату?».
– запрет на обслуживание конкретного порта – в окне свойств порта поставить флажок «Отключен». Для освобождения номера необходимо, выбрав порт, вызвать окно «Нумерация» и выбрать «Удалить».
Любая из этих операций требует последующего полного переконфигурирования.
Для кратковременной блокировки можно воспользоваться разделом «Состояние портов» и, выбрав порт, из контекстного меню выбрать команду «Включить/выключить». Порт будет исключен из обслуживания до следующего перезапуска станции. Для снятия блокировки снова дать команду порту «Включить/выключить».
Для долговременного отключения используется флажок в окне свойств порта «Отключен».
Установка флажка исключает порт из обслуживания, сброс флажка – включает в обслуживание.
Для изменения режимов обслуживания абонентов служит раздел «Абоненты», где приведен список всех абонентов и краткое описание параметров обслуживания.
Вызовите окно редактирования свойств порта и измените категорию абонента, режимы обслуживания и другие параметры линии. По завершению редактирования свойств порта необходимо через контекстное меню дать команду «Записать», которая внесет изменения в текущую конфигурацию станции. При этом будет разорвано существующее соединение данного порта.
Дополнительные режимы сортировки по разным колонкам и быстрый поиск по номеру облегчают работу по настройке абонентских линий.
ЦАТС «МС240» позволяет иметь до 32 категорий дополнительных видов обслуживания («планов ДВО»). В каждой категории можно задать набор функций ДВО разрешенных данной категории. В каждый момент времени абонент имеет доступ только к функциям, разрешенным в его категории ДВО.
Управление доступом абонентов к функциям ДВО осуществляется с помощью категорий ДВО. Категории ДВО являются настраиваемыми и представляют собой наборы разрешений доступа к отдельным функциям.
Управлять доступом абонентов к функциям ДВО возможно двумя путями:
– Изменением категории ДВО абонента. При смене категории абонент получает доступ к тем функциям ДВО, которые разрешены вновь присвоенной категорией.
– Настройкой параметров категории ДВО. Такой способ повлияет на режим ДВО всех абонентов, которым присвоена выбранная для изменения категория.
Для изменения категории ДВО абонента в разделе «Абоненты» следует вызвать окно редактирования свойств нужного порта, изменить категорию ДВО, режим обслуживания и записать изменения в станцию.
Для изменения параметров категории ДВО в разделе «Конфигурация-> Категории-> Категории ДВО» выбрать категорию и вызвать окно редактирования. Настроить параметры категории и записать изменения в станцию.
Перечисленные выше процедуры предназначены для управления доступом абонентов к функциям ДВО. Кроме этого возможно прямое управление индивидуальными режимами ДВО абонентов.
Индивидуальные режимы ДВО абонентов могут быть установлены либо самими абонентами с помощью кодов доступа к функциям ДВО, либо с помощью программы PbxAdm в разделе «Конфигурация->Абоненты->Режимы ДВО». Программа PbxAdm позволяет редактировать начальные режимы ДВО абонентов, предназначенные для первоначальной настройки станции, и действующие режимы ДВО. Подробнее методика редактирования описана в документе «МС240. Руководство по эксплуатации. Часть 3. Программа конфигурирования и мониторинга».
Списочный номер абонентской линии назначается либо при конфигурировании аппаратного состава станции в момент установки нового модуля, либо в последствии через контекстное меню «Нумерация». Изменение нумерации может осуществляться для группы портов одновременно.
Выберите порт или группу портов для их последовательной нумерации. Правой кнопкой мыши вызовите контекстное меню, выберите пункт «Нумерация». Появится окно изменения нумерации. Введите начальный номер - в зависимости от количества выбранных портов будут вычислены все назначаемые номера и произведена их проверка на дублирование. В случае обнаружения конфликтующих номеров в дополнительном окне появится их перечень. Убедитесь в отсутствии конфликтов и нажмите «OK».
По окончании изменения нумерации перейдите в раздел «Нумерация->План нумерации» и сделайте полную проверку плана нумерации. Для этого нажмите кнопку «123» на панели инструментов. Если обнаружены конфликты нумерации, устраните их. Для того, чтобы изменения нумерации вступили в силу необходимо полное переконфигурирование и перезапуск станции.
В разделе «Состояния портов» имеется вся информация о текущих соединениях в ЦАТС.
Чтобы узнать, с кем связан абонент, выберите его порт щелчком мыши или подведите курсор. В дополнительном окне «Состояние порта» в строке «Порт Y» можно узнать порт, с которым установлено соединение.
Информацию только об активных соединениях можно узнать в разделе «Активные соединения», где приводится список всех активных соединений станции. Причем в установленных соединениях отображаются пара портов, буфер набора, текущая продолжительность соединения и текущее состояние.
Проверка абонентских линий необходима для контроля состояния линейных цепей и внутренних схем станции.
Процедура проверки включает:
– Проверку наличия посторонних напряжений на линейных проводах.
– Измерение внутренних питающих напряжений модуля.
– Измерение величины сопротивления изоляции между проводами и между проводами и землей.
– Измерение целостности проводов абонентской линии по признаку наличия емкости звонковой цепи.
Результаты тестирования комплектов запоминаются в отдельном журнале «Журнал тестирования», в котором запоминаются все измеренные характеристики и время проведения тестирования. Если в разделе «Состояния портов» выбрать абонентский порт, то в дополнительном окне «Состояние порта» будет выведена информация о последнем тестировании комплекта с указанием даты и времени проведения тестирования.
Управление проверкой абонентских линий осуществляется как вручную, так и автоматически по расписанию.
Для ручного запуска проверки одного комплекта в разделе «Состояние портов» выбрать порт и через контекстное меню выбрать пункт «Тестировать». Будет автоматически произведено тестирование порта.
Также можно запустить проверку всех портов на одной плате модуля 16АК, выбрав в контекстном меню команду «Тестировать слот». Порты начнут тестироваться по порядку, а результаты будут накапливаться в журнале. Остановить запущенную процедуру тестирования можно кнопкой «Стоп» на панели инструментов, либо в разделе «Журнал тестирования» кнопкой «Остановить».
Ручной запуск автоматического тестирования всех абонентских комплектов станции производится через пункт меню «Тестирование/Автотест портов».
Будет запущена процедура тестирования слота на каждом модуле 16АК, находящемся в системе.
При автоматическом тестировании проверяется состояние порта, и если порт занят в соединении, то тестирование переносится на более поздний срок. Если порт не освобождается до конца операции тестирования, то в «Журнал работы» вносится запись о невозможности тестирования порта и операция тестирования завершается.
Программу PbxAdm можно настроить на запуск автоматического тестирования по расписанию. Для этого нужно вызвать окно настройки через пункт меню «Тестирование/Параметры автотестирования…» и указать время, периодичность и продолжительность операции автоматического тестирования. Здесь также указывается список объектов, для которых необходимо проводить тестирование. Флажок «Использовать системный планировщик» позволяет операционной системе самостоятельно запускать программу PbxAdm в заданное время для проведения тестирования.
Результаты тестов будут накапливаться в «Журнале тестирования» для каждого объекта, а сообщения о невозможности тестирования и аварийных состояниях линии будут накапливаться в «Журнале работы».
3.5.2 Управление маршрутизацией и межстанционными каналами
Для описания направлений используется объект «Транковая группа», которая определяет то или иное направление. Доступ к портам, включенным в транковую группу, обычно осуществляется при помощи префиксов. Причем, в качестве префиксов может выступать как специальный номер для выхода на направление при открытой нумерации (например, «8» или «9»), так и первые цифры номеров внутризоновой связи при закрытой нумерации (например, «34» для выхода на «34ХХХ»). Для транковой группы также задается категория доступа, которая позволяет разрешать или запрещать различные виды связи для абонентов. Создавать, удалять и изменять свойства транковых групп позволяет раздел «Группы/Транковые группы», где приводится список всех созданных транковых групп.
Объектами, включенными в транковую группу, могут быть только порты соединительных линий (ИКМ, ТЧ). Объекты, включенные в одно направление (группу) должны обладать сходными режимами работы и сходной направленностью связи. Порядок выбора линии в пределах направления задается параметрами транковой группы.
Объектами, обеспечивающими доступ к направлениям, являются префиксы. Количество и параметры префиксов зависят от типа нумерации. При открытом типе нумерации это 1-2 дополнительных префикса для выхода на конкретное направление без передачи самого префикса в линию. При закрытом типе – первые цифры номеров абонентов внутризоновой связи с передачей самого префикса в линию, и префикс выхода на междугородную связь.
Изменение данных, относящихся к пучку линий.
Редактирование параметров транковой группы осуществляется в окне свойств группы. Редактируемые параметры:
a) Категория доступа – должна обеспечивать доступность/недоступность объектов группы к внутренним абонентам, обеспечивать достуность/недоступность абонентов к объектам группы.
1) Входящая связь:
- Фильтр набора – удаление первых заданных цифр при входящем наборе;
- Количество удаляемых цифр – удаление первых цифр при входящем наборе;
- Добавляемые цифры – добавляемые в начало номера цифры при входящем наборе;
2) Исходящая связь:
- Фильтр набора – удаление первых заданных цифр при исходящем наборе;
- Количество удаляемых цифр – удаление первых цифр при исходящем наборе;
- Добавляемые цифры – добавляемые в начало номера цифры при исходящем наборе;
b) Выбор транков – порядок поиска свободной линии в пучке (с первой,
последовательный, с учетом нагрузки).
В правой части окна редактирования параметров транковой группы отображается состав группы в виде списка линий, образующих группу. Изменение состава транковой группы производится путем установки параметра «Транковая группа» в параметрах соединительных линий.
Изменение системы сигнализации в рамках направления осуществляется путем изменения параметров сигнализации соединительных линий, образующих это направление. Параметры СЛ настраиваются в разделе «Оборудование».
Примечание. Для ускорения процесса настройки однотипных СЛ можно применить копирование параметров портов.
Для включения нового направления необходимо:
– Создать новую транковую группу в разделе «Группы->Транковые группы» и задать необходимые параметры (фильтры набора и проч.).
– Включить в состав вновь созданной транковой группы соединительные линии. Для этого настроить необходимое количество соединительных линий в разделе «Оборудование» и включить их в направление путем установки в параметрах этих линий параметра «Транковая группа».
– Создать новые или изменить существующие префиксы выхода для организации доступа к вновь созданному направлению.
– Особое внимание следует уделить параметру «Категория доступа» линий и транковой группы. Присвоенная им категория доступа должна обеспечивать взаимодоступность линий, транковой группы и абонентов. Для этого можно либо использовать уже определенные в конфигурации категории доступа, либо определить новую категорию.
Изменение использования линии.
0>














