48551 (588565), страница 3
Текст из файла (страница 3)
Способы пуска АД с короткозамкнутым ротором: прямой пуск, реакторный и автотрансформаторный.
2.4.1 Прямой пуск АД
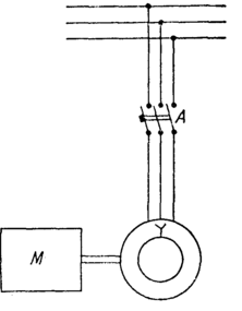
В настоящее время в связи со значительным ростом мощностей энергетических систем пуск в ход короткозамкнутых асинхронных двигателей в преобладающем большинстве случаев осуществляется очень простым способом (рисунок 2.6), а именно непосредственным включением в сеть.
В первый момент пуска, когда скорость вращающегося магнитного поля ω1 относительно неподвижного ротора (ω = 0) имеет наибольшую величину, в обмотке ротора будет наводиться значительная ЭДС, величина которой во много раз превышает номинальное значение при вращающемся роторе. Например, если при номинальной нагрузке двигателя скольжение составляет sном = 0,05, а ЭДС в роторе E2ном, то в начальный момент пуска при стоянке ротора, когда s = 1, т. е. в начальный момент пуска ЭДС, наводимая в роторе, будет в 20 раз больше, чем при номинальной нагрузке.
Соответственно значительно возросшей ЭДС ротора ток, создаваемый ею в роторе при пуске, также будет большим, превышающим номинальный в несколько (до восьми) раз. То обстоятельство, что кратность пускового тока в роторе меньше кратности ЭДС, объясняется увеличением реактивного сопротивления ротора при увеличении частоты тока, которая в начальный момент пуска достигает частоты статора.
Пусковой ток в обмотке статора при этом будет весьма значительным, превышающим в несколько раз номинальный. Современные двигатели с короткозамкнутым ротором имеют кратность пускового тока, составляющую 4-7 от номинального.
Поскольку большинство двигателей и приводимых ими механизмов имеет относительно небольшую инерцию, скорость двигателей при пуске достаточно быстро увеличивается до значения, соответствующего моменту нагрузки. Период пуска продолжается обычно не более нескольких секунд, вследствие чего пусковые токи статора и ротора не представляют опасности для двигателя, так как нагрев обмоток не успевает достигнуть опасных температур. Значение пускового момента находится в пределах 0,8-1,5 от номинального.
Рисунок 2.6 - Схема прямого пуска асинхронного короткозамкнутого двигателя
2.4.2 Реакторный и автотрансформаторный пуск АД
Недостаток прямого пуска: понижение напряжения сети из-за большого пускового тока Iп, если мощность двигателя соизмерима с мощностью сети.
Для уменьшения Iп и уменьшения падения напряжения сети, к двигателю подводится пониженное напряжение с помощью реактора или автотрансформатора.
При реакторном пуске в качестве пускового сопротивления обычно используется индуктивное сопротивление (реактор), включаемое на время пуска двигателя последовательно с обмоткой его статора.
Пуск осуществляется в следующем порядке. На первой стадии пуска подключается индуктивное сопротивление, после чего двигатель начинает вращаться. Когда скорость вращения достигает определенного значения, индуктивное сопротивление выключается (шунтируется) и к двигателю подается полное напряжение.
Если обозначить уменьшения тока Iп коэффициентом КI, то, при реакторном пуске пусковой момент двигателя уменьшаются в K2I раз.
Для понижения напряжения, подводимого к двигателю при пуске, можно использовать также автотрансформатор. Этот способ, как и предыдущий, требует специального пускового аппарата - автотрансформатора, который удорожает установку. Если обозначить через КА коэффициент трансформации автотрансформатора, то, как показывает подробный анализ, который здесь не приводится, при пуске этим способом пусковой ток в сети и пусковой момент двигателя уменьшаются в K2A раз. В этом случае величина пускового момента при прочих равных условиях будет больше, чем при реакторном пуске, что, безусловно, является преимуществом способа пуска короткозамкнутых асинхронных двигателей с помощью автотрансформатора.
2.5 Способы пуска АД с фазным ротором
В тех случаях, когда требуется большое значение пускового вращающего момента, используют асинхронные двигатели с фазным ротором.
Пуск этих двигателей осуществляется с помощью активных сопротивлений (реостатов), последовательно включаемых в цепь ротора (рисунок 2.7, а).
а) б)
Рисунок 2.7 - а) схема пуска асинхронного двигателя с фазным ротором, б) кривые зависимости вращающего момента от скольжения при различных значениях пусковых сопротивлений
Реактивное сопротивление ротора Х2 всегда больше его активного сопротивления, вследствие чего для увеличения пускового момента двигателя необходимо вводить в цепь ротора активное добавочное сопротивление. Благодаря этому активное сопротивление цепи ротора увеличивается, что приводит к снижению как величины тока ротора I2, так и пускового тока статора I1. Значит, при определенных условиях, несмотря на уменьшение тока I2, вращающий момент может даже увеличиться. Подключение двигателя к сети при сниженном пусковом токе, не будет вызывать резких изменений ее напряжения.
Для того чтобы величина момента при разгоне двигателя изменялась в меньших пределах и пуск проходил быстрее, пуск выполняют ступенчатым.
Двигатель с фазным ротором, пускаемый в ход с помощью ступенчатого пускового реостата, обладает хорошими пусковыми характеристиками, позволяющими сохранить за все время разбега большой пусковой момент, сокращая тем самым время разгона.
Пусковые реостаты обычно изготовляются трехфазными из металлической проволоки или ленты повышенного удельного сопротивления (нихром, фехраль). Величину сопротивления выбирают с таким расчетом, чтобы отношение пускового и номинального токов Iп/Iном было равно 2-2,5.
На рисунке 2.7, б изображены кривые зависимости вращающего момента от скольжения при различных значениях пусковых сопротивлений в процессе пуска асинхронных двигателей с фазным ротором.
2.6 Регулирование скорости АД с короткозамкнутым ротором
Изменение скорости вращения двигателей с короткозамкнутым ротором возможно при изменении частоты f1, U1 и числа пар полюсов р. К способам регулирования скорости предъявляются весьма высокие требования как в отношении их экономичности и надежности в работе, так и в отношении пределов и плавности регулирования.
2.6.1 Регулирование скорости изменением частоты питающей сети
Частота промышленных сетей f1 обычно постоянна и равна 50 Гц. Поэтому для изменения частоты питающей сети требуется применять преобразователь частоты. Следует иметь в виду, что при изменении частоты напряжения на зажимах, магнитный поток, ток холостого хода, вращающий момент, мощность и другие параметры машины в общем случае также не остаются постоянными. Механические характеристики при изменении частоты f1 и постоянном напряжении представлены на рисунке 2.8.
При регулировании скорости желательно сохранять перегрузочную способность, для этого необходимо одновременно и пропорционально изменять частоту и ЭДС обмотки статора или питающее напряжение U1, так как оно мало отличается от ЭДС. Этот способ позволяет обеспечить широкий диапазон плавного и экономичного регулирования скорости. Механические характеристики при этом способе регулирования скорости представлены на рисунке 2.9.
Рисунок 2.8 - Механические характеристики при различных частотах и неизменном напряжении
Рисунок 2.9 - Механические характеристики при пропорциональном изменении частоты и напряжения
2.6.2 Регулирование скорости изменением числа пар полюсов
Так как скорость вращения вращающегося поля ω1 = 60f1/p, при постоянном значении частоты сети f1 зависит только от числа пар полюсов этого поля, то, изменяя его, можно изменить также и скорость вращения ротора двигателя. Этот способ дает возможность регулировать скорость вращения асинхронного двигателя без таких больших потерь мощности, как при реостатном способе, что достигается за счет усложнения и удорожания конструкции машины.
Ввиду того, что число пар полюсов р может быть только целым числом, при переключении числа пар полюсов изменение скорости будет происходить ступенчато. Такие двигатели часто называются многоскоростными.
Разместив на статоре две отдельные обмотки (одну на р пар полюсов, а другую на p1 пар полюсов) и включая их поочередно, можно получить две скорости вращения поля, а следовательно, и две скорости вращения ротора. Отношение скоростей будет обратно пропорционально отношению числа пар полюсов.
Ротор двигателя при этом должен иметь короткозамкнутую обмотку, для которой число полюсов создаваемого поля всегда равно числу полюсов вращающегося поля обмотки статора.
Рисунок 2.10 - Изменение числа пар полюсов асинхронного двигателя переключением цепей обмотки статора: а - при большем числе полюсов; б - при числе полюсов в 2 раза меньшем
Более простым и дешевым является способ, при котором на статоре укладывается одна обмотка, позволяющая производить изменение числа пар полюсов обмотки статора. Увеличение или уменьшение пар полюсов, например, вдвое может быть произведено сравнительно просто. Для этого каждая фаза обмотки статора делится на две одинаковые части - полуобмотки и в одной из них изменяется направление тока.
На рисунке 2.10 показаны схемы обмотки статора при изменении числа пар полюсов в отношении 2:1.
Следовательно, при переключении числа пар полюсов могут быть изменены характеристики обмотки и индукция в воздушном зазоре.
Различными способами переключения числа пар полюсов можно осуществить работу двигателя в двух режимах: 1) сохраняя постоянство вращающего момента и изменение мощности пропорционально скорости вращения (переключение обмотки со звезды на двойную звезду); 2) сохраняя примерное постоянство мощности и изменение вращающего момента обратно пропорционально скорости вращения (переключение обмотки с треугольника на двойную звезду).
Асинхронные двигатели с переключением числа пар полюсов изготовляют в основном как двухскоростные и реже (небольшой мощности) как трех- и четырехскоростные. Трех- и четырехскоростные двигатели выпускают с двумя обмотками на статоре, причем одну из них или обе выполняют с переключением числа пар полюсов.
К недостаткам многоскоростных двигателей следует отнести их увеличенные размеры по сравнению с нормальными асинхронными двигателями и более высокую стоимость.
2.6.3 Регулирование скорости изменением напряжения источника питания
Диапазон регулирования скорости не большой и снижается с уменьшением нагрузки, так как максимальный момент, развиваемый двигателем, зависит от квадрата напряжения источника питания. Так при уменьшении напряжения в 2 раза, максимальный момент уменьшится в 4 раза. Способ целесообразно применять для двигателей с повышенным скольжением (мягкой характеристикой) иначе диапазон регулирования будет незначительным. Серийно выпускаются тиристорные и транзисторные регуляторы напряжения.
2.7 Регулирование скорости АД с фазным ротором
Для АД с фазным ротором используются следующие способы регулирования скорости: реостатный, изменением питающего напряжения, и введением добавочной ЭДС в цепь ротора.
Схема регулирования скорости вращения асинхронных двигателей с фазным ротором при помощи реостата в цепи ротора не отличается от схемы пуска, изображенной на рисунке 2.7, а.
Как это было показано выше (см. рисунок 2.7, б), увеличение активного сопротивления в цепи ротора делает механическую характеристику более пологой, что приводит к увеличению скольжения, а следовательно, к уменьшению скорости вращения.
Этот способ дает возможность регулировать скорость вращения в широких пределах от номинальной до полной остановки. Плавность регулирования скорости будет зависеть от числа ступеней.
Однако такой способ регулирования скорости неэкономичен, так как он связан с большими непроизводительными потерями энергии в реостатах.
Однако, несмотря на неэкономичность этого способа регулирования скорости вращения асинхронного двигателя, он довольно часто применяется на практике, в основном для регулирования скорости вращения двигателей небольшой мощности и при кратковременной работе на малых скоростях.
Также регулирование скорости можно получить путём одновременного ввода добавочного сопротивления в цепь ротора и понижением напряжения источника питания. При таком способе необходимо учесть, что максимальный момент уменьшается пропорционально квадрату напряжения, а также механическая характеристика становится мягче.
3. МАТЕМАТИЧЕСКИЕ МОДЕЛИ АСИНХРОННОЙ МАШИНЫ
3.1 Математическое описание обобщённой машины















