Глава 11.1.3 (559883), страница 5
Текст из файла (страница 5)
где Rч – сопротивление тела человека; Rсиз – сопротивление средств индивидуальной защиты; при их отсутствии Rсиз = 0.
При наличии заземления вследствие стекания тока на землю напряжение прикосновения уменьшается и, следовательно, ток, прохо
дящий через человека, оказывается меньше, чем в незаземленной установке. Чтоб напряжение на заземленном корпусе оборудования было минимальным, ограничивают сопротивление заземления. В установках в сетях с изолированной нейтралью напряжением до 1 кВ оно, как правило, должно быть не более 4 Ом. Если мощность источника питания не превышает 100 кВА, сопротивление заземления может быть в пределах 10 Ом3.
В качестве заземляющих устройств электроустановок в первую очередь должны быть использованы естественные заземлители. Возможно применение железобетонных фундаментов промышленных зданий и сооружений. При отсутствии естественных заземлителей допускается применение переносных заземлителей, например ввинчиваемых землю стальных труб, стержней, уголков. После заглубления в землю они должны иметь концы длиной 100...200 мм над поверхностью земли, к которым привариваются соединительные проводники. Категорически запрещается использовать в качестве заземлителей трубопроводы с горючими жидкостями и газами.
Зануление состоит в преднамеренном соединении металлических нетоковедущих частей оборудования, которые могут оказаться под напряжением вследствие пробоя изоляции, с нулевым защитным проводником (рис. 11.39). При замыкании любой фазы на корпус образуется контур короткого замыкания, характеризуемый силой тока весьма большой величины, достаточной для «выбивания» предохранителей в фазных питающих проводах. Таким образом электроустановка обесточивается. Предусматривается повторное заземление нулевого проводника на случай обрыва нулевого провода на участке, близком к нейтрали. По этому заземлению ток стекает на землю, откуда попадает в заземление нейтрали, по нему во все фазные провода, включая имеющий пробитую изоляцию, далее на корпус. Таким образом образуется контур короткого замыкания.
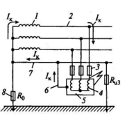
Рис. 11.38. Схема защитного заземления в сети с изолированной нейтралью:
1 – трансформатор; 2 – сеть; 3 – корпус токоприемника; 4 – обмотка электродвигателя; 5 – заземлитель; 6 – сопротивление заземления (условно)
Рис. 11.39. Схема зануления в трехфазной четырехпроводной сети с заземленной нейтралью:
1 – трансформатор; 2 – сеть; 3 – предохранитель; 4 – обмотка электродвигателя; 5 – корпус электродвигателя; 6 – зануляющий проводник; 7 – нулевой защитный проводник; 8 – сопротивление заземления нейтрали
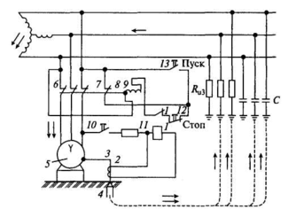
Рис. 11.40. Принципиальная схема устройства защитного отключения:
1 – реле максимального тока; 2 – трансформатор тока; 3 – проводник; 4 – заземлитель; 5 – электродвигатель; 6 – пускатель; 7 – блок-контакты; 8 – сердечник; 9 – катушка пускателя; 10, 12, 13 – кнопки, 11 – вспомогательное сопротивление
Защитное отключение электроустановок обеспечивается путем введения устройства, автоматически отключающего оборудование – потребитель тока при возникновении опасности поражения током. Схемы отключающих автоматических устройств весьма разнообразны. Во всех случаях система срабатывает на превышение какого-либо параметра в электрических цепях технологического оборудования (силы тока, напряжения, сопротивления изоляции). На рис. 11.40 представлена схема защитного отключения с использованием реле максимального тока.
Повышение электробезопасности достигается также путем применения изолирующих, ограждающих, предохранительных и сигнализирующих средств защиты.
Изолирующие электрозащитные средства делятся на основные и дополнительные. Основные изолирующие электрозащитные средства способны длительное время выдерживать рабочее напряжение электроустановки, и поэтому ими разрешается касаться токоведущих частей, находящихся под напряжением, и работать на этих частях. К таким средствам относятся: в электроустановках напряжением до 1000 В – диэлектрические резиновые перчатки, инструмент с изолирующими рукоятками и указатели напряжения до 1000 В (ранее назывались токоискателями); в электроустановках напряжением выше 1000 В – изолирующие штанги, изолирующие и электроизмерительные клещи, а также указатели напряжения выше 1000 В.
Дополнительные изолирующие электрозащитные средства обладают недостаточной электрической прочностью и поэтому не могут самостоятельно защищать человека от поражения током. Их назначение – усилить защитное действие основных изолирующих средств, вместе с которыми они должны применяться. К дополнительным изолирующим средствам относятся: в электроустановках напряжением до 1000 В – диэлектрические галоши, коврики и изолирующие подставки; в электроустановках напряжением выше 1000 В – диэлектрические перчатки, боты, коврики, изолирующие подставки.
Ограждающие средства защиты предназначены для временного ограждения токоведущих частей (временные переносные ограждения, щиты, ограждения-клетки, изолирующие накладки, изолирующие колпаки).
Сигнализирующие средства включают запрещающие и предупреждающие знаки безопасности, а также плакаты: запрещающие, предостерегающие, разрешающие, напоминающие. Чаще всего используется предупреждающий знак «Проход запрещен».
Предохранительные средства защиты предназначены для индивидуальной защиты работающего от световых, тепловых и механических воздействий. К ним относят: защитные очки, противогазы, специальные рукавицы и т.п.
1 Правила устройства электроустановок.
2 В отдельных случаях ПУЭ предусматривает устройство заземления при 12 В переменного и 30 В постоянного тока.
3 В сетях с глухозаземленной нейтралью ПУЭ задают величину сопротивления заземления отдельно для источников трехфазного и однофазного тока с учетом величины линейных сопротивлений. В первом случае это 660; 380 и 220 В, во втором – 380, 220 и 127 В
















