Лекции Паро- и газотурбинные установки эксперимент (539880), страница 7
Текст из файла (страница 7)
Рис. 4. Продольнообтекаемая камера термоэлектрического термометра с чувствительным элементом.
Целесообразность использования той или иной конструкции камеры диктуется ее возможностями. Многочисленными исследованиями установлено, что абсолютное значение температуры и число Re не влияет на величину Т. Определяющим является число М (или приведенная скорость ). В принципе, на каждый приемник для измерения температуры газового потока при больших скоростях должна выдаваться индивидуальная зависимость Т =
. При этом необходимо учитывать, что при Т 600 0К погрешность приемника определяется скоростной составляющей, а при Т 600 0К доля радиационных погрешностей может стать превалирующим.
Снятие электрического сигнала с термопреобразователя осуществляется:
для термопар
-
контактными винтами
-
штепсельными разъемами
-
наконечниками
для термометров сопротивления.
-
штепсельными разъемами
Соединение термоэлектрического термометра с измерительными приборами должно осуществляется компенсационными или медными проводами с термостатированием свободных концов. Соединения термометров сопротивления с измерительным прибором должно осуществляться по трехпроводной схеме соединения.
Измерение температуры на вращающихся элементах ГТУ.
Для оценки работоспособности ГТУ на всех режимах эксплуатации, при испытаниях возникает необходимость измерения температуры на вращающихся элементах (диски, лопатки, теплообменники…) Для этого наиболее удобными способами измерениями температуры являются способы с использованием термопар и термометров сопротивления. Для этих же целей могут применяться термоиндикаторные краски, и плавкие вставки. Краски могут быть также применены для определения температуры центральных участков дисков турбины, которые после остановки ГТУ нагреваются за счет тепловой отдачи периферийных участков до более высоких температур, чем во время работы.
Определение температуры рабочих колес с помощью термопар связано с использованием токосъемников для передачи термо эдс от вращающихся термопар к регистрирующему прибору.
Горячий спай термопары прикрепляется на диске или лопатке турбины в точке измерения. Термоэлектроды диаметром порядка 10,2 мм монтируются на диске и через вал турбины подводятся к токосъемнику, с помощью которого термо эдс передается на регистрирующий прибор. При этом термопары надежно изолируются асбестом и закрываются металлическими накладками. Свободные концы расположены в центре диска турбины или на поверхности соединительного вала. Место расположения свободных концов выбирается так, чтобы все концы термопар находились при одинаковой температуре и имели надежную электрическую изоляцию. Один канал токосъемника должен быть выделен для передачи термо эдс от термопары, измеряющей температуру свободных (холодных) концов. Иногда в целях увеличения количества точек измерения применяются одноэлектродные термопары, где вторым электродом служит материал диска или лопаток. Регистрирующий прибор постоянно соединен с диском проводником, а со вторым электродом его соединяет распределительное устройство, поочередно замыкая цепь каждой термопары.
Измерение поля температур газового потока.
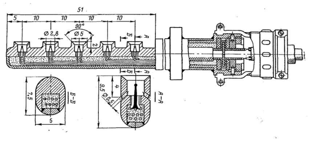
Для ГТУ характерны неравномерности поля температур и давлений по всему газо-воздушному тракту. При исследовании полей температуры особенное внимание уделяют турбине, камере сгорания и теплообменнику. Неравномерность температур в ряде случаев достигает 200 и более оС, что вынуждает производить большое количество измерений (20200 и более). Поле температур можно определить по крайней мере двумя методами. Во первых устанавливая в заданном сечение термо-приемники в необходимом количестве. Термоприемники объединяются при этом в гребенке термопар – рис. 5. Установка гребенок приводит к загромождению газового тракта. Количество гребенок можно уменьшать, переставляя их в новое положение в том же сечении, выдерживая прежний режим работы ГТУ (что достаточно сложно). Поле температур на выходе из ГТУ можно измерить, применяя технологичное поворотное (вращающееся) устройство с гребенками.
1
Рис. 5. Гребенка для измерения поля температур.
пщвопрщптщ
Погрешности контактного метода измерения температуры.
Погрешности контактного метода, в том числе и при измерении температуры газового потока до скорости 50 м/с, определяются прежде всего условиями теплообмена между окружающей средой и чувствительным элементом первичного термопреобразователя. В зависимости от конкретных условий теплообмен осуществляется за счет теплопроводности, конвекции и излучения. Погрешности измерения возникают из-за наличия теплопотерь, неплотности монтажа термопреобразователей и высокой инерционности термопар, а также других погрешностей, связанных с неправильным выбором и монтажом термопреобразователя.
Погрешности из-за влияния теплопроводности термопреобразователя зависит от условий измерений и применяемого средства измерений. Термопреобразователь может находиться полностью в исследуемой среде с другой температурой (например, при температуре окружающей среды). Для простейшей модели теплообмена, для случая когда арматура точечного термопреобразователя (термопары) заканчивается в стенке элемента ГТУ и теплообмен между арматурой и окружающей средой мал, погрешность от влияния теплопроводности t, 0С, определяется по формуле:
Где tu - температура исследуемой среды,
tn - температура по показаниям термометра,
t0 - температура выступающей части арматуры,
l - глубина погружения термопреобразователя, м
Здесь D – наружный диаметр арматуры термопреобразователя, м.
- площадь поперечного сечения арматуры, м2.
- коэффициент теплоотдачи от исследуемой среды к арматуре, (вт/м2 0С)
- коэффициент теплопроводности материала арматуры, (вт/м 0С)
Погрешность из-за влияния лучеиспускания среды на термопреобразователь возникает при измерении температур газовых сред при наличии вблизи точки измерения поверхностей, температура которых значительно отличается от температуры самого термопреобразователя. В установившемся тепловом режиме погрешность от лучеиспускания tu определяется по формуле:
где: Tu - температура исследуемой среды, 0К
Tn - температура по показаниям термометра, 0К
TT - температура поверхностей, отличающейся от температуры исследуемой среды (например стенки канала) 0К.
Е - степень черноты.
- коэффициент теплоотдачи от среды к термоприемнику.
Погрешность из-за неправильного положения термопреобразователя непосредственно зависит от теплопередачи исследуемой среды к термопреобразователю. Значительные погрешности измерения температуры (2-15%) возникают при монтаже термопреобразователя в местах малых скоростей и завихрений, в местах скопления конденсата, вблизи стенок и на массивной арматуре без теплоизоляции.
Погрешности, вызванные разогреванием поверхности термопреобразователя, возникают при измерениях температур в средах с большими скоростями (50-300 м/с). Эти погрешности tс определяется по формуле:
Tn - температура по показаниям прибора.
Tu - температура исследуемой среды.
r - коэффициент восстановления (0,7-0,9)
V - скорость потока м/с
g - ускорение м/с2
Сp - удельная теплоемкость.
Погрешность из-за инерционности термопреобразователя возникает при исследовании сред, температура которых изменяется во времени.
В случае скачкообразного изменения температуры среды время установления показаний определяется по формуле:
где: tн - начальная температура среды, 0С.
tк - конечная температура среды, 0С.
t - допустимая погрешность измерения температуры, 0C.
Т - показатель тепловой инерции термопреобразователя.
Основными источниками погрешности при измерении температуры с помощью термоэлектрических термометров (термопар) являются:
-
основная допускаемая погрешность термометров, определяемая классом точности прибора и погрешностью термопреобразователя
-
несоответствие характеристик удлинительных (компенсационных) проводов характеристике термопреобразователя.
Дополнительными источниками погрешностей термоэлектрического преобразователя в комплексе с пирометрическими милливольтметрами являются:
-
неправильный подбор сопротивления соединительных проводов (наличие систематической погрешности)
-
нестабильность температуры холодных спаев
-
изменение температуры окружающей среды
-
воздействие внешних электрических и магнитных полей.
Суммарная основная погрешность измерений температуры термопарами определяется по формуле:
где Т.п. - погрешность термопары
п - основная допустимая погрешность прибора
св - погрешность компенсации температуры свободных концов термопары при этом:
где: 1 - погрешность градуировки термопары
2 - погрешность, возникающая из-за применения удлинительных проводов.
i - погрешности, возникающие из-за нестабильности температуры свободных концов термопар, теплоотвода по арматуре и электродам, нестабильности термоэдс.
Составляющие i должны быть рассчитаны в каждом конкретном случае применения термопар. Принимается, что сумма этих составляющих не должна превышать суммы составляющих 1 и 2. Тогда:
















