Лабораторная работа_14 (1273858)
Текст из файла
МОСКОВСКИЙ ЭНЕРГЕТИЧЕСКИЙ ИНСТИТУТ
(ТЕХНИЧЕСКИЙ УНИВЕРСИТЕТ)
кафедра Общей Физики и Ядерного Синтеза
Лаборатория Механики и Молекулярной физики
Лабораторная работа №14
Определение коэффициента теплопроводности воздуха методом нагретой нити
Группа: ТФ-07-10
Студент: Шинарев Р.А.
Преподаватель:________________
К работе допущен:_____________
Работу выполнил:______________
Дата выполнения работы:________
Работу сдал:___________________
Москва
2011
Цель работы — изучение основных закономерностей переноса тепла в газах за счет теплопроводности; экспериментальное определение коэффициента теплопроводности воздуха модифицированным методом нагретой нити.
1. Теоретические основы работы
Теплопроводность — молекулярный перенос теплоты в сплошной среде, обусловленный наличием градиента температуры. Теплопроводность обычно приводит к выравниванию температуры и установлению равновесного состояния.
Если же разность температур поддерживать неизменной, то имеет место стационарное неравновесное состояние, при котором теплота переносится непрерывно. В сплошной изотропной среде вектор плотности теплового потока
связан с градиентом температуры
законом Фурье:
где коэффициент пропорциональности
, называется коэффициентом теплопроводности среды.
Тогда тепловой поток, то есть количество теплоты, проходящее в единицу времени через произвольную поверхность
, определяется соотношением
где
— единичный вектор, направленный по нормали в каждой точке поверхности
.
Коэффициент теплопроводности
— физическая величина, характеризующая интенсивность процесса теплопроводности и численно равная плотности теплового потока вследствие теплопроводности при градиенте температуры, равном единице.
Теплопроводность — свойство данного вещества. Зависит от агрегатного состояния вещества, температуры и давления.
Из молекулярно-кинетической теории идеального газа следует, что теплопроводность осуществляется в результате непосредственной передачи энергии от молекул, обладающих большей энергией, к молекулам, обладающим меньшей энергией. Теоретическое значение
, может быть рассчитано по формуле
Здесь
— плотность газа;
— средняя скорость теплового движения молекул;
— средняя длина свободного пробега молекул;
— удельная теплоемкость газа при постоянном объеме. Для идеального газа можно записать:
где
— масса молекулы газа;
— постоянная Больцмана;
— концентрация газа;
— эффективное сечение столкновений молекул. Подставив выражения для средней скорости и средней длины свободного пробега молекул в формулу (2), получаем:
Для реальных газов коэффициент теплопроводности с увеличением температуры растет быстрее, чем это следует из (3). Это связано с увеличением
су и уменьшением
с ростом температуры. Из опытов следует, что для многих газов
где
принимает значения от 0,7 до 1.
Постановка задачи. Метод измерения и расчетные соотношения
Определить экспериментально коэффициент теплопроводности воздуха при различных значениях температуры, используя модифицированный метод нагретой нити.
Основная проблема при измерении коэффициента теплопроводности связана с тем, что теплопроводность зависит от температуры, тогда как сам процесс переноса тепла возможен только при наличии градиента температуры. Поэтому не ясно, к какой температуре надо отнести полученные результаты.
Н. Блейс и И. Манн предложили метод, в котором теплопроводность определяется по изменению температурной зависимости тепловой мощности, выделяемой нагретой нитью при постоянной температуре внешней холодной стенки (модифицированный метод нагретой нити).
Пусть вдоль оси цилиндрической трубки радиусом
натянута нить радиусом
и длиной
. Нить нагревается до температуры
, которая может меняться в процессе эксперимента. Температура стенки цилиндрической трубки
поддерживается постоянной. Чтобы получить расчетную формулу необходимо решить стационарную задачу теплопроводности в цилиндрическом слое с внутренним радиусом
и внешним
.
Используя (1) в цилиндрических координатах, запишем выражение для потока энергии
, рассеиваемой нитью за счет теплопроводности через цилиндрическую поверхность произвольного радиуса
и длиной
:
Разделяя переменные и интегрируя (5) по радиусу от нити стенки, получаем:
Считая температуру стенки
постоянной и дифференцируя по переменному верхнему пределу
, получаем:
Как известно, дифференцирование интеграла по верхнему пределу дает значение подынтегральной функции при значении аргумента, равном значению верхнего предела. В соответствии с этим получаемые по формуле (7) значения теплопроводности относятся к температуре нити
.
Таким образом, можно сказать, что при нагреве нити изменение (прирост) мощности, рассеиваемой нитью, определяется только теплопроводностью слоя газа, прилегающего к нити.
Для определения коэффициента теплопроводности по формуле (7) необходимо знать экспериментальную зависимость мощности, рассеиваемой нитью за счет теплопроводности, от температуры нити
.
2. Описание экспериментальной установки
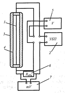
Вольфрамовая нить 1, нагреваемая постоянным током от универсального блока питания (УБП) 2, натянута вдоль оси симметрии цилиндрического стеклянного баллона с двойными стенками 3 (рис.1). Между стенками баллона залита вода, которая поддерживает температуру трубки 4 практически постоянной благодаря своей высокой теплоемкости. Напряжение на нити
измеряется цифровым вольтметром 5. Разность потенциалов на образцовом резисторе 6 измеряется милливольтметром 7 (вольтметр 5 и милливольтметр 7 могут быть совмещены в одном приборе — мультиметре).
Будем считать, что вся электрическая мощность, подводимая к нити, рассеивается за счет теплопроводности воздуха. Тогда
где
— падение напряжения на нити;
— сила ток в ней. Сила тока в нити определяется по падению напряжения на образцовом резисторе:
Рис. 1. Схема экспериментальной установки
Температура нити определяется по ее электрическому сопротивлению. Известно, что сопротивление проволоки зависит от температуры, причем для не очень больших интервалов температур эта зависимость носит линейный характер
Отсюда
где
— сопротивление нити при
;
— сопротивление нити при температуре опыта;
— температурный коэффициент сопротивления материала нити.
При выводе расчетной формулы для коэффициента теплопроводности не учитывается ряд явлений, сопровождающих процесс теплопередачи: излучение, осевой отвод теплоты, конвективный перенос тепла от нити к стенке трубки, неидеальность геометрии и т.д., что приводит к методической погрешности определения коэффициента теплопроводности около 10 %.
3. Порядок выполнения работы.
-
Запишите данные установки и заполните табл. 1 спецификации измерительных приборов.
-
Поверните ручку регулятора напряжения УБП против часовой стрелки до упора.
-
Включите электропитание стенда, вольтметра и милливольтметра (мультиметра) и УБП.
-
Контролируя напряжение
вольтметром 5 (в случае использования мультиметра — переключатель должен находиться в положении
), ручкой регулятора напряжения установите его равным приблизительно 2 В. Запишите значение
в табл. 2. -
Через три минуты произведите отсчет напряжения на образцовом резисторе по милливольтметру 7 (в случае использования мультиметра — переключатель должен находиться в положении
), запишите значение
в табл. 2. -
Повторите пп. 4 и 5 для значений
, близких к 3 В; 4 В; 5 В; 6 В. Запрещается подавать на нить напряжение свыше 6 В. -
По окончании измерений сначала выключите УБП, затем измерительные приборы. Отключите стенд.
Спецификация измерительных приборов
Таблица 1
| Название прибора и его тип | Пределы измерения | Цена деления | Инструментальная погрешность |
Данные установки
Характеристики
Тип файла документ
Документы такого типа открываются такими программами, как Microsoft Office Word на компьютерах Windows, Apple Pages на компьютерах Mac, Open Office - бесплатная альтернатива на различных платформах, в том числе Linux. Наиболее простым и современным решением будут Google документы, так как открываются онлайн без скачивания прямо в браузере на любой платформе. Существуют российские качественные аналоги, например от Яндекса.
Будьте внимательны на мобильных устройствах, так как там используются упрощённый функционал даже в официальном приложении от Microsoft, поэтому для просмотра скачивайте PDF-версию. А если нужно редактировать файл, то используйте оригинальный файл.
Файлы такого типа обычно разбиты на страницы, а текст может быть форматированным (жирный, курсив, выбор шрифта, таблицы и т.п.), а также в него можно добавлять изображения. Формат идеально подходит для рефератов, докладов и РПЗ курсовых проектов, которые необходимо распечатать. Кстати перед печатью также сохраняйте файл в PDF, так как принтер может начудить со шрифтами.
















