Лабораторная работа _2 (1273855)
Текст из файла
МОСКОВСКИЙ ЭНЕРГЕТИЧЕСКИЙ ИНСТИТУТ
(ТЕХНИЧЕСКИЙ УНИВЕРСИТЕТ)
кафедра Общей Физики и Ядерного Синтеза
Лаборатория Механики и Молекулярной физики
Лабораторная работа №2
ИЗУЧЕНИЕ ДИНАМИКИ ПОСТУПАТЕЛЬНОГО ДВИЖЕНИЯ ТВЕРДОГО ТЕЛА ПО НАКЛОННОЙ ПЛОСКОСТИ
Группа: ТФ-07-10
Студент: Шинарев Р.А.
Преподаватель:________________
К работе допущен:_____________
Работу выполнил:______________
Дата выполнения работы:________
Работу сдал:___________________
Москва
2011
Цель работы — изучение динамики поступательного движения твердого тела, экспериментальное определение коэффициента трения скольжения, определение динамических характеристик системы при движении тела с ускорением.
1. Теоретические основы работы
Поступательное движение твердого тела сводится к движению тела — материальной точки. Пусть брусок малых размеров (модель материальной точки) массой т находится на наклонной плоскости с углом при основании α (рис. 1). На брусок действуют сила тяжести тg — со стороны Земли, сила нормальной реакции опоры N и сила трения Fтр — со стороны наклонной плоскости. Под действием этих сил брусок может покоиться или скользить по наклонной плоскости.
Если брусок находится в состоянии покоя, то
или в данном случае
Рис.1. Брусок на наклонной плоскости
В проекции на ось Х уравнение (1) принимает вид
где
— угол при основании наклонной плоскости.
Тогда
равна проекции внешней силы
на ось X:
Если изменять угол
при основании наклонной плоскости, то при некотором предельном значении угла
брусок начнет скользить. При этом сила трения покоя принимает свое максимальное значение, равное силе трения скольжения
В свою очередь модуль силы трения скольжения определяется выражением
где
— коэффициент трения,
— сила нормальной реакции опоры. Направление
всегда противоположно скорости движения тела.
Коэффициент трения скольжения
зависит от материалов трущихся тел, механической обработки поверхностей, от внешних факторов (температуры, влажности).
Скольжение бруска в соответствии со вторым законом Ньютона описывается уравнением
которое в проекции на ось Y (рис. 1) дает
Тогда выражение для модуля силы трения скольжения принимает следующий вид:
На рис. 2 представлена зависимость силы трения покоя и скольжения от угла а при основании наклонной плоскости.
Рис.2. Зависимости
в функции от угла
При 0 <
<
на брусок действует сила трения покоя, определяемая законом синуса в соответствии с выражением (2). При
начинается скольжение бруска. При этом на него начинает действовать сила трения скольжения, определяемая в соответствии с (4) законом косинуса. При этом
или
Отсюда получаем связь между углом
и коэффициентом трения скольжения
где
— угол наклона плоскости, при котором начинается скольжение бруска.
Рассмотрим систему брусок—груз (3), представленную на рис. 3.
Здесь движение бруска 2 происходит под действием груза 3, который связан с бруском нитью 4, переброшенной через блок 5. При определенном соотношении между массами бруска и груза, угла при основании наклонной плоскости а и коэффициента трения скольжения
брусок будет двигаться вверх по наклонной плоскости с ускорением
. Найдем это соотношение.
Движение системы брусок—груз по наклонной плоскости описывается вторым законом Ньютона применительно к обоим телам.
Рис. 3. Система наклонная плоскость—брусок—груз
Для груза:
где
— сила натяжения нити, действующая на нить;
— ускорение груза.
В проекции на ось Y2 это уравнение имеет вид:
Для бруска:
где
— сила натяжения нити, действующая на брусок;
— ускорение бруска;
— сила трения скольжения. В проекциях на оси Х1 и Y1 получаем:
В предположении, что нить и блок не обладают массой, а также нить нерастяжима можно записать:
Решая совместно систему уравнений (6)—(9), а также, учитывая, что
, можно получить формулу для расчета коэффициента трения из опытов по скольжению бруска по наклонной плоскости:
Ускорение
системы брусок—груз рассчитываем по данным эксперимента, измерив расстояние h, пройденное грузом 3 и время
движения системы
2. Описание экспериментальной установки
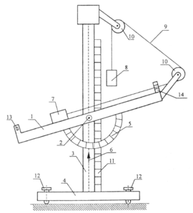
Схема экспериментальной установки приведена на рис. 4.
Наклонная плоскость 1 изготовлена из трубы прямоугольного сечения, которая с помощью винтового зажима 2 крепится на вертикальной стойке 3, жестко связанной с массивной опорой 4. Наклонная плоскость 1 может поворачиваться относительно горизонтальной оси и фиксироваться зажимом 2. Угол наклона наклонной плоскости к горизонту определяется по угловой шкале 5, с помощью стрелки 6, закрепленной на стойке 3. Брусок 7 может перемещаться по наклонной плоскости «свободно» или, под действием сил, включая силу натяжения нити, если брусок связан нитью 9 с грузом 8.
Рис. 4. Схема установки
Связь бруска и груза посредством нити осуществляется с помощью системы блоков 10. На стойке 3 закреплена вертикальная линейка 11 с миллиметровой шкалой, служащая для измерения перемещения груза 8. Регулировочные винты 12 служат для установки опоры 4 в горизонтальном положении. Захват 13 предназначен для удержания системы грузов в исходном состоянии и для ее запуска. Стопор 14 служит для ограничения движения грузов.
3. Порядок выполнения работы
Заполните табл. 1 спецификации измерительных приборов. Внесите в протокол данные установки.
Таблица 1
Спецификация измерительных приборов
| Название прибора и его тип | Пределы измерения | Цена деления | Инструментальная погрешность |
| Секундомер | |||
| Транспортир | |||
| Линейка |
Данные установки:
Массы брусков и груза:
Задание 1.
Определение значения коэффициента трения скольжения по углу
. Изменяя угол наклона плоскости к горизонту, фиксируется такое значение
, при котором тело начинает скользить по наклонной плоскости. При этом значение коэффициента трения скольжения рассчитывается по формуле (5).
-
Медленно увеличивая угол при основании наклонной плоскости, определите такое значение угла, при котором брусок массой
начинает соскальзывать с наклонной плоскости. Значение этого предельного угла
занесите в табл. 2. -
Верните систему в исходное положение, соответствующее п. 2.
-
Проделайте такой же опыт еще два раза с тем же бруском массой
по нахождению углов
и
согласно действию, описанному в п. 3. Значение углов
и
занесите в табл. 2. -
Положите на брусок
дополнительную массу
. Тогда общая масса системы, находящейся на наклонной плоскости равна -
Пункты 2—5 повторите для системы массой М. Результаты внести в табл. 2.
Таблица 2
Задание 2.
Определение значения коэффициента трения из опытов по скольжению бруска по наклонной плоскости. Опыты проводятся в соответствии с схемой, представленной на рис.3. Для заданных масс бруска
и груза
подбираются такие углы
при которых система движется ускоренно. Измеряется время движения системы и расстояние, пройденное телами системы. Коэффициент трения скольжения рассчитывается по формуле (10) с учетом соотношения (11).
-
Установите наклонную плоскость под углом
к горизонту. Значение угла занесите в табл.3. -
Поставьте на наклонную плоскость брусок массой
и свяжите его нитью через систему блоков с грузом массой
-
Приведите систему грузов в начальное положение. Для этого сместите брусок массой
налево так, чтобы он был закреплен в захвате (13). -
Измерьте положение нижнего торца груза массой
по шкале линейки, и запишите соответствующее значение координаты
в табл. 3. -
Нажав на захват, освободите брусок, одновременно включите секундомер. Выключите секундомер, когда груз, опускаясь, достигнет своего нижнего положения. Измеренное время
запишите в табл. 3. -
Измерьте координату
, соответствующую нижнему положению нижнего торца груза по шкале линейки и занесите координату
в табл. 3. Значения координат
и
в дальнейших опытах по измерению времени остаются неизменными для данного угла наклонной плоскости к горизонту
. -
Верните систему в исходное положение. Для этого плавно без рывков переместите брусок массой
по наклонной плоскости и закрепите его в захвате. -
Эксперимент по определению времени
проделайте еще 4 раза. Результаты измерения времени
запишите в табл. 3. -
Установите наклонную плоскость к горизонту под углом
. Значение угла внесите в табл. 4.
Таблица 3
Характеристики
Тип файла документ
Документы такого типа открываются такими программами, как Microsoft Office Word на компьютерах Windows, Apple Pages на компьютерах Mac, Open Office - бесплатная альтернатива на различных платформах, в том числе Linux. Наиболее простым и современным решением будут Google документы, так как открываются онлайн без скачивания прямо в браузере на любой платформе. Существуют российские качественные аналоги, например от Яндекса.
Будьте внимательны на мобильных устройствах, так как там используются упрощённый функционал даже в официальном приложении от Microsoft, поэтому для просмотра скачивайте PDF-версию. А если нужно редактировать файл, то используйте оригинальный файл.
Файлы такого типа обычно разбиты на страницы, а текст может быть форматированным (жирный, курсив, выбор шрифта, таблицы и т.п.), а также в него можно добавлять изображения. Формат идеально подходит для рефератов, докладов и РПЗ курсовых проектов, которые необходимо распечатать. Кстати перед печатью также сохраняйте файл в PDF, так как принтер может начудить со шрифтами.
















