Лабораторная работа_3 (1273856)
Текст из файла
МОСКОВСКИЙ ЭНЕРГЕТИЧЕСКИЙ ИНСТИТУТ
(ТЕХНИЧЕСКИЙ УНИВЕРСИТЕТ)
кафедра Общей Физики и Ядерного Синтеза
Лаборатория Механики и Молекулярной физики
Лабораторная работа №3
Определение силы сопротивления грунта при забивке сваи на модели копра
Группа: ТФ-07-10
Студент: Шинарев Р.А.
Преподаватель:________________
К работе допущен:_____________
Работу выполнил:______________
Дата выполнения работы:________
Работу сдал:___________________
Москва
2011
Цель работы – изучение законов сохранения импульса и энергии, определение средней силы сопротивления грунта при забивке свои на модельной установке.
-
Теоретические основы работы
Копер – строительная машина, которая предназначена для забивания свай в грунт. Груз 1 (рис. 1) и свая 2 удерживаются в вертикальном положении с помощью направляющей колонны 3. Груз поднимают на некоторую высоту H и затем отпускают. После абсолютно неупругого удара груза о сваю происходит их совместное перемещение, при этом свая погружается в грунт. Для каждого удара погружение сваи зависит от высоты, с которой начинает падать груз, соотношения масс свои и груза, средней силы сопротивления грунта.
Рис. 1. Схема взаимодействия системы груз-свая-грунт
Рассмотрим механические процессы, происходящие в такой системе с точки зрения законов сохранения энергии и импульса. Первый процесс – падение груза массой
в однородном поле силы тяжести с высоты H относительно сваи.
При движении груза на него действует только потенциальная сила тяжести. Поэтому механическая энергия системы груз – Земля сохраняется (изменение механической энергии равна нулю)
или
Отсюда скорость груза непосредственно перед ударом
Второй процесс – абсолютно неупругое взаимодействие груза и сваи. В результате груз и свая начинают двигаться как единое целое со скоростью
. Поскольку внутренние силы взаимодействия между грузом и сваей оказываются намного больше внешних сил, действующих на тела системы (силы тяжести, сила реакции опоры на сваю со стороны Земли) и при этом время удара очень мало, то можно считать, что в процессе взаимодействия до момента начала движения свои импульса системы сохраняется. В проекции на ось Y закон сохранения импульса имеет вид:
откуда скорость совместного движения системы груз-свая сразу после удара
Третий процесс – погружение сваи с грузом в грунт на расстояние S. При этом перемещение на сваю со стороны грунта действует непотенциальная сила сопротивления грунта, направленная против перемещения. Поэтому изменение полной механической энергии системы равно работе силы сопротивления
где
- работа сил сопротивления грунта.
Если принять, что в процессе погружения на сваю действует постоянная средняя сила сопротивления грунта, то уравнение (3) приобретает вид
где
– средняя сила сопротивления грунта.
Отсюда, с учетом (1) и (2), получаем
Используя полученное соотношение, измерив в опытах H и S, можно экспериментально определить среднюю силу сопротивления грунта.
В процессе абсолютно неупругого удара часть механической энергии переходит в тепло, которое определяется разностью кинетической энергии системы до и после
удара
Относительные потери механической энергии при этом определяются выражением:
-
Описание экспериментальной установки
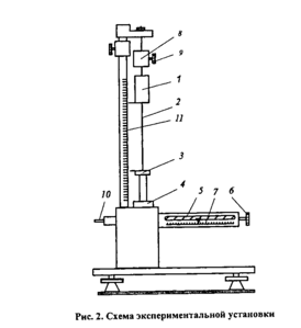
Схема экспериментальной установки изображена на рис. 2.
Рис. 2. Схема экспериментальной установки
Модель копра состоит из груза 1, который может перемещаться по вертикальной направляющей 2, и сваи 3. Свая может скользить в имитирующей грунт разрезной втулке 4. Сила трения между сваей и втулкой создается за счет силы нормального давления N на одну из половин втулки со стороны пружины 5. Усилие пружины регулируется с помощью винта 6 и измеряется по шкале 7 динамометра. Для удержания груза 1 на некоторой высоте над сваей используется механический фиксатор 8, который можно перемещать по вертикали и закреплять в нужном положении стопорным винтом. Для закрепления груза его поднимают до срабатывания защелки фиксатора. Освобождение груза производиться нажатием пусковой кнопки 9 фиксатора. Свая 3 может быть легко освобождена от нагрузки с помощью рычага 10. Координаты груза и сваи до и после удара изменяются по шкале линейки 11 с помощью указателей, прикрепленных к грузу и свае.
-
Порядок выполнения работы
-
Заполните табл. 1 спецификации измерительных приборов и запишите данные установки.
-
Отжав рычаг 10, поднимите сваю в крайнее верхнее положение. Определите по указателю сваи и линейке начальное положение сваи
(см. рис.1) -
С помощью регулировочного винта 6 установите некоторое значение силы нормального давления
на втулку 4 (по согласованию с преподавателем). Запишите значение силы нормального давления
в табл.2. -
Подберите наибольшую высоту падения груза таким образом, чтобы после удара свая не полностью вошла в обойму втулки. Зафиксируйте груз в этом положении с помощью защелки 8.
-
Запишите значение
, соответствующее положению указателя груза в верхней точке. Разность показаний
дает высоту груза относительно сваи (см. рис.1). -
Нажмите на пусковую кнопку 9 фиксатора груза. После соударения груза со сваей измерьте конечное положение указателя сваи
(см.рис.1). Значение перемещения сваи
запишите в табл.2. -
Измерьте перемещение сваи при ударе для заданного значения силы нормального давления повторите 4 раза.
-
С помощью винта 6 (рис.2) увеличьте силу нормального давления на сваю и проведите вторую серию из пяти измерений. Начальное положение сваи
и высоту падения груза H оставьте прежними.
Таблица 1
| Название прибора и его тип | Пределы измерений | Цена деления | Инструментальная погрешность |
Данные установки
Начальное положение указателя сваи
Таблица 2
Измерение перемещения сваи после соударения
-
Обработка результатов измерений
-
Для каждой серии измерений рассчитайте среднее значение
перемещения сваи. -
По формуле (5) рассчитайте среднюю силу сопротивления при движении свои в грунте. Расчет производите для двух серий измерений.
-
Рассчитайте абсолютную погрешность
. Запишите результаты измерений
с учетом погрешности в стандартной форме.
-
Рассчитайте относительные потери механической энергии.
Характеристики
Тип файла документ
Документы такого типа открываются такими программами, как Microsoft Office Word на компьютерах Windows, Apple Pages на компьютерах Mac, Open Office - бесплатная альтернатива на различных платформах, в том числе Linux. Наиболее простым и современным решением будут Google документы, так как открываются онлайн без скачивания прямо в браузере на любой платформе. Существуют российские качественные аналоги, например от Яндекса.
Будьте внимательны на мобильных устройствах, так как там используются упрощённый функционал даже в официальном приложении от Microsoft, поэтому для просмотра скачивайте PDF-версию. А если нужно редактировать файл, то используйте оригинальный файл.
Файлы такого типа обычно разбиты на страницы, а текст может быть форматированным (жирный, курсив, выбор шрифта, таблицы и т.п.), а также в него можно добавлять изображения. Формат идеально подходит для рефератов, докладов и РПЗ курсовых проектов, которые необходимо распечатать. Кстати перед печатью также сохраняйте файл в PDF, так как принтер может начудить со шрифтами.
















