Tong hop cemina (1254556), страница 24
Текст из файла (страница 24)
Значение коэффициента сезонности по табл.1 для зоны 3 равно Км = 1,5.
Отсюда Rо.в = 0,003*10*10³*1,5 = 45 Ом.
Далее приняв отношение a/l = 1
(a = 5 - расстояние между заземлителями;
l = 5 - длина заземлителя)
по табл.2 определяем для n=20 коэффициент использования ηв = 0,47. Находим суммарное сопротивление всех электродов по формуле.
Отсюда Rв = 45/(20*0,47) = 4,8 Ом.
Протяженность заземлителя lг = (n - 1)*a = 19*5 = 95м. Далее для сопротивления (в Омах) горизонтального заземлителя R ́г по формуле
,
где ρ - удельное сопротивление грунта, Ом*см;
Км - коэффициент сезонности по табл.1;
lг - длина горизонтального заземлителя, см;
b - ширина полосового заземлителя, см;
t - глубина его заложения, см.
(Если вместо круглого стержня используется угловая сталь, то d = 0,95b,
где b - ширина полок уголка.)
находим сопротивление горизонтального заземлителя Rг = 6,102.
Далее по формуле
определяем сопротивление соединительной полосы Rг с учетом экранирования. Из табл. 2 берем ηг = 0,27 для ранее принятых значений n = 20 и a/l = 1. Посчитав, получим Rг = 22,6 Ом.
И, наконец, находим по формуле
сопротивление нашего заземлителя из нескольких электродов, соединенных полосой,
растеканию тока.
Получим
,
что меньше минимально необходимой величины 4 Ом.
В заключение следует сказать, что подобная задача решается подбором материала и его количеством. Поэтому, если у вас величина получившегося контура получилась больше необходимого значения, следует взять стальные прутья или уголки большей длины и/или большего количества и снова пересчитать до получения необходимого результата
ЗАЩИТНОЕ ЗАНУЛЕНИЕ
Защитное зануление - преднамеренное электрическое соединение с нулевым защитным проводником металлических нетоковедущих частей, которые могут оказаться под напряжением.
Нулевым защитным проводником называется проводник, соединяющий зануляемые части с глухозаземленной нейтральной точки обмотки источника тока. Этот проводник следует отличать от нулевого РАБОЧЕГО проводника, который тоже соединен с глухозаземленной нейтральной точкой источника тока, но предназначен для питания током электроприемников, т.е. по нему проходит рабочий ток.
Принцип действия зануления – превращение замыкания на корпус в однофазное КОРОТКОЕ ЗАМЫКАНИЕ, т.е. замыкание между фазным и нулевым проводами с целью создания БОЛЬШОГО ТОКА, способного обеспечить срабатывание ЗАЩИТЫ и тем самым ОТКЛЮЧИТЬ поврежденную установку от питающей сети.
ЗАЩИТОЙ являются плавкие предохранители или автоматические выключатели , устанавливаемые перед потребителями энергии для защиты от токов короткого замыкания.
Скорость отключения составляет
при защите плавкими предохранителями - 5-7 с
и при защите автоматами - 1-2 с .
Область применения ЗАНУЛЕНИЯ
- трехфазные ЧЕТЫРЕХПРОВОДНЫЕ сети напряжением до 1000 В с ГЛУХОЗАЗЕМЛЕННОЙ НЕЙТРАЛЬЮ, обычно в широко распространенных в машиностроении сетях напряжением 380/220 В.
Схема зануления требует наличия в сети:
- нулевого защитного проводника, предназначенного для создания для тока короткого замыкания цепи с малым сопротивление, чтобы этот ток был достаточен для БЫСТРОГО срабатывания защиты (отключения установки от сети);
По ПУЭ, чтобы обеспечить достаточный ток короткого замыкания, проводимость нулевого защитного проводника должна быть не меньше ПОЛОВИНЫ ПРОВОДИМОСТИ ФАЗНОГО ПРОВОДА.
- заземления нейтрали источника тока, предназначенного для снижения до безопасного значения напряжения относительно земли нулевого проводника (и всех присоединенных к нему корпусов) при случайном замыкании фазы на землю;
По ПУЭ, сопротивление заземления нейтрали источника тока должно быть не больше 8 Ом при напряжении 220/127В, 4 Ом – при 380/220 В и 2 Ом – при 660/380 В.
- повторного заземления нулевого проводника , предназначенного для уменьшения опасности поражения людей током, возникающей при обрыве этого проводника и замыкании фазы на корпус за местом обрыва.
ЗАЩИТНОЕ ОТКЛЮЧЕНИЕ
Защитное отключение (устройства защитного отключения - УЗО) - быстродействующая защита, обеспечивающая автоматическое отключение электроустановки при возникновении в ней опасности поражения током, в частности, при - замыкании фазы на корпус электрооборудования, - снижении сопротивления изоляции фаз относительно земли ниже определенного предела, - появлении в сети более высокого напряжения, - прикосновении человека к токоведущей части, находящейся под напряжением.
Принцип действия. - изменение до известных пределов любого их этих параметров электрической сети служит ИМПУЛЬСОМ, вызывающим СРАБАТЫВАНИЕ УЗО, в результате которого происходит отключение опасного участка сети (или электроустановки) за время не более 0,2 с.
Основными частями УЗО являются:
- прибор защитного отключения , содержащий
*датчик , воспринимающий изменение параметра и преобразующий его
в управляющий сигнал,
*усилитель,
*цепи контроля , регулярно проверяющие исправность схемы,
*вспомогательные элементы - сигнальные лампы, измерительные приборы и т.п.;
- автоматический выключатель ,служащий для включения и отключения цепей,
находящихся под нагрузкой, и при коротких замыканиях при
поступлении сигнала от прибора защитного отключения.
УЗО может реагировать на изменение до известных пределов таких параметров электрической сети, как, например,
* напряжение корпуса относительно земли - в результате замыкания фазного провода на заземленный или зануленный корпус и возникновения на корпусе повышенного напряжения.
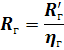
Принцип действия – быстрое отключение от сети установки, если напряжение её корпуса относительно земли окажется ВЫШЕ некоторого предельно допустимого значения U к.доп, вследствие чего прикосновение к корпусу становится ОПАСНЫМ. (см. рис.84). Такие устройства применяются только электроустановками до 1000 В с индивидуальными заземлениями.
* оперативный постоянный ток, проходящий через сопротивления изо-
ляции проводов (в результате повреждения этой изоляции или прикосно-
вения человека к проводу) и др.
При нормальном режиме работы сети сопротивление проводов Rэ и поэтому сила тока Iр (от источника постоянного тока) НЕЗНАЧИТЕЛЬНА. В случае же снижения сопротивления изоляции одной (или двух, или трех) фазы в результате её замыкания на землю или на корпус, либо в результате прикосновения к фазе человека сопротивление Rэ уменьшится , а ток Iр возрастет, и если он превысит ток срабатывания реле, произойдет замыкание цепи, отключающей катушки и отключение сети от источника питания.
Область применения – сети небольшой протяженностью напряжением до 1000 В с изолированной нейтралью.
1 to reflect - отражать, to adsorb – поглощать, deatermal – диатермальная, проходящая насквозь
2 Если учесть, что речь идет о поглощении энергии, в том числе тепловой, то не покажется странным, что у инея тоже А близко к единице - A ≈ 0,97 – 0,99.
3
4
5 Нужно иметь ввиду, что в практических условиях продолжительность сохранения неизменными метеоусловий принимается равной 4 часам. По истечении указанного времени прогноз обстановки должен уточняться).
6Для расчета объема используются известные формулы объема цилиндра Vц= D2L/4 и шара Vш= D3/6.
7 Используется при расчете эквивалентного количества вещества. При расчете площади зоны заражения используется (см. ниже стр.8) коэффициент К8, также учитывающий влияние степени вертикальной устойчивости воздуха на интенсивность рассеивания АХОВ
8 О коэффициенте К8 см. ниже стр.7.
9 Наблюдается так называемый «эффект танковой гусеницы».
10 Способ основывается на физическом свойстве температуры кипения повышаться при увеличении давления. Например, для аммиака
при Р= 1 атм Тк = -33.2 оС;
при Р=10 атм Тк = 28 оС;
при Р=20 атм Тк = 50 оС.
Благодаря этому свойству становится возможным хранить аммиак в жидком виде под давлением при нормальной и более высоких температурах.
















