Текст ФХОТЭС часть 1-1 для 2015 (1245609), страница 3
Текст из файла (страница 3)
Для очистки механических деталей можно использовать водопроводную воду. Она хорошо удаляет остатки растворителя и частицы загрязнений. Качество очищенной таким образом поверхности позволяет осуществлять последующие операции механической обработки.
В других видах производства ЭВС, например, печатных плат, полупроводниковых микросхем применяют дистиллированную воду (для основной и предварительной отмывки).
Для производства интегральных микросхем необходима еще более чистая вода, которую получают за счет удаления из нее большинства ионов (деионизованная вода для финишной отмывки).
Дистиллированная вода, получаемая многократной дистилляцией содержит небольшое количество примесей (сухой остаток равен 5 мг/л), и ее электрическое сопротивление не превышает100 кОм . см.
Деионизованную воду получают методом ионного обмена, сущность которого состоит в том, что в системе вода — ионит происходит обмен ионами. В качестве ионитов используют различные ионообменные смолы. В воде всегда содержатся катионы железа, меди, кальция, магния, натрия, калия и анионы хлоридов, сульфидов, бикарбонатов. Для очистки воды от них используют катионитовые (КУ-1, КУ-2, КУ-8-4с, КБ-4П2) и анионитовые (АВ-16, АВ-17, АВ-20, АВ-17-8-4с) смолы. Деионизованная вода бывает марок А и Б. А используется для промывки пластин с p-n переходами, Б для других элементов. Вода марки А имеет удельное сопротивление 20 Мом ∙ см, а марки Б — около 1 Мом ∙ см.
1.2.1. Методы физического и химического обезжиривания
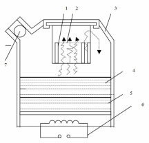
Ф и з и ч е с к о е о б е з ж и р и в а н и е — растворение органических загрязнений в горячих или кипящих органических растворителях. При этом молекулы жиров, отрываясь от поверхности пластин, равномерно распределяются в объеме растворителя. Одновременно происходит обратный процесс — адсорбция молекул жира очищенной поверхностью. Для снижения интенсивности адсорбции используют каскадный метод отмывки (см. рис.1.3).
Рис. 1.6. Схема установки для обезжиривания пластин с каскадными ваннами: 1 — напорный бак; 2, 4, 5, — нижняя, средняя и верхняя ванны; 3 — охлаждающий змеевик; 6 — перегонный куб; 7 — подогреватели; 8 — отстойник; 9 — насос.
При этом кассета с пластинами поочередно переносится из нижней ванны 2 в верхнюю ванну 5. Таким образом, при очистке соблюдается принцип “бесконечного разбавления” и чистый растворитель не смешивается с загрязненным, который постепенно вытесняется в отстойник 8, а из него в перегонный куб 6.
Достоинства: высокая эффективность, недостатки: требует многократной очистки растворителей и сопровождается их большими потерями, токсичность, пожароопасность.
Принцип “бесконечного разбавления” соблюдается и при очистке пластин в парах растворителя (рис.1.4).
Рис. 1.7. Схема установки очистки в парах растворителя: 1 — кассета с пластинами; 2 — пары растворителя;3 — корпус; 4 — растворитель; 5 — слой загрязнений; 6 — нагреватель; 7 — предохранительный клапан
Пластины 1 и 2 помещают в рабочую камеру в корпусе 3, куда из перегонного куба поступают пары 2 кипящего растворителя, которые конденсируются на очищаемых поверхностях. Капли конденсата, стекая с поверхности пластин, уносят загрязнения. При этом пластины непрерывно омываются свежим чистым конденсатом, а загрязненный стекает вниз.
Такую очистку производят в парах изопропилового спирта, фреона-113 или хлорированных углеводородов. Наиболее эффективна очистка в фреоне-113 — негорючей и нетоксичной жидкости, имеющей температуру кипения 47,6оС и плотность 1,57 г/см2. Недостатки: значительные потери растворителя из-за испарения и необходимость высокой герметичности установок.
Х и м и ч е с к о е о б е з ж и р и в а н и е — производят в составах, разрушающих молекулы жира и не действующих на обрабатываемый материал. Благодаря этому процесс десорбции (обратный адсорбции) молекул жира очищенной поверхностью исключается. Для химического обезжиривания используют горячий (75 — 80оС) перекисно-аммиачный раствор, состоящий из водного раствора, перекиси водорода Н2О2 (пергидроль) и гидроксида аммония NH4OH. Атомарный кислород, выделяющийся при нагреве пергидроли, окисляет как органические, так и неорганические загрязнения, а щелочь ускоряет реакцию разложения Н2О2, омыляет или эмульгирует жиры, а также связывает в хорошо растворимые комплексы ионы некоторых металлов.
1.2.2. Обезжиривание в щелочных растворах
Обезжиривание в щелочных растворах — это процесс удаления омыляемых жиров растительного и животного происхождения и неомыляемых минеральных масел. Щелочные моющие растворы состоят из щелочей, солей щелочных металлов и ПАВ. Компоненты раствора должны обеспечить низкое поверхностное натяжение, наличие щелочного буфера для нейтрализации кислотных загрязнений, разрушение связи загрязнений с поверхностью, эмульгирующие свойства, индифферентность по отношению к материалу деталей. Растворенные загрязнения необходимо стабилизировать, чтобы предотвратить их повторное осаждение из раствора на деталь. Применяют в производстве:
— едкий натр NaOH
— карбонат натрия Na 2 CO 3
— силикаты натрия (жидкое стекло) Na 2 O / SiO 2
— фосфаты натрия (тринатрийфосфат) Na 3 PO 4
— буру (натриевая соль тетракарбоновой кислоты) Na 2 B 4 O 7
При взаимодействии жиров (смесь сложных эфиров, образованных глицерином и жирными кислотами) со щелочами происходит их омыление с образованием растворимого мыла.
В результате реакции образуются растворимые натриевая соль стеариновой кислоты (мыло) и глицерин. Калиевое мыло растворяется быстрее, однако
NaOH существенно дешевле, чем KOH.
Для удаления неомыляемых масел, не реагирующих со щелочами, применяют эмульгирование. Эмульгирование заключается в разрыве сплошной жировой пленки на поверхности детали. Под действием сил молекулярного притяжения масляная пленка свертывается в шарики, которые легко уносятся с поверхности потоком жидкости.
Рис. 1.8. Схематичное представление процесса эмульгирования
В качестве эмульгаторов используются специальные ПАВ, жидкое стекло (силикаты) и фосфаты натрия (тринатрийфосфат).
Поверхностное натяжение мыльных растворов составляет всего 30 - 40 эрг/см2 (вместо 73 эрг/см2 для чистой воды), что обеспечивает хорошее смачивание деталей и облегчает отрыв капелек жира. Например, обезжиривание поверхности медной фольги печатных плат осуществляется в растворе:
Тринатрийфосфат 30г/л, сода кальцинированная 30 г/л, моющее вещество “Прогресс” 5мл/л. Процесс идет при температуре Т=30 - 40 о С в течение t=1 - 2 мин.
При обезжиривании в щелочных растворах необходимо контролировать концентрацию щелочи и время обработки во избежание растравливания поверхности (особенно алюминия, магния и их сплавов).
Соли щелочных металлов являются буферными добавками и при гидролизе образуют вещества, способствующие очистке. Так, силикаты при гидролизе дают кремниевую кислоту, которая нерастворима и находится в коллоидном состоянии. Она обладает способностью диспергировать твердые частицы загрязнений, является хорошим эмульгатором. Кроме того, присутствие силиката в растворе предотвращает разъедание щелочью алюминия, цинка, стали и меди.
После очистки в силикатных растворах на поверхности изделий остается тонкий слой силиката (около 50 Å), однако этот слой в некоторой степени полезен, так как предохраняет металл от коррозии.
Фосфаты щелочных металлов (натрия) , такие, как тринатрийфосфат Na3 PO4, пирофосфат Na4 P2 O7 и некоторые другие, обладают эмульгирующими свойствами. Они способствуют измельчению крупных частиц загрязнений вплоть до коллоидных размеров. Это явление частично обусловлено большим электрическим потенциалом анионов P2O74- и PO43- , создающим электростатическую связь с загрязнениями.
1.2.3. Электрохимическое обезжиривание
Электрохимическая очистка деталей протекает быстрее, чем химическая. В качестве электролитов в основном применяют щелочные растворы, аналогичные моющим химическим растворам, но с меньшей концентрацией компонентов. Очистка с применение электрического тока улучшается в результате уменьшения поверхностного натяжения пленки загрязнений на поляризованной поверхности и облегчения диспергирования жидких и твердых частиц загрязнений пузырьками выделяющихся газов — водорода на катоде и кислорода на аноде.
Пузырьки газов адсорбируются на поверхности загрязнений и по мере увеличения размеров пузырьков за счет включения в них новых порций газа они всплывают, унося с собой частицы загрязнений. Кроме того, выделяющиеся газы создают высокий уровень возбуждения в жидкости.
Очищаемая деталь может помещаться как на катоде, так и на аноде электролитической ванны. На катоде ванны выделяется газа в 2 раза больше, чем на аноде. Однако катодная очистка обладает рядом недостатков:
1) наводораживание поверхностного слоя металла деталей, вызывающее появление водородной хрупкости;
2) осаждение на поверхности детали металлов, растворяемых в щелочах (цинка, свинца, олова), что ухудшает сцепление поверхности с последующим гальваническим покрытием;
При катодной очистке рекомендуется перед выемкой детали из ванны изменить направление тока и подключить деталь анодно. При этом адсорбированные атомы водорода реагируют с выделяющимся кислородом, что уменьшает водородную хрупкость металла, и осажденные пленки металлов -загрязнений растворяются:
Мео — nе Меn+.
Для уменьшения нежелательного воздействия на металл электрохимическую очистку целесообразно применять кратковременно для удаления небольших загрязнений. Обычно такая очистка является окончательной (особенно если на деталь будут наносить гальваническое покрытие), и следует за другими стадиями удаления загрязнений.
Рис. 1.9. Эскиз электрохимической отмывки
Раствор для электрохимической очистки должен содержать ПАВ, образующие на поверхности ванны стабильный слой пены толщиной 2575 мм, улавливающий захваченную пузырьками газов жидкость и уменьшающий едкие испарения. Однако чрезмерно толстый слой пены создает опасность взрыва из-за наличия в нем водорода и кислорода.
Скорость электрохимической очистки повышается с увеличение плотности тока, так как при этом выделяется большее количество газов. Однако увеличение плотности тока инициирует нежелательные процессы — подтравливание, окисление и наводораживание основного металла (техническое противоречие).
Оптимальная плотность тока (как инженерный стандартный способ разрешения технического противоречия) определяется материалом детали, ее формой и др. Так, для очистки стали плотность тока 515 А/дм2, бронзы 25 А/дм2, цинка 0,31 А/дм2, никеля 28 А/дм2, алюминия 38 А/дм2 и меди 310 А/дм2. Длительность очистки обычно не превышает 0,52 мин.
Электрохимическое обезжиривание применяют после полировки, предварительной химической или механической очистки и после монтажа изделий на подвески для удаления последних остатков жировых загрязнений перед декапированием или перед покрытием. Благодаря быстроте процесса и высокому качеству очистки, электролитическое обезжиривание является наиболее целесообразным видом обезжиривания для всех изделий. Очистка изделий при электрохимическом обезжиривании происходит в процессе электролиза – пропускания постоянного тока через электролит, когда сами изделия играют роль катода или анода. В первом случае на поверхности обезжириваемых деталей бурно выделяются пузырьки водорода, во втором – кислорода. При этом они в течение первых же секунд разрывают и удаляют пленку жировых загрязнений. Роль щелочного раствора является вспомогательной и заключается в образовании эмульсии с частицами масла, а также омылении жиров животного и растительного происхождения. В отличие от химического обезжиривания в крепких растворах щелочей скорость электро-обезжиривания почти не зависит от температуры и концентрации электролита и определяется плотностью тока. В качестве электродов завешивают листы никелированного железа или нержавеющей стали. Переключение на анод имеет своей целью дополнительную очистку кислородом и частичное устранение вредного воздействия водорода. Для получения хороших результатов обезжиривания необходимо соблюдение следующих правил:
-
не допускается длительная передержка процесса, так как это приводит к насыщению изделий водородом, т.е. к созданию водородной хрупкости и потемнению поверхности;
-
тонкостенные стальные каленые детали до 1 мм, пружины всех видов следует обезжиривать лишь на аноде для устранения насыщения водорода;
-
детали из меди и ее сплавов, а также из драгоценных сплавов обезжиривают только на катоде, так как на анодном процессе они оксидируются и чернеют;
-
перед обезжириванием с подвесок должны быть стравлены гальванические покрытия / цинк, олово /, загрязняющие электролит при их растворении;
-
с поверхности электролита должна удаляться пена жиров и масел в процессе работы или загрязненный раствор должен заменяться новым.
После окончания вышеописанных операций обезжиривания изделия промывают последовательно в горячей /50-70 град./ и холодной, дистиллированной для драгметаллов, воде. Наиболее простые и распространенные составы и режимы для химического и электрохимического обезжиривания перед нанесением драгметаллов приведены в таблице.
Таблица 1._
| Компоненты раствора, г/л | Химическое обезжиривание | Электрохимическое обезжиривание | ||||
| золочение | серебрение | родирование | золочение | серебрение | родирование | |
| NaOH /KOH/ | 10-20% | 20-30 | 20 | 20-40 | 15-30 | 5-10 |
| Na2CO3 | --- | 20-30 | 25 | 20-30 | 20-30 | 30-50 |
| Na3PO4*12H2O | --- | 50-60 | 80 | 50-60 | 50-60 | 30-50 |
| Na2SiO2 | --- | 5-10 | 1-50 | 5-10 | 5-10 | 1-5 |
| Температура 0С | 100 | 100 | 15-20 | 70-90 | 70-80 | 70-80 |
| Время мин | 2-4 | 20-30 | 2-3 | 2-15 | 1-15 | 3-5 |
| Плотность тока А/дм2 | --- | --- | --- | 3-10 | 1,5-2,0 | 3-10 |
Большинство деталей обезжириваются на катоде. Исключение составляют тонкие детали, для которых опасно насыщение водородом. При помещении детали в щелочной, нагретый до температуры 70 - 80° электролит жиры, имеющиеся на детали, омыляются, а масла переходят в эмульсию. Отрыву масла от детали способствуют выделяющиеся пузырьки газа. Кроме того, выделяющиеся пузырьки газа создают вертикальный поток электролита, который энергично омывает поверхность.















