ДИПЛОМ (1235295), страница 5
Текст из файла (страница 5)
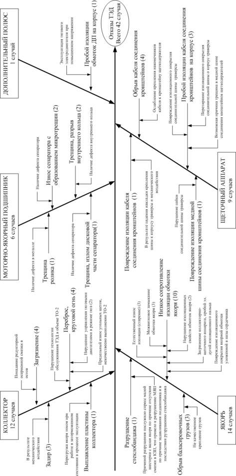
Удаляем факторы, на которые невозможно повлиять или скомпенсировать их воздействие, это – естественный износ изоляции (старение).
Как видно из произведенной оценки основными факторами, влияющими на отказ ТЭД, являются:
-
межвитковое замыкание обмотки якоря;
-
нарушение изоляционных свойств обмоток якоря;
-
загрязнение коллектора – попадание редукторной смазки в остов;
-
нарушение управления тяговыми двигателями в режиме тяги, что приводит перебросу и круговому огню;
-
в результате механического воздействия возникает задир коллектора;
-
ослабление крепления наконечников кабеля к кронштейну щеткодержателя, что приводит к обрыву кабеля;
-
наличие дефекта сепаратора, что приводит к износу с образованием микротрещин;
-
наличие дефекта внутреннего кольца, что приводит к трещине и разрыву его;
| | |
| Рисунок 3.8 – Тяговый двигатель НБ-514Б: 1 – моторно-осевой подшипник; 2 – сердечник добавочного полюса; 3 – катушка добавочного полюса; 4 – катушка главного полюса; 5 – компенсационная обмотка; 6 – сердечник главного полюса. И его основные дефекты: а – неисправность крышек коллекторных люков, ненадежность уплотнений, неисправность замков; б – царапины, выбоины, следы переброса электрической дуги на рабочей поверхности коллектора; в – пониженная величина сопротивления изоляции | |
| | |
| Рисунок 3.9 – Щеткодержатель: 1 – корпус; 2 – щетки; 3 – нажимные пальцы с резиновыми амортизаторами; 4 – цилиндрические пружины 5 – винты | |
| | ||
| Рисунок 3.10 – Траверса: 1 – траверса; 2 – шесть кронштейнов; 3 – изоляционные пальцы; 4 – щеткодержатели: 5 – изоляционная шина; 6 – разжимное устройство | ||
| | ||
| Рисунок 3.11 – Моторно-осевой подшипник: 1,2 – вкладыши; 3 – буксы с постоянным уровнем смазки; 4 – прокладки; 5 – указатель уровня масла; 6 – трубка; 7 – трубка заправки масла; 8 – шпонки; А – отверстие; Б, В – две сообщающиеся камеры с маслом | ||
| | |
| Рисунок 3.12 – Подшипниковые узлы: а – со стороны коллектора; б – со стороны, противоположной коллектору; 1,8 – подшипниковые щиты; 2 – кольца; 3 – крышка подшипника; 4 – кольцо; 5,6 – втулка; 7 – крышка; 9 – закрытая крышка; А – отверстие, сообщенное с атмосферой; Б – отверстие, удаляющее смазку, попавшую из кожуха зубчатой передачи; В – камера, для отработанной смазки; Г – отверстие для удаления смазки в камеру Д; Д – камера |
| | |
| Рисунок 3.13 – Коллектор: 1 – нажимной конус; 2 – скрепляющие болты; 3 – уплотняющие шайбы; 4,8 – изоляционные манжеты; 5 – комплект медных и изоляционных пластин; 6 – изоляционные цилиндр; 7 – втулка коллектора; А – коллекторная камеры; Б,В – уплотнительные замки |
| Рисунок 3.14 – Анализ распределения событий по тяговым электродвигателям электровоза 3ЭС5К за 2014 г. |
За 12 месяцев 2014г. наблюдается уменьшение количества неплановых ремонтов (рисунок 3.15 и 3.16) по Сервисному ремонтному локомотивному депо Дальневосточное в абсолютном значении в сравнении с аналогичным периодом 2013 г., что составило 28 % (252 случаев против 181 случая). Сравнивая же с 2012 г., произошло увеличение на 25 % (135 случаев против 181 случая).
Рисунок 3.15 – Динамика распределения числа МПР за 12 месяцев 2012–2014 гг.
Рисунок 3.16 – Динамика распределения
общего числа МПР за 2012–2014 гг.
Изменилось количества заходов на неплановый ремонт тягового подвижного состава по Ремонтному локомотивному депо Дальневосточное в расчете на 1 млн.км. пробега (рисунок 3.17). Сравнивая 2014 год с предыдущими годами наблюдается: с 2012 годом увеличение на 31 %, с 2013 уменьшение на 29 %.
Рисунок 3.17 – Распределения числа МПР на 1 млн. км. за 12 месяцев 2012–2014 гг.
Рисунок 3.17 – Распределение общего числа МПР
на 1 млн. км. за 2012–2014 гг.
4 корректирующие меры по предупреждению отказов тяговых электрических двигателей
В процессе эксплуатации железнодорожного транспорта возникают отказы и нарушения в работе, как по вине персонала, так и по техническим причинам. Последствия случаев отказов и нарушений были разными: гибель и ранения людей; разрушение подвижного состава, пути; задержки поездов и т.д. Подобные случаи, особенно с тяжелыми последствиями, становятся предметом расследования. Анализируются их причины, принимаются меры, уточняются нормы и руководящие документы, совершенствуются технические средства и технология их содержания, а также организация управления перевозками. В итоге на железнодорожном транспорте сложилась системы реакций на нарушения и отказы в его работе (рисунок 4.1).
Рисунок 4.1 – Система обеспечения безопасного движения
Исходя из выше сказанного, можно выделить следующую классификацию мероприятий (рисунок 4.2).
Рисунок 4.2 – Классификация мер по предупреждению отказов
тяговых электрических двигателей
Ниже представлено общее количество мероприятий направленных на:
-
повышение безопасности движения – 12;
-
мероприятий направленных на улучшение технического состояния локомотивов – 26;
-
организационных мероприятий – 5;
-
мероприятий по укреплению дисциплины – 10.
Всего: 53 мероприятия.
4.1 Мероприятия по повышению безопасности движения
Мероприятия по повышению безопасности движения – это меры защищенности транспортной системы от сбоев движения (сходов, столкновений, остановок из-за неисправностей, движения по неправильному пути) которые наносят ущерб пассажирам, грузоотправителям, транспортной системе и внешней среде (таблица 4.1).
Таблица 4.1 – Мероприятия по повышению безопасности движения
| № п/п | Наименование мероприятий | Срок исполнения | Выполнение |
| 1 | 2 | 3 | 4 |
| 1. | Анализировать состояние безопасности движения поездов, технического состояния локомотивов, организации условий труда ремонтных бригад, трудовой и производственной дисциплины. | Ежемесячно | Выполняется Ежемесячное введение технического и факторного анализа, отчёта по состоянию условий охраны труда, отчёта по трудовой дисциплине в депо. |
| 2. | Проводить собеседования со слесарями ремонтных бригад, направленные на обеспечение безопасности движения поездов, сохранности оборудования локомотивов, укрепления трудовой и технологической дисциплины. | Согласно нормативов | Выполняется Проводятся общедеповские собрание под председательством СЛД, проводятся тех.занятия. |
| 3. | Оперативно доводить до сведения ремонтного персонала поступающие документы по безопасности движения поездов. | Постоянно | Выполняется Согласно журналу прохождения инструктажа ремонтным персоналом |
| 4. | Включать в планы технических занятий с ремонтными бригадами особенности обслуживания и ремонта локомотивов в зависимости от времени года, обращая особое внимание на обслуживание автотормозного оборудования в зимних и летних условиях. | Согласно плана технических занятий | Выполняется Согласно планов тех.занятий по цехам и участкам. |
| 5. | Проводить внеочередную проверку знаний с принятием зачётов у слесарей ремонтных бригад, допустивших брак в работе, отказы технических средств по причине некачественного ремонта, недостаточных знаний конструкции локомотива, технологических инструкций, нормативных документов. | Постоянно | Выполняется Согласно журналов учёта посещаемости занятий и успеваемости по тех. учёбе на участках |
Продолжение таблицы 4.1 – Мероприятия по повышению безопасности движения
| 1 | 2 | 3 | 4 |
| 6. | Эффективно использовать комплексные системы АСУТ, КАСАНТ по депо. | Постоянно | Выполняется Всего в депо пользователей системы: КАСАНТ – 12чел. Ведётся отчётность. |
| 7. | Проводить текущую проверку знаний ремонтными бригадами требований ПТЭ, инструкций, руководство по ТО и ТР, должностных обязанностей. | Согласно установленного по депо порядка | Выполняется Согласно сроков прохождения ПТЭ, и регистрации прохождения проверки в журнале РБУ-10, а также журналов учёта посещаемости занятий и успеваемости по тех.учёбе. |
| 8. | При выявлении случаев некачественного ремонта оборудования локомотивов, нарушения требования руководства по ТО-2 и ТР электровозов переменного тока и технологических инструкций применять к ремонтным бригадам строгие меры дисциплинарного взыскания в соответствии с требованиями приказа МПС нр 1ЦЗ- 1994 года. | Постоянно | Выполняется Согласно приказов начальника депо после проведения разборов с причастными. |
| 9. | По итогам работы каждого месяца выполнять факторный анализ рисков возникновения нарушений безопасности движения поездов с последующим составлением планов корректирующих и предупреждающих действий и периодическим анализом их эффективности. | Ежемесячно | Выполняется Факторный анализ ежемесячно |
| 10. | Организовать и провести дополнительные технические занятия со слесарями ТО-2 по технологии технического обслуживания электровозов ВЛ80, 3ЭС5К. | Постоянно | Выполняется |
Окончание таблицы 4.1 – Мероприятия по повышению безопасности движения
| 1 | 2 | 3 | 4 |
| 11. | Мастерам ежемесячно проводить инструктаж с работниками ремонтной бригады по случаям событий, отказов, и неплановых ремонтов электровозов с личной отметкой исполнителей об усвоенном инструктаже. | Ежемесячно | Выполняется |
| 12. | Мастерам комплексных бригад постоянно контролировать выполнение цикловых работ по ремонту ТЭД исполнителями при проведении плановых видов ремонта. |
4.2 Мероприятия по улучшению технического состояния локомотивов
Мероприятия по улучшению технического состояния локомотивов – модернизация технологии ремонта, соблюдение сроков ремонта, создание и пересмотр технологических карт, проверка состояния надежности, износом техники, ремонтно-профилактические базы и т.п. (таблица 4.2).
Таблица 4.2 – Мероприятия по улучшению технического состояния локомотивов
| № п/п | Наименование мероприятий | Срок исполнения | Выполнение |
| 1 | 2 | 3 | 4 |
| 1. | Производить замену ТЭД при повторном повреждении коллекторно-щёточного оборудования. | При проведении ТР-1,2,3 | Выполняется |
| 2. | Следить за наличием индукционные нагреватели для напрессовки шестерен ТЭД. При необходимости приобрести (изготовить). | Постоянно | Выполняется |
Продолжение таблицы 4.2 – Мероприятия по улучшению технического состояния локомотивов
| 1 | 2 | 3 | 4 |
| 3. | При производстве текущих ремонтов по циклам ТР-1,2,3 с целью уменьшения коммутации тягового движения после выполнения цикловых работ в обязательном порядке проверять нейтральное положение щеток по коллектору. | При проведении ТР-1,2,3 | Выполняется (с отметкой в журнале передачи смен участка ЦККР и в протоколах испытаний ТЭД) |
| 4. | Для электровозов серии 3ЭС5К с целью снижения неплановых работ по смене щеток тяговых электродвигателей в межремонтный пробег от ТР-1 в обязательном порядке, при проведении регламентных работ по ТР-1, заменять угольные щетки с высотой менее 35 мм. | При проведении ТР-1 | Выполняется |
| 5. | Для снижения процесса коммутации тяговых двигателей в обязательном порядке при смене щеток тяговых двигателей типа НБ-514 на текущих видах ремонта, а также при устранении перебросов, в обязательном порядке перед установкой провести их притирку по коллектору ТЭД в электромашинном цехе. | Постоянно | Выполняется |
| 6. | Организовать работы по усилению верхнего слоя изоляции выводных кабелей от клицы на остове ТЭД до клицы на кузове электровоза. Производить замену кабелей при значительном повреждении их защитного слоя. | Постоянно | Выполняется |
| 7. | При проведении ТО-2 локомотивов проверять сопротивление изоляции ТЭД с записью в журнал установленной формы | При проведении ТО-2 | Выполняется |
Продолжение таблицы 4.2 – Мероприятия по улучшению технического состояния локомотивов
| 1 | 2 | 3 | 4 |
| 8. | При производстве текущих ремонтов электровозов, а также при замене ТЭД проверять в обязательном порядке распределение охлаждающего воздуха по двигателям и соответствие расхода воздуха установленным нормам; | При проведении ТР-1,2,3 | Выполняется |
| 9. | При проведении технического обслуживания ТО-2 локомотивов просматривать и устранять замечания, не только сдающего машиниста, но и предыдущего, контроль устранения проводить совместно с контроллерами ТМХ-Сервис. | При проведении ТО-2 | Выполняется |
| 10. | При всех видах текущего ремонта и технических обслуживаниях электровозов, для достижения надёжной работы электровоза обеспечить качественный визуальный контроль состояния изоляции низковольтных и высоковольтных проводов, за состоянием жил и монтажа проводов. Выявленные недостатки устранять в обязательном порядке путём постановки дополнительны резинотехнических или ПХВ изоляционных материалов. | При проведении ТР-1,2,3, ТО-2 | Выполняется |
| 11. | После проведения ТР электровозов проводить проверку электрооборудования тепловизионным контролем | При проведении ТР-1,2,3 | Выполняется |
| 12. | На крупных видах ремонта подбирать ТЭД по тяговым характеристикам. | При проведении ремонта | - |
Продолжение таблицы 4.2 – Мероприятия по улучшению технического состояния локомотивов
| 1 | 2 | 3 | 4 |
| 13. | Для совершенствования технологии ремонта тяговых электродвигателей и повышения культуры производства организовать мойку остовов ТЭД и других узлов и агрегатов электровоза при ТР-3(500) «сухим льдом». | При проведении ТР-3 | - |
| 14. | Организовать испытание электрической части остова ТЭД при ремонте на многоамперном агрегате. | При проведении испытаний | - |
| 15. | Производить 100% замену защитных брезентовых чехлов силовых кабелей ТЭД при производстве ТР-3, СР электровозов, изолировать их киперной или тофтяной лентой пропитанной электроизоляционным лаком. | При проведении ТР-3, СР | - |
| 16. | Выполнить работы по восстановлению изоляции якорных обмоток имеющих пониженную величину, согласно анализа состояния. | Постоянно | - |
| 17. | Производить покраску наружной поверхности остовов согласно требований руководства по ремонту. | По необходимости | |
| 18. | Изготовить необходимые крышки с целью исключения утечек лака при производстве пропитки остовов. | По необходимости | - |
| 19. | В полном объеме производить динамическую балансировку якорей ТЭД с целью снижения возникновения дисбаланса якоря и щеточного аппарата, с целью исключения неисправностей МЯП. | Постоянно | - |
Окончание таблицы 4.2 – Мероприятия по улучшению технического состояния локомотивов
| 1 | 2 | 3 | 4 |
| 20. | При каждой смене ТЭД проверять крепление силовых кабелей в клемной коробке, крепление клиц кабелей ТЭД к кузову электровоза, крепление клиц силовых кабелей на остовах ТЭД и в коньекторных коробках. | Постоянно | Выполняется |
| 21. | При выполнении плановых видов ремонта ТР-1, ТР-2 на ремонтных позициях оборудовать средствами сушки изоляции ТЭД для повышения параметров сопротивления изоляции увлажненных ТЭД. | При проведении ТР-1,2,3 | - |
| 22. | При смене колёсно-моторного блока по неисправности тягового электродвигателя, причине повреждения магнитной системы или электрической части якоря, производить проверку параметров аппаратов защиты на стенде со снятием их с локомотива. | Постоянно | - |
| По запчастям и материалам: | |||
| 23. | Организовать анализ поступления запчастей и материалов согласно заявки и норм расхода на ремонт ТЭД. | Постоянно | Выполняется |
| 24. | Проконтролировать корректировку заявок на запасные части и материалы на каждый год. | Ежегодно | Выполняется |
| По технологической документации: | |||
| 25. | Обеспечить электромашинный участок технологической документацией по изготовлению грузов для балансировки якорей. | Постоянно | - |
| 26. | Разработать технологическую документацию по ремонту ТЭД: - разработать форму учетного журнала по ремонту каждого узла ТЭД. | Постоянно | - |
4.3 Организационные мероприятия
Организационные мероприятия – комплекс должен обеспечивать необходимую информацию о нечетком распределении задач, недостаточной организации работ или нечетко определенной ответственности относительно безопасности дорожного движения. Сюда же входит сбор, анализ и предоставление различных статистических данных, различные мониторинги за производственным процессом, системы учёта и создание корректирующих мер в целом (таблица 4.3).















