ДИПЛОМ МАКАРОВА ИЛЬИ АНДРЕЕВИЧА ТЕМА СТАЦИОНАРНОЕ ТЯГОВОЕ УСТРОЙСТВО (1234336), страница 6
Текст из файла (страница 6)
Состав подается на мойку таким образом, чтобы первый вагон находился над тянущей тележкой 7. В начальном состоянии тележки замкнут датчик начального положения тележки (ДНПТ), в конечном - замкнут датчик конечного положения тележки (ДКПТ). Если датчик замкнут, то на экране оператора мигает соответствующий ему значок. [8]
Датчики системы контроля движения вагона в зоне мойки установлены на специальных стойках и на рисунке 4.4 не показаны. После прибытия очередного состава на мойку оператор вводит режим работы: автоматический, тип состава, количество вагонов в составе и т.д. После подтверждения машинистом о готовности состава к мойке, оператор нажимает соответствующую клавишу и начинается выполнение первого прохода. [8]
Перед началом каждого прохода производится проверка на возможные аварийные ситуации. Выполнение любого прохода может быть приостановлено по инициативе оператора, либо сигналом от вагономоечного комплекса (ВМК). Возможен переход с автоматического режима работы на ручной режим работы. Система управления работает по командам, получаемых от датчиков, расположенных на соответствующих упорах, установленных вдоль железнодорожного полотна в зоне мойки.
В начале прямого хода тянущая тележка 7 находится позади передней тележки одного из вагонов. В исходном состоянии расстояние между ограничителями 14 каждой из консолей тянущей тележки составляет 500 мм. Это расстояние обеспечивает нахождение колесной пары вагонной тележки между тяговыми роликами 13 консолей 7а и 7б тянущей тележки и контролируется датчиком 31.
После установки вагона в зону мойки и проверки готовности оператор подает команду «ВПЕРЕД». По этой команде включается реверсивный электродвигатель 21, который через редуктор 22 и муфты 23 передает вращение барабану 24 состоящему из четырех шкивов с намотанными на них канатом 8. При этом натяжение каната 8 контролируется узлом натяжения 5, включающим неподвижный шкив, а усилие натяжение обеспечивается механизмом натяжения 3 посредством грузов, подвешенных на подвесах 34 двуплечего рычага 35. В результате обе консоли начинают сближаться, при этом тяга 10, жестко соединенная с зубчатой рейкой 25, перемещает ее до контактирования с прямозубой шестерней 26, т.к. эта шестерня находится на одном валу с косозубой шестерней 27, то прямозубые шестерни 28, находящееся на валах тяговых роликов 13, перемещаются по поверхности косозубой шестерни 27 из исходного положения в сторону боковых поверхностей рамы консолей тянущей тележки 7, выдвигая тяговые ролики 13 в рабочее положение. Это выдвижение происходит до тех пор, пока палец вала не войдет в байонет 17, т.е. выдвижение тяговых роликов закончилось, но окончательная фиксация рабочего положения тяговых роликов происходит за счет пружин доводчика 29, которые довернут рычаги тяговых роликов 13 таким образом, чтобы контактная поверхность 32 вошла в плотное соприкосновение с неподвижным упором 12. В этом положении обе консоли фиксируются в ограничителях 14, сжимая упругий элемент 16, выполненный в виде пружины сжатия. Датчик контроля состояния тяговых роликов 30 зафиксирует это положение тяговых роликов относительно колесной пары железнодорожного вагона. (рисунок 4.10). Датчик положения колесной пары 31 вагона выдаст соответствующий сигнал в систему контроля. [8]
В результате обе колесные пары вагонной тележки зафиксированы тяговыми парами роликов 13. Система управления выдает команду на остановку электродвигателя 21 и начинается процесс мойки вагона. После окончания ее вагон тянущей тележкой 7 перемещается в начало зоны мойки, а сама тележка переводится в транспортное положение. Это происходит следующим образом: выключается гидроцилиндр 33 и натяжение каната 8 ослабевает, поэтому под действием сжатой пружины 16 консоли тянущей тележки 7 раздвигаются в исходной положение, а тяговые ролики занимают первоначальное (нерабочее) положение. По команде «НАЗАД» тянущая тележка двигается в обратном направлении. Когда она достигает второго вагона, срабатывает соответствующий датчик и выдается команда «СТОП НАЗАД». На обратном ходу реверсивный двигатель 21 вращает барабан 24 с канатом 8 в другую сторону. Место остановки тянущей тележки на каждом шаге перемещения состава зависит от количества и длины вагонов, которое определяется заранее. После выполнения последнего шага перемещения тележки, т.е. окончания процесса мойки состава, тележка по команде «НАЗАД» возвращается в исходное положение.
Далее вышеописанный процесс повторяется до тех пор, пока все вагоны состава не будут отмыты. Отмытые вагоны локомотивом перемещается по основному пути, последовательно прицепляя следующие отмытые вагоны. Когда все вагоны готовы, состав направляется в депо. [8]
Предлагаемое изобретение обладает рядом преимуществ по сравнению с известными техническими решениями: - надежностью в эксплуатации, т.к. механизм, управляющий толкающими роликами, выполнен конструктивно проще, а, следовательно, и надежнее ранее применяемых и не вызывает трудностей при эксплуатации. За счет полной фиксации тяговых роликов с обеими колесными парами вагонной тележки исключается возможность перекоса при движении вагона и схождения его с рельс.
4.3 Электромагнитный ускоритель-замедлитель вагонов
Использование: в устройствах для регулирования скорости вагонов. Сущность изобретения: электромагнитный ускоритель - замедлитель вагонов содержит последовательно расположенные вдоль пути электрически связанные между собой электромагниты, каждый из которых выполнен из сверхпроводящего материала и подключен к источнику питания через параллельно и последовательно включенные ему сверхпроводящие ключи. [9]
Изобретение относится к рельсовым транспортным средствам, преимущественно к железнодорожному транспорту, и может быть использовано для регулирования скорости вагонов на подгорочных путях сортировочных станций.
Наиболее близким по своей технической сущности к заявляемому является электромагнитное транспортирующее устройство для экипажа на рельсовом ходу, содержащее путевые электромагниты, расположенные поперек пути, с сердечниками, своими концами, примыкающими к подошвам обоих рельсов. Это устройство выбрано в качестве прототипа.
Недостатки прототипа невозможность рекуперации энергии торможения и небольшая тормозная мощность.
Цель изобретения: расширение функциональных возможностей и увеличение воздействующего усилия ускорителя-замедлителя. [9]
Указанная цель достигается тем, что в электромагнитном ускорителе-замедлителе вагонов, содержащем последовательно расположенные вдоль железнодорожного пути электрически соединенные между собой электромагниты, по крайней мере одни полюса которых выполнены в виде рельсовых вставок, расположенных после немагнитных участков рельсов по ходу движения вагона, каждый электромагнит выполнен из сверхпроводящего материала и подключен к источнику питания через параллельно и последовательно включенные ему сверхпроводящие ключи. Источник питания выполнен в виде сверхпроводникового индуктивного накопителя энергии. Каждый электромагнит расположен со стороны одного из рельсов с возможностью расположения его другого полюса на уровне оси колесной пары вагона, причем противоположно расположенные электромагниты включены согласно.
На рисунке 4.11 изобразим электромагнитный ускоритель-замедлитель.
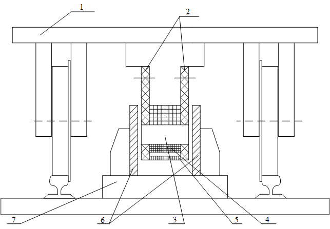
Рисунок 4.11 - Электромагнитный ускоритель-замедлитель с двумя полюсами в виде рельсовых вставок: 1 - соленоидальная сверхпроводящая катушка; 2 – криостат; 3 – полюса; 4 – немагнитные участки рельсов; 5 – колесная пара.
На рисунке 4.12 представим другой вариант расположения электромагнитов ускорителя-замедлителя. [9]
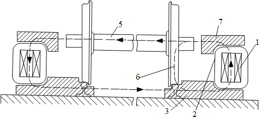
Рисунок 4.12 - Вариант расположения электромагнитов ускорителя-замедлителя: 1 – электромагнит;3 – рельсовые вставки (полюса); 5 – колесная пара; 6 – магнитное поле; 7 – полюс электромагнита;
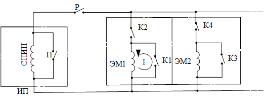
На рисунке 4.13 представим электрическую схему соединения обмоток электромагнита. [9]
Рисунок 4.13 - Электрическая схема соединения обмоток электромагнита: ЭМ – обмотка электромагнита; Р – рубильник; К1, К2, К3, К4 – ключи; ИП – источник питания; СПИН - сверхпроводниковый индуктивный накопитель энергии
Электромагнитный ускоритель-замедлитель содержит последовательно расположенные вдоль железнодорожного пути электромагниты, каждый из которых представляет собой соленоидальную сверхпроводящую катушку 1, помещенную в криостат 2, расположенный между полюсами 3, выполненными в виде рельсовых вставок, после немагнитных участков рельсов 4. Обмотки электромагнитов ЭМ , рисунок 4.10 подключены к источнику питания ИП, в качестве которого используется сверхпроводниковый индуктивный накопитель энергии СПИН, через параллельно и последовательно включенные им сверхпроводящие ключи К (с четными и нечетными индексами соответственно). Возможно расположение электромагнита 1 (рисунок 4.9) со стороны одного из рельсов с возможностью расположения его другого полюса 7 на уровне оси колесной пары 5. [9]
Электромагнитный ускоритель-замедлитель вагонов работает следующим образом.
В режиме торможения подключение обмотки электромагнита ЭМ1 (Рисунок 4.10) к источнику питания ИП производится путем замыкания рубильника Р и ключа К2 в момент наезда последней колесной пары 5 вагонной тележки на рельсовые вставки 3. Замыканием ключа К1 и размыканием ключа К2 сверхпроводящий магнит ЭМ1 переводится в режим замороженного потока в контуре 1 (рисунок 4.10) циркулирует незатухающий ток. В результате взаимодействия основного магнитного поля, замыкающегося по пути 6, с колесной парой 5 возникает тяговое усилие F, направленное к оси магнита, замедляющее движение вагона. Кроме того, удаляющаяся от магнита колесная пара уменьшает индуктивность катушки электромагнита и вследствие свойства сверхпроводящего контура сохранять постоянным поток, сцепленный с этим контуром, в нем наводится дополнительный ток. Энергия, накопленная в магнитном поле сверхпроводящего магнита ЭМ1, при необходимости направляется в электромагнит ЭМ2, расположенный на расчетном удалении от магнита ЭМ1, путем замыкания ключей К2 и К4 и размыкания ключа К1 либо направляется в СПИН: замыкаются рубильник Р и ключ К2 и размыкаются перемычка П и ключ К1.
При необходимости ускорить отцеп вагонов включение электромагнита производится до его подхода к магниту и отключение в момент нахождения первой колесной пары тележки на оси магнита. [9]
Управление работой устройства осуществляет автоматическая система, работающая по заданному алгоритму по сигналам от датчиков, обеспечивающих контроль за отцепом.
По сравнению с прототипом предложенное устройство обладает следующими технико-экономическими преимуществами: появляется возможность рекуперировать энергию торможения вагонов; повышена тормозная мощность за счет увеличения магнитной индукции сверхпроводящих магнитов; снижен общий расход электроэнергии за счет исключения резистивных потерь энергии в сверхпроводящих контурах; уменьшается удельная металлоемкость за счет отказа от ферромагнитного сердечника в сверхпроводящей катушке.
4.4 Линейный двигатель
Изобретение относится к электротехнике и может быть использовано в приводах линейного перемещения, например, в железнодорожном транспорте. Технический результат состоит в упрощении конструкции и повышении эффективности работы. Линейный электродвигатель состоит из первичной части, создающей электромагнитное поле, и вторичной части, преобразующей один вид энергии в другой. Первичная часть - индуктор выполнена в виде обоймы, состоящей из двух пластин из немагнитного и диэлектрического материала, между которыми в сквозных пазах закреплены ферромагнитные сердечники, в пазы между которыми уложена обмотка. Вторичная часть - якорь представляет собой металлические полосы, закрепленные параллельно друг другу с воздушным зазором перед полюсными наконечниками катушечных групп обмотки первичной части - индуктора на проектируемую длину перемещения первичной части. [10]
Изобретение относится к электротехнике и может быть использовано в приводах линейного перемещения, как например, в железнодорожном транспорте.
Технический результат, достигаемый при использовании предлагаемого изобретения, состоит в упрощении конструкции устройства первичной части линейного электродвигателя и повышении эффективности его работы. [10]
Указанный технический результат достигается путем изменения конструкции индуктора первичной части линейного электродвигателя, а также использования в несущей конструкции индуктора немагнитных и диэлектрических материалов, что позволит снизить потери от появления вихревых токов.
В предлагаемом линейном электродвигателе, состоящем из первичной части (индуктор), служащей для создания магнитного поля, и вторичной части (якорь) получающей энергию со статора и преобразующую ее в линейное движение, согласно изобретению индуктор первичной части представляет собой обойму, состоящую из двух пластин, изготовленных из немагнитного и диэлектрического материала, между которыми в сквозных пазах пластин в определенным порядке и в необходимом количестве закреплены ферромагнитные сердечники, служащие магнитопроводом индуктора. В пазы между ферромагнитными сердечниками укладывается многофазная обмотка, которая образует бегущее магнитное поле по типу магнитного поля обмотки статора асинхронного электродвигателя. В закрепленном положении на корпусе первичной части линейного электродвигателя полюса катушечных групп индуктора обращены к рабочим частям якоря вторичной части.
Якорь вторичной части линейного электродвигателя не всегда снабжается обмоткой. Часто в качестве якоря используется металлическая полоса. Якорь вторичной части линейного электродвигателя, в зависимости от необходимости, выполняется из меди, алюминия или из ферромагнитного материала.
На рисунке 4.14 представим линейный электродвигатель.
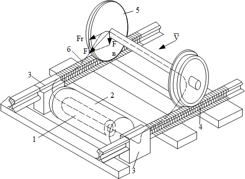
Рисунок 4.14 – Линейный электродвигатель: 1 – корпус; 2 - пластины обоймы индуктора; 3 - ферритовые сердечники; 4 - катушечные обмотки; 5 - элемент жесткости; 6 - металлические рабочие элементы якоря вторичной части линейного электродвигателя; 7 - основание вторичной части линейного электродвигателя.
На рисунке 4.15 представим индуктор первичной части линейного электродвигателя. [10]
















