Trebovania_k_oformleniyu_VKR_2016ispravl ennoe (1233304), страница 5
Текст из файла (страница 5)
Цифрами обозначают координационные оси по стороне здания и сооружения с большим количеством осей. Если для обозначения координационных осей не хватает букв алфавита, последующие оси обозначают двумя буквами.
Пример - АА, ББ, ВВ.
5.3.3. Последовательность обозначений координационных осей принимают по плану, как показано на рисунке 1 а: цифровые оси - слева направо, буквенные оси - снизу вверх или как показано на рисунках 1 б и 1 в.
Рисунок 1
5.3.4. Обозначение координационных осей, как правило, наносят по левой и нижней сторонам плана здания и сооружения.
При несовпадении координационных осей противоположных сторон плана в местах расхождения дополнительно наносят обозначения указанных осей по верхней и/или правой сторонам.
5.3.5. Для отдельных элементов, расположенных между координационными осями основных несущих конструкций, наносят дополнительные оси, которым присваивают обозначение в виде дроби, в числителе которой указывают обозначение предшествующей координационной оси, а в знаменателе - дополнительный порядковый номер в пределах участка между смежными координационными осями в соответствии с рисунком 1 г.
Допускается координационным осям фахверковых колонн присваивать цифровые и буквенные обозначения в продолжение обозначений осей основных колонн без дополнительного номера.
5.3.6. На изображении повторяющегося элемента, привязанного к нескольким координационным осям, координационные оси обозначают в соответствии с рисунком:
2 а - при их количестве не более 3;
2 б - при их количестве более 3;
2 в - при всех буквенных и цифровых координационных осях.
При необходимости ориентацию координационной оси, к которой привязан элемент, по отношению к соседней оси указывают в соответствии с рисунком 2 г.
Рисунок 2
5.3.7. На планах жилых зданий, скомпонованных из блок-секций, крайним координационным осям блок-секций присваивают обозначения согласно 5.3.1 - 5.3.3, которые указывают в соответствии с рисунком 3 а.
Рисунок 3
Координационным осям блок-секций, в том числе крайним, присваивают самостоятельные обозначения согласно 5.3.1 - 5.3.3 с добавлением индекса "с" (см. рисунок 3 б). При необходимости на плане блок-секции указывают обозначения координационных осей здания, скомпонованного из блок-секций.
5.3.8. Трехмерную (3D) электронную модель здания или сооружения выполняют в единой планово-высотной системе координат.
Координатную систему трехмерной модели здания или сооружения изображают тремя взаимно перпендикулярными линиями с началом координат, расположенным в точке пересечении осей 1 и А на нулевой отметке этого здания или сооружения в соответствии с рисунком 4.
Рисунок 4
При этом для прямоугольного в плане здания (см. рисунок 1 а) за положительное направление принимают: оси X - в сторону увеличения цифровых обозначений координационных осей, оси Y - в сторону увеличения буквенных обозначений координационных осей, оси Z - вертикально вверх от условной нулевой отметки здания.
5.4. Нанесение размеров, уклонов, отметок и надписей
5.4.1. Линейные размеры на чертежах указывают без обозначения единиц длины:
- в метрах с точностью до двух знаков после запятой - на чертежах наружных сетей и коммуникаций, генерального плана и транспорта, за исключением случаев, оговоренных в соответствующих стандартах СПДС;
- в миллиметрах - на всех остальных видах чертежей.
5.4.2. Размерную линию на ее пересечении с выносными линиями, линиями контура или осевыми линиями ограничивают засечками длиной 2 - 4 мм, наносимыми с наклоном вправо под углом 45° к размерной линии, при этом размерные линии продолжают за крайние выносные линии (или соответственно за контурные или осевые) на 0 - 3 мм.
При нанесении размера диаметра или радиуса внутри окружности, а также углового размера размерную линию ограничивают стрелками. Стрелки применяют также при нанесении размеров радиусов и внутренних скруглений.
При нанесении размеров на аксонометрических схемах технологических трубопроводов и инженерных систем размерные линии допускается ограничивать стрелками.
5.4.3. Отметки уровней (высоты, глубины) элементов конструкций, оборудования, трубопроводов, воздуховодов и др. от уровня отсчета (условной "нулевой" отметки) указывают в метрах без обозначения единицы длины с тремя десятичными знаками, отделенными от целого числа запятой, за исключением случаев, оговоренных в соответствующих стандартах СПДС.
Отметки уровней на фасадах, разрезах и сечениях помещают на выносных линиях (или на линиях контура) и обозначают знаком "
", выполненным сплошными тонкими линиями с длиной штрихов 2 - 4 мм под углом 45° к выносной линии или линии контура, в соответствии с рисунком 5; на планах - в прямоугольнике в соответствии с рисунком 6, за исключением случаев, оговоренных в соответствующих стандартах СПДС.
Рисунок 5
Рисунок 6
"Нулевую" отметку, принимаемую, как правило, для поверхности какого-либо элемента конструкций здания или сооружения, расположенного вблизи планировочной поверхности земли, указывают без знака; относительные отметки выше нулевой указывают со знаком "+", ниже нулевой - со знаком "-".
Примечание. В качестве нулевой отметки для зданий принимают, как правило, уровень чистого пола первого этажа.
5.4.4. На планах направление уклона плоскостей указывают стрелкой, над которой при необходимости проставляют числовое значение уклона в процентах в соответствии с рисунком 7 а или в виде отношения единицы высоты плоскости к соответствующей горизонтальной проекции (например, 1:7).
Рисунок 7
Допускается числовое значение уклона указывать в промилле или в виде десятичной дроби с точностью до третьего знака.
На разрезах, сечениях и схемах перед размерным числом, определяющим числовое значение уклона, наносят знак "
", острый угол которого должен быть направлен в сторону уклона (кроме крутизны откосов насыпей и выемок). Обозначение уклона наносят непосредственно над линией контура или на полке линии-выноски в соответствии с рисунком 7 б.
5.4.5. Номера позиций или марки элементов наносят на полках линий-выносок, проводимых от изображений элементов конструкций зданий или сооружений, рядом с изображением - без линии-выноски или в пределах контуров изображенных элементов в соответствии с рисунком 8.
Рисунок 8
Линию-выноску, как правило, заканчивают точкой. Если линия-выноска отводится от линии, обозначающей поверхность, то ее заканчивают стрелкой. При мелкомасштабном изображении линии-выноски заканчивают без стрелки и точки.
5.4.6. Выносные надписи к многослойным конструкциям выполняют в соответствии с рисунком 9.
Примечание. Цифрами условно обозначена последовательность расположения слоев конструкций и надписей на полках линий-выносок.
Рисунок 9
5.4.7. Размер шрифта для обозначения координационных осей, позиций (марок), наименований и обозначений изображений должен быть в 1,5 - 2 раза больше размера цифр размерных чисел, применяемых в том же графическом документе.
5.5. Изображения (разрезы, сечения, виды, выносные элементы)
5.5.1. Изображения на чертежах выполняют в соответствии с ГОСТ 2.305 с учетом требований настоящего стандарта и других стандартов СПДС.
5.5.2. Разрезы здания или сооружения обозначают арабскими цифрами последовательно в пределах графического документа. Сечения обозначают аналогичным образом.
Примечание. В чертежах проектной и рабочей документации разрезом называют, как правило, вертикальный разрез здания или сооружения, т.е. разрез, выполненный секущей плоскостью, перпендикулярной к горизонтальной плоскости проекций.
Допускается самостоятельная нумерация для разрезов и сечений отдельных участков здания, сооружения или установок, все чертежи которых размещены на одном листе или группе листов и если на этих чертежах отсутствуют ссылки на разрезы и сечения, расположенные на других листах графического документа.
Допускается обозначать разрезы прописными буквами русского алфавита, а сечения - прописными или строчными буквами русского алфавита (за исключением букв, указанных в 5.3.2).
Положение секущей плоскости указывают на чертеже линией сечения (разомкнутой линией по ГОСТ 2.303). При сложном разрезе штрихи проводят также у мест пересечения секущих плоскостей между собой. На начальном и конечном штрихах следует ставить стрелки, указывающие направление взгляда; стрелки должны наноситься на расстоянии 2 - 3 мм от конца штриха (рисунок 10).
Рисунок 10
Направление взгляда для разреза по плану здания и сооружения принимают, как правило, снизу вверх и справа налево.
5.5.3. Если отдельные части вида (фасада), плана, разреза требуют более детального изображения, то дополнительно выполняют местные виды и выносные элементы - узлы и фрагменты.
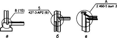
5.5.4. На изображении (плане, фасаде или разрезе), откуда выносят узел, соответствующее место отмечают замкнутой сплошной тонкой линией (окружностью, овалом или прямоугольником со скругленными углами) с нанесением на полке линии-выноски обозначения узла арабской цифрой в соответствии с рисунками 11 а, 11 б или прописной буквой русского алфавита в соответствии с рисунком 11 в.
Рисунок 11
При необходимости ссылки на узел, помещенный в другом графическом документе (например, основном комплекте рабочих чертежей), или на рабочие чертежи типового строительного узла указывают обозначение и номер листа соответствующего документа в соответствии с рисунком 11 б или серию рабочих чертежей типовых узлов и номер выпуска в соответствии с рисунком 11 в.















