Пояснительная записка (1232974), страница 5
Текст из файла (страница 5)
Согласно этим категориям проектируется и монтируется насосная станция.
Насосы, оборудование и трубопроводы следует выбирать в зависимости от расчетного притока и физико-химических свойств сточных вод и осадков, высоты подъема и с учетом характеристик насосов и напорных трубопроводов, а также очередности ввода в действие объекта.
Одними из важнейших показателей ддя выбора насосных агрегатов являются характеристики подачи и напора. Подача – это объем жидкости, подаваемой насосом в единицу времени, выраженной в м3/час (кубометров в час) или л/сек, (литров в секунду). Обозначается «Q». Напор – это разность удельных энергий жидкости в сечениях после и до насоса, выраженная в метрах водяного столба. Обозначается «Н»[6].
Выбор насосных агрегатов
Будем выбирать насосные агрегаты компании Grundfos серии Morris, которые специализированы специально под канализационные насосные станции, способные отводить стоки с большим количеством твердых включений.
Исходя из того, что сточные воды при помощи насосов по трубопроводам попадают на улицу Карла Маркса, а далее по тем же трубам идет самотеком до главной станции в поселке Березовка и принимая коэффициент запаса равным Кз = 1,4, получаем, что напор должен быть не менее 56 метров.
В таблице 3.3 показаны данные КНС – 5А, в которой указаны минимальное, максимальное и среднее значения расхода и напора, исходя из который можно определить какие насосные агрегаты нам потребуются.
Ниже приведена таблица – сравнение двух эквивалентных насосов с похожими техническими характеристиками. Так же будут примечания, аргументирующие выбор насосов марки Morris 7100 NC. В таблице 3.3 показана Q – H характеристика такого насоса[7].
Таблица 3.2 - Сравнение двух эквивалентных насосных агрегатов
| Требования, предъявляемые насосам | Насосные агрегаты | Примечания | ||
| Grundfos | Wilo | |||
| Производительность, | 3000 | 3000 | ||
| Напор, м | 56 | 56 | ||
| Конструктивные особенности: -корпус -рабочее колесо | Чугун 3% Никель, ASTM A 48 Класс 30/3% Никель | Ковкий чугун Gr FG 260 | Добавление трехпроцентного никеля поможет бороться с коррозией и абразивом, который обладает сопротивлению износа | |
| Канал для охлаждающей жидкости | Тефлон, TFE со стеклонаполнителем | Бронза | Бронза ухудшает охлаждающие характеристики насоса | |
| Вал | Легированная сталь, AISI 4150 | Нержавеющая сталь AISI 410 | Сравнимые характеристики | |
| Всасывающий патрубок dy 500 мм | Горизонтальное расположение по оси вала насоса, фланец патрубка dy 500 мм PN 10 | Горизонтальный всасывающий патрубок dy 450 мм расположен перпендикулярно оси вала | Перпендикулярное расположение патрубка технически не позволяет установить насос на станции | |
| Частота вращения, об/мин | 750 | 1480 | Не соответствует выбранному двигателю | |
Рисунок 3.1 – Q – H характеристика насоса Morris 7100 NC.
Данные двигателя электродвигателя типа АДЧР-630-6.0-8У1 мы можем увидеть в таблице 3.2.
Таблица 3.2 – Паспортные данные электродвигателя АДЧР-630-6.0-8У1
| Частота вращения, об/мин | 750 |
| Cos Ф (при номинальной нагрузке) | 0,79 |
| Мощность, кВт | 630 |
| Номинальный ток, А | 81 |
| Номинальное напряжение, кВ | 6 |
Расчет центробежного электродвигателя выполняется по формуле:
где
- коэффициент запаса, для центробежных насосов принимается равным 1,1-1,4;
- плотность перекачиваемой жидкости. В нашем случае это сточные воды с твердыми включениями до 200 мм, в таком случае плотность жидкости,
≈ 10251
;
Q - производительность насоса. Для насоса АДЧР-630-6.0-8У1 производительность
=0.83
;
Н - высота столба, выдаваемого насосом. Для насоса АДЧР-630-6.0-8У1 высота столба Н=56м;
- коэффициент полезного действия насоса. Для насоса АДЧР-630-6.0-8У1
=94,9%;
- коэффициент полезного действия передаточного механизма. Так как в нашем случае редуктор отсутствует, коэффициент полезного действия передаточного механизма
=1.
По величине Р подбирают ближайший больший по мощности комплектующий двигатель, при этом может быть использован любой тип двигателя с соответствующей мощностью и частотой вращения, и соответствующий вышеперечисленным требованиям. Частота вращения, требуемая для насоса - 750 об/мин. Выбран двигатель СДН 2-16-36-8У3, удовлетворяющий всем вышеперечисленным требованиям.
Выбор преобразователя частоты
Из технического задания по модернизации КНС – 5А преобразователей должно быть два. Первый будет управлять насосными агрегатами М2 и М4 и второй – M1, М3 и М5. Преобразователь частоты должен быть высоковольтным и рассчитан на выходное напряжения 6 кВ. Высоковольтный преобразователь частоты должен быть выполнен на элементной базе на IGBT – транзисторах и иметь микропроцессорную систему управления. Он должен быть с прямым выходом на двигатель без реакторов и транформаторов.
Всем вышеперечисленным требованиям соответствует высоковольтный преобразователь частоты компании TMEIC серии TMdrive – MVG2[8].
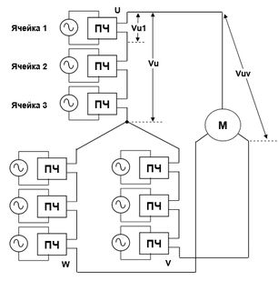
Для наглядного сравнения на рисунке 3.2 продемонстрированы типовые схемы двухтрансформатороного преобразователя(а) и преобразователя TMdrive – MVG2(б).
(а)
(б)
Рисунок 3.2 - Типовая двухтрансформаторная схема (а) и TMdrive – MVG (б)
На фоне современного преобразователя TMdrive – MVG2 можно выделить проблемы типовая двухтрансформаторного преобразователя:
- необходим синусный фильтр;
- необходимо два трансформатора;
- сложный монтаж и высокая стоимость кабелей (большое сечение).
При этом можно выделить преимущества TMdrive – MVG2:
- надежен прост в эксплуатации;
- компактная и простая установка;
- отсутствие гармоник на двигатель.
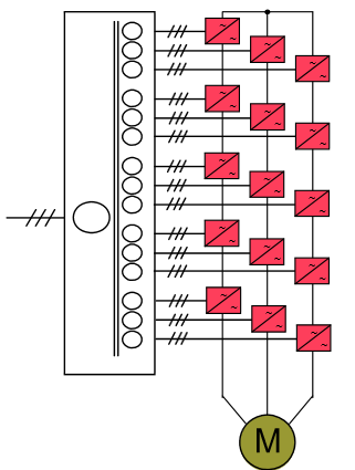
В конструкции, показанной на рисунке 3.3 преобразователя частоты инверторы представляет собой многоуровневое соединение преобразовательных ячеек.
Рисунок 3.3 - Конструкция инвертора (а) и модуля ячейки (б)
(а) (б)
Ячейкой преобразователя служит долговечный конденсатор вставки постоянного тока с диодный выпрямителем и однофазным преобразователем.
Принцип управления, показанный на рисунке 3.4 основан на широтно - импульсной модуляции. Последовательное подключение ячеек преобразователя формирует синусоидальную форму напряжения.
Рисунок 3.4 – принцип управления преобразователем TMdrive.
Технологический контроллер СТК500 производства ООО «Сибирь-мехатроника». Эта компания занималась модернизацией хабаровского оборудования. Контроллер СТК500 предназначен для построения комплексных систем автоматического управления технологическим процессом объектов, имеющих сложную или распределенную структуру технологической цепи. Его схематичное изображение можно увидеть на рисунке 3.5.
Рисунок 3.5 - Схематичное изображение контроллера СТК500
Эффективно применяется для управления насосными станциями первого, второго и последующих подъемов, главными канализационными станциями, магистральными насосными станциями, технологическим оборудованием со специфическими требованиями к алгоритмам работы.
Объединяет управление основным (насосные агрегаты, станции частотного управления, устройства плавного пуска и т.д.) и вспомогательным оборудованием (задвижки, регулирующие клапаны, системы дренажа и т.п.).
Управление процессом осуществляется оператором или системой верхнего уровня АСУ ТП в ручном или автоматическом режиме. Вся информация о работе оборудования выводится на монитор контроллера в графическом, текстовом, табличном виде. Основные технические характеристики приведены в таблице 3.3
Таблица 3.3 Характеристики контроллера СТК500
| Напряжение питания | 220 В, 50 Гц |
| Количество питающих вводов | 2 |
| Источник бесперебойного питания | 24 В, 7 АхЧ |
| Температура окружающей среды | +5 ... +40 °С |
| Степень защиты оболочки | IP34 |
| Климатическое исполнение | УХЛ4 |
| Относительная влажность | 95 %, без росы |
| Размеры | 1000x600x300 мм |
| Масса | 35 ... 45 кг |
Реконструкция распределительного устройства с заменой на ячейки 8DJH фирмы «Siemens».
По техническому заданию при модернизации заменены ячейки на распределительном устройстве. КРУЭ 8DJH применяются для распределения энергии во вторичных распределительных сетях, в том числе в сложных условиях окружающей среды. Распредустройство имеет трехфазное исполнение, металлический корпус и элегазовую изоляцию. Распределительное устройство соответствует требованиям IEC 62271-200 и ГОСТов.
3.2 Разработка функциональной схемы
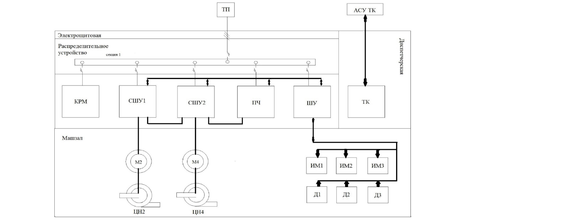
На рисунке 3.1 представлена функциональная схема канализационной насосной станции №5 с частотным преобразователем. Упростим ее, рассмотрев на примере одной секции станции.
Рисунок 3.1 - Функциональная схема одной из секций канализационной насосной станции №5А.
/ч















