диплом по угп нормоконтр редактированный (1) (1231423), страница 6
Текст из файла (страница 6)
Рисунок 2.2– Гидропередача в разрезе
1 – привод датчика скорости; 2 – привод реверса и режимов; 3 – приводной вал; 4 – главный вал; 5 – корпус гидропередачи; 6 – вторичный вал; 7 – вал реверса; 8 – раздаточный вал; 9 – насос системы смазки; 10 – масляный фильтр и электрогидравлические вентили; 11 – вал отбора мощности; 12 – подпорный клапан; 13 – золотниковая коробка; 14 – вал привода насоса;15 – питательный насос; 16 – откачивающий насос; 17 – фильтр откачивающего насоса.
Рисунок 2.3 – Общий вид и разрез гидропередачи УГП 750-1200:
Гидравлическая часть передач УГП 750-1200 состоит из двух гидротрансформаторов и одной гидромуфты, передачи УГП 750/2Т – из двух гидротрансформаторов типа ТП1000. Насосные колеса всех гидроаппаратов получают вращение через повышающую зубчатую пару входного редуктора.
Повышающий входной редуктор предназначен не только для уменьшения размеров гидропередачи, но и главным образом для согласования характеристик гидроаппаратов и дизеля. Это согласование сводится к выбору такого передаточного отношения входного редуктора, при котором момент нагружения со стороны гидротрансформатора соответствует вращающему моменту дизеля. В этом случае обеспечивается полное использование мощности дизеля. Так как такая операция практически выполняется только при постройке или заводском ремонте тепловоза, то отсюда очевидна важность выбора и осуществление требуемого передаточного отношения входного редуктора для реализации расчетной силы тяги тепловоза.
При работе дизеля его связь с движущими колесами происходит через жидкость гидроаппаратов, работающих последовательно при различных скоростях движения. Включение гидроаппаратов производится посредством поочередного наполнения их рабочей жидкостью, а выключение – опорожнением. Управление переключением гидроаппаратов автоматическое, осуществляемое в зависимости от позиции контроллера машиниста (частоты вращения вала дизеля) и скорости движения тепловоза.
Питание гидроаппаратов рабочей жидкостью и смазка подшипников и шестерен гидропередачи обеспечиваются центробежным питательным насосом. Подача масла для смазки вращающихся частей при движении тепловоза с неработающим дизелем производится шестеренчатым насосом, расположенным в нижней части корпуса гидропередачи.
В механическую часть гидропередачи входит реверс-режимный редуктор и механизм включения реверса и режимов. Механизм включения реверса и режимов состоит из двух цилиндров двойного действия, системы рычагов и блокировок.
На кинематической схеме гидропередачи УГП 750-1200 (рис.2.3) можно выделить две кинематические цепи:
силовую, через которую осуществляются связь и передача вращающего момента от вала дизеля к осям колесных пар;
вспомогательную, предназначенную для отбора мощности на вспомогательные нужды гидропередачи и тепловоза.
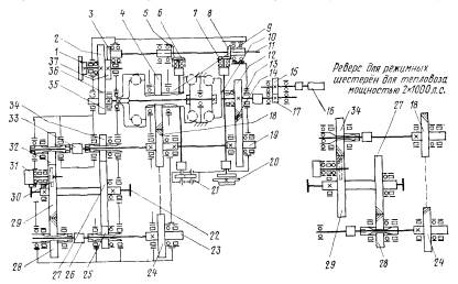
1 – приводной вал, 2–8, 12, 14, 15, 17, 18, 24, 25, 27–30, 32–35, 37 – шестерни гидропередачи; 9 – турбинный вал II ступени, 10 – турбинный вал I ступени; 11 – вал отбора мощности; 13 – главный вал 16 – датчик скорости, 19 – вторичный вал, 20 – питательный насос; 21 – откачиваюший насос, 22 – раздаточный вал, 23 – вал реверса, 26 и 33 – подвижные шлицевые муфты, 31 – насос системы смазки, 36 – насосный вал
Рисунок 2.4 – Кинематическая схема гидропередачи УГП 750-1200
Силовая кинематическая цепь включает в себя:
а) приводной вал 1 с шестерней 2 повышающего входного редуктора и шестерней отбора мощности 37;
б)главный вал гидропередачи 13, состоящий из насосного вала 36 и турбинных валов первой 10 и второй 9 ступеней. На насосном валу 36 расположены ведомая шестерня 35 повышающего входного редуктора, насосные колеса двух гидротрансформаторов и насосное колесо гидромуфты. На турбинном валу первой ступени находится шестерня 12 и турбинное колесо первого гидротрансформатора, на турбинном валу второй ступени – шестерня 4 и турбинное колесо второго гидротрансформатора и гидромуфты;
в) вторичный вал 19, который составлен из ступиц ведомых шестерен 14 и 18 первой и второй ступеней, соединенных между собой неподвижной шлицевой муфтой, и шестерен 34 маневрового и 32 поездного режимов, находящихся в постоянном зацеплении с шестернями 27 и 29 раздаточного вала 22. Шестерни 34 или 32 с помощью подвижной шлицевой муфты 33, постоянно соединенной с шестерней 18, связывают гидравлическую часть передачи с реверс-режимным редуктором;
г) вал реверса 23, состоящий из паразитной шестерни 24, сцепленной постоянно с шестерней 18 вторичного вала, и шестерен 25 маневрового и 28 поездного режимов, находящихся в постоянном зацеплении с шестернями 27 и 29 раздаточного вала. С помощью подвижной шлицевой муфты 26 шестерни 25 или 28 могут быть соединены с шестерней 24,что обеспечивает изменение направления вращения раздаточного вала;
д) раздаточный (выходной) вал 22с шестернями 27и 29маневрового и поездного режимов.
Вспомогательная кинематическая цепь состоит из вала отбора мощности 11с шестерней 3,сцепленной постоянно с шестерней 37,и двух пар конических шестерен 5и 6, 8и 7, через которые передается вращение на валы привода откачивающего 21 и питательного 20 насосов. От шестерни 29 раздаточного вала через шестерню 30 приводится в действие насос 31 системы смазки гидропередачи при движении тепловоза с неработающим дизелем, а от главного вала – через пару шестерен 17 и 15 датчик 16 скорости движения.
Передача вращающего момента в силовой цепи осуществляется следующим образом: от вала дизеля через упругую муфту на приводной вал и затем через повышающую зубчатую пару 2 и 35 входного редуктора на главный вал гидропередачи; с главного вала на раздаточную шестерню 18 вторичного вала через шестерни 12 и 14 первой ступени и неподвижную шлицевую муфту, если заполнен первый гидротрансформатор, или шестерню 4, если заполнен второй.
Далее, в зависимости от направления движения тепловоза передача момента производится через подвижную шлицевую муфту 33 вторичного вала или через паразитную шестерню 24 и такую же муфту 26 вала реверса на раздаточный вал. Подвижные шлицевые муфты могут поочередно передавать вращающий момент на раздаточный вал через шестерни 34 или 25 и 27 маневрового режима, а также шестерни 32 или 28 и 29 поездного режима.
Гидропередача УГП 750-1200 применяется на тепловозах разной мощности и различного назначения, при этом изменяется лишь передаточное отношение входного редуктора.
В передачах для магистральных тепловозов ТГ102К и ТГ16 режимные шестерни 28 и 34 не ставятся. Шестерни 27 и 29 раздаточного вала, а также шестерни 28 и 32 реверсивного и вторичного валов выполняются с одинаковым числом зубьев.
В гидропередаче УГП 750/2Т гидромуфта отсутствует, но от этого передача конструктивно изменяется незначительно по сравнению с трехциркуляционной передачей. В ней на месте насосного колеса гидромуфты поставлена втулка, а турбинный вал укорочен на длину посадочного места турбинного колеса. Тяговая экономическая характеристика тепловозов с гидропередачей УГП 750-1200 имеет ступенчатую форму, соответствующую числу ступеней скорости.
Основная характеристика гидропередачи Voith L530 приведена в таблице 2.5 (более подробные данные фирма «Voith» предоставляет при поставке своего изделия).
Таблица 2.5 – Основная характеристика гидропередачи Voith L530
| Наименование показателя | Характеристика |
| Voith L530 |
| Многоциркуляционная с поочередным наполнением и опорожнением гидроаппаратов |
| С двумя гидротрансформаторами, без гидромуфты, с двумя режимами (маневровым и поездным) |
| Электропневматическая, при полной остановке локомотива |
| Электрогидравлическаядвухимпульсная, в зависимости от скорости движения тепловоза и положения рукоятки контроллера |
| TOTAL AZOLLA VTR 32, SHELL TEGULA V 32, ARAL DEGOL BG 32, SDL 18 (ADDINOL), SRS WIOLAN HF 32 DB |
| 280 |
| Последовательная |
| Центробежный |
| По часовой стрелке (со стороны входного вала) |
| Н Продолжение таблицы 2.5 аименование показателя | Характеристика |
| 11. Температура масла (рабочей жидкости): -в картере гидропередачи, °С | От плюс 50 до плюс 80 |
| -на выходе из гидропередачи, °С не более | 110 |
| -в картере гидропередачи, при которой возможен запуск дизеля, °С не менее | Минус 15 |
| Через упругую муфту при посредстве карданного вала |
2.2.2 Цель и задачи испытаний
Испытания проводятся с целью установления (проверки) работоспособности гидропередачи после ремонта и, при положительных результатах, передачи её в штатную эксплуатацию.
Задачей стендовых испытаний является проверка соответствия гидропередачи основным паспортным характеристикам, требованиям нормативно-технической документации.
Организация испытаний
Стендовые испытания гидропередачи УГП 750-1200 проводятся на основании требований данной программы и соответствующих инструкций (регламента) ремонтного предприятия (депо). Испытания гидропередачи Voith L530 проводятся по собственной программе.
Подготовку гидропередачи для проведения испытаний проводят специально назначенные специалисты. Необходимую документацию и материалы предоставляет служба (участок, цех и т.д.), производившая ремонт гидропередачи.
Испытания гидропередачи проводят испытатели, изучившие устройство и особенности работы стенда, сдавшие в установленном порядке экзамены на знание безопасных методов работы и назначенные для этого в соответствии с приказом начальника предприятия (депо). Для проведения испытаний назначается руководитель испытаний и ответственный по технике безопасности.
По результатам проведённых испытаний испытатели устанавливают соответствие испытываемой гидропередачи паспортным данным, ремонтной технической документации, существующей нормативной документации, утверждённой в установленном порядке.
2.2.4 Подготовка к испытаниям
Проверка механических узлов. Подача гидропередачи на стенд.
К испытаниям предъявляется гидропередача с паспортом и комплектом соответствующей ремонтной технологической документации.















