диплом по угп нормоконтр редактированный (1) (1231423), страница 5
Текст из файла (страница 5)
где
– для заданной программы величина постоянная.
Отсюда следует, что полная загрузка рабочих бригад при заданной программе производства в условиях ритмичной организации процесса может быть достигнута посредством регулирования набора закрепляемых за бригадой работ числа рабочих, одновременно занятых в процессе
числа параллельных бригад одинаковой специализации
.
Установив таким образом загрузку бригад, их численный состав и специализацию, приступают к составлению графика организации производственного процесса. Сперва заготовляют форму графика, на сетке времени которого в принятом масштабе наносят жирными линиями интервалы времени
.Затем последовательно ходу процесса планируют на графике порядок выполнения работ, закрепленных за каждой бригадой, укладывая их в пределах одного интервала
при
или двух интервалов
при
и т. п.
При этом работа каждого рабочего на графике обозначается одной линией.
Следовательно, параллельная работа двух и более рабочих фиксируется на графике соответствующим числом параллельных линий.
Графиком устанавливают порядок выполнения работ, их продолжительность и число занятых рабочих; число рабочих бригад, их состав и специализацию; количество необходимых параллельных бригад; плотность работ, или фронт рабочих, занятых на ремонте гидропередачи в каждом ритме; число ремонтных и сборочных позиций при поточной организации (по числу ритмов процесса) и их специализацию; продолжительность всего ремонтного цикла. При этом обеспечена полная загрузка каждой бригады по условию
.
2.2 Разработка технологической обкатки и испытаний под нагрузкой
После ремонта гидравлическую передачу испытывают на стенде (рис. 2.1) или непосредственно на тепловозе. Испытание производится после ее окончательной сборки. Качество сборки предварительно проверяют вращением поочередно приводного и раздаточного валов от руки. Вращение должно быть свободным, без заеданий и посторонних шумов.
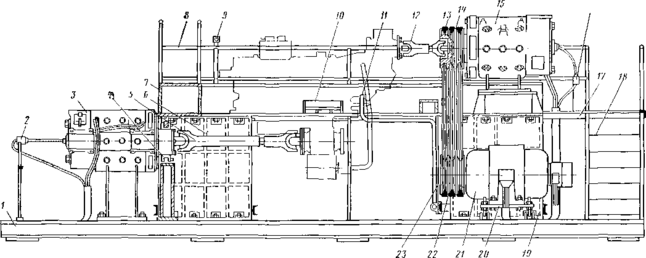
1 – нижняя рама; 2, 16–датчики тахометра; 3– генератор; 4– колодочный тормоз; 5, 12– карданные валы; 6– задняя опора; 7 – верхняя рама; 8–ограждение; 9 – кнопка аварийной остановки; 10– кронштейн; 11 – труба подвода масла; 13– ремень; 14, 22– шкивы; 15 – приводной двигатель; 17– площадка обслуживания; 18– трал; 19– передняя опора;20 – опора двигателя; 21 – вспомогательный двигатель; 23 – ограждение ремней
Рисунок 2.1 – Стенд для обкатки и испытания гидропередачи.
Унифицированную гидропередачу испытывают на стенде с приводом от электродвигателя постоянного тока мощностью не менее 250 кВт. Режимы испытания представлены в таблице. 2.2.
В процессе контрольных испытаний проверяется: качество сборки; герметичность корпуса, штуцерных соединений и уплотнений по выходным фланцам валов; давление масла в системах питания гидроаппаратов и смазки; включение и выключение муфт реверса и режимов; работа блокирующих устройств; характер шума и вибрации гидропередачи; состояние загрязненности фильтров питательного, откачивающего и вихревого насосов, насоса системы смазки и фильтров системы управления гидропередачей.
Температурный режим работы гидропередачи проверяется в процессе всего периода испытаний, при этом показания термометров не должны превышать величин, указанных в табл. 2.3.
После испытаний гидропередачу осматривают с частичной разборкой, достаточной для выявления состояния рабочих поверхностей зубьев шестерен, шлицевых соединений привода питательного и откачивающего насосов, шлицев муфт реверса и режимов. При этом проверяется стабильность зазоров по рабочим колесам гидротрансформаторов, производится полная разборка насосов с осмотром золотников золотниковой коробки, проверяется крепление узлов и деталей и осевые разбеги валов. После разборки и осмотра гидропередачу снова собирают и проверяют ее работу в течение 0,5 ч без нагрузки.
В случае вынужденных остановок из-за неполадок в работе, связанных с необходимостью замены каких-либо узлов или деталей, счет времени начинается сначала после внесения необходимых исправлений.
После окончания обкатки и испытания гидропередачи масло сливают, фильтры очищают и промывают.
Таблица 2.2 – Режимы испытания под нагрузкой
| Номинальная мощность УГП, л с | Режим работы | Положение муфт реверса | Ступень скорости | Передаточное отношение гидроаппарата | Время работы, мин |
| 750 | Поездной | Вперед | I III | 0,87 0,97 | 30 30 |
| Назад | I III | 0,87 0,97 | 30 30 | ||
| Маневровый | Вперед | II | 0,80 | 60 | |
| Назад | II | 0,80 | 60 | ||
| 1000 | Поездной | Вперед | I | 0,70 | 40 |
| II | 0,87 | 40 | |||
| III | 0,97 | 40 | |||
| Н Продолжение таблицы 2.2 оминальная мощность УГП, л с | Режим работы | Положение муфт реверса | Ступень скорости | Передаточное отношение гидроаппарата | Время работы, мин |
| Назад | I | 0,70 | 40 | ||
| II | 0,87 | 40 | |||
| III | 0,97 | 40 |
Таблица 2.3 – Температурный режим работы гидропередачи
| Место контроля температуры | Температура масла в °С при выходной мощности | ||
| 250 кВт | 500 кВт | номинальной | |
| На выходе из питательного насоса | 95 | 95 | 95 |
| В круге циркуляции заполненного гидротрансформатора | 110 | 115 | 115 |
| В круге циркуляции опорожненного гидротрансформатора | 113 | 130 | 140 |
| Превышение нагрева корпуса в зоне наружных подшипниковых узлов по сравнению с основной частью корпуса | 15 | 20 | 25 |
2.2.1 Объект испытаний
Гидропередача является составным звеном энергетической цепи тепловоза. Свойства и характеристики гидропередачи в значительной мере определяют тягово-экономические характеристики тепловоза, а ее конструктивная сложность и уровень технологической реализации – эксплуатационные показатели: надежность, стоимость ремонта и эксплуатации и т. д.
Объектами испытаний являются: отечественная гидропередача типа УГП 750-1200 и немецкая гидропередача типа Voith L530. Гидропередачи предназначены для передачи крутящего момента от коленчатого вала дизеля тепловоза через карданные валы и осевые редукторы на колёсные пары тепловоза.
Место установки гидропередачи типа УГП 750-1200, прошедшей испытания, техническая характеристика которой соответствует паспортным данным, – тепловоз серии ТГ16. Немецкая гидропередача Voith L530 планируется к установке на тепловозах серии ТГ16М.
На стендовые испытания предъявляется гидропередача, укомплектованная документацией.
Все испытания проводятся при нормальных климатических условиях по ГОСТ 15150-69.
Унифицированная гидропередача УГП 750-1200. В этой передаче, предусмотрена унификация в следующих направлениях:
-
вобеспечении передачи мощности от 750 до 1200 л. с. при одинаковых ее габаритах;
-
в возможности отбора мощности для вспомогательных нужд на разных тепловозах;
-
во взаимозаменяемости основных узлов и деталей.
В этот же ряд унификации следует отнести и гидропередачу УГП 750/2Т, являющуюся усовершенствованной модификацией гидропередачи УГП 750-1200.
Основная характеристика гидропередачи УГП 750-1200 приведена в таблице 2.4.
Таблица 2.4 – Основная характеристика гидропередачи УГП 750-1200
| Наименование показателя | Характеристика |
| Тип гидротрансформатора | ТП 1000М |
| Тип гидромуфты | С радиальными лопатками |
| Переключение ступеней скорости | Автоматическое, гидравлическим способом |
| Система автоматического управления (САУГ) | Электрогидравлическая, двухкоординатная |
| Система переключения реверс-режима | Электропневматическая с воздушным доворотом на УГП750-1200 и гидравлическим доворотом на УГП750/2Т |
| Система питания гидроаппаратов и охлаждения рабочей жидкости | Параллельная |
| Рабочая жидкость | Масло ГТ50 МРТУ 38-1-256–67, трубинное 22 ГОСТ 32–53 с антипенной присадкой ПМС-200А |
| Емкость масляной ванны, л | 280 |
| Н Продолжение таблицы 2.4 аименование показателя | Характеристика |
| Система блокировок безаварийной работы | Блокировки муфт реверса и режимов; контроль предельной допустимой скорости движения |
| Направление вращения входного вала | По часовой стрелке, если смотреть со стороны входного вала |
| Продолжительность переключения реверса или режима при заторможенном тепловозе | Не более 4 с (при совмещении ГТР – не более 8с) |
| Подача насосов, л/мин, не менее | |
| питательного при пн=3050 об/мин и противодавлении 4,5 кгс/см2 | 1250 |
| откачивающего при пн= 3140 об/мин | 215 |
| системы смазки при пн = 4200 об/мин | 80 |
| Расход масла на холодильник (л/мин, не менее) при номинальном режиме дизеля с суммарным сопротивлением трубопровода, холодильника и фильтра, равном 2,4 кгс/см, и работе: на ГТР | 400 |
| Температура масла на выходе из питательного насоса, °С: рабочая | 40–90 |
| максимально допустимая | 100 |
| минимально допустимая припуске | – 5 |
| Падение момента на выходном валу (силы тяги) при переключении ступеней скорости от его значения в расчетной точке, %, не более | 30 |
| Продолжительность восстановления момента, с, не более | 5 |
| Отклонение точек переключения ступеней от заданных по скорости тепловоза, % | ±3% |
| Коэффициент возврата САУГ | 0,91–0,96 |
| Диапазон рабочих скоростей, не менее | 6 |
| Коэффициент передачи мощности в диапазоне рабочих скоростей, не менее | 0,7 |
| Моторесурс, ч | 20000 |
В конструкции гидропередачи (рис.) можно выделить три части: гидравлическую, механическую, системы автоматики, питания и смазки. Гидравлическая и механическая части гидропередачи конструктивно объединены в общем корпусе.
















