1. Наумкин ПЗ ВКР (1230797), страница 3
Текст из файла (страница 3)
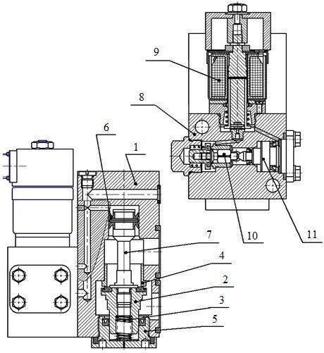
Рисунок 2. 3 – Кран резервного управления
Прибор состоит из: корпуса – 1; с двумя клапанами – 3, 4; рукоятки – 5 с фиксированными положениями и кронштейна – 2. Рукоятка крана – 5 неподвижно соединена с кулачком – 6. Поворотом рукоятки кулачок открывает один из клапанов. При этом происходит или наполнение уравнительного резервуара до давления, отрегулированного редуктором, или сообщение уравнительного резервуара и управляющей полости реле давления, расположенного в блоке электропневматических приборов, с атмосферой. К кронштейну крана подводятся трубы от блока электропневматических приборов.
Кран резервного управления монтируется в пульте таким образом, чтобы его рукоятка перемещалась в вертикальной плоскости. При этом тормозное положение должно быть внизу. Когда работают контроллером, рукоятка крана резервного управления должна находиться в тормозном положении. Рекомендуется опломбировать рукоятку в этом положении, так как ее перемещение во время действия контроллера может вызвать несанкционированное торможение.
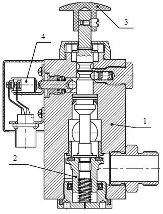
Клапан аварийного экстренного торможения (рисунок 2.4) служит для выполнения экстренного торможения при отказе контроллера или невозможности воспользоваться им.
Рисунок 2.4 – Клапан аварийного экстренного торможения
Данный узел состоит из: корпуса – 1; с клапаном – 2; кнопки – 3 встроенной в корпус; микровыключателя – 4, установленного на корпусе. Проходное сечение клапана соответствует отверстию диаметром 25 мм. При нажатии на кнопку – 3 открывается клапан, сообщающий тормозную магистраль с атмосферой. Положения кнопки фиксированные.
К корпусу клапана – 1 подводятся трубы диаметром один дюйм. Одновременно при нажатии на кнопку – 3 происходит переключение контактов микровыключателя, что вызывает включение песочницы, обесточивание контроллера и по достижении давления в тормозных цилиндрах локомотива 0,3 МПа (3 кгс/см2) – выключение устройства блокировки тормозов.
При возврате кнопки в первоначальное положение восстанавливается предыдущее состояние крана машиниста.
Блок электропневматических приборов является исполнительной частью крана машиниста. Блок – это панель с установленными на ней пневматическими и электропневматическими приборами. Здесь же размещается электронный блок управления. Панель представляет собой две плиты, соединенные неподвижно. Внутри одной из плит имеются каналы для прохода сжатого воздуха.
Рисунок 2.5 – Пневматическая схема крана машиниста номер 130
На панели устанавливаются: 1 – кран резервного управления; 2 – рукоятка блокировки тормозов; 3 – кнопка экстренного торможения; 4 – Стабилизатор; 5 – редуктор; 6 – блокировка; 7 – реле давления; 8 – питательный клапан; 9 – срывной клапан; 10 – уравнительный резервуар. Для осуществления внешних электрических связей на панели предусмотрены штепсельные разъемы. Все провода, обеспечивающие внутренние связи между штепсельными разъемами, электронным блоком, датчиками давления и электропневматическими вентилями, собраны в жгуты и уложены в кабель-каналы.
Блок управления краном машиниста содержит дешифратор и процессор, конструктивно выполненные в виде сменных модулей. Дешифратор формирует сигналы управления электропневматическими вентилями блока электропневматических приборов. Сигналы могут формироваться от одного из трех источников: контроллера крана машиниста, КЛУБа или САУТа, верхнего уровня управления УСАВП или МСУД (автоведение). При работе от контроллера крана машиниста дешифратор по информации от семи токовых выходов контроллера формирует сигналы управления, смотри таблицу 2. 1.
САУТ имеет наивысший приоритет. Информация от этой системы поступает с помощью двух контактов реле. В зависимости от положения контактов (замкнут или разомкнут) САУТ может сформировать для дешифратора две команды управления: «Отпуск» и «Перекрыша». При отсоединении на блоке электропневматических приборов сигнала от САУТа дешифратор формирует команду «Служебное торможение».
Работа дешифратора от верхнего уровня – УСАВП или МСУД (автоведение) возможна лишь в том случае, когда рукоятка контроллера крана машиниста находится в положении «Поездное». При работе от верхнего уровня управления УСАВП или МСУД дешифратор выполняет те же команды, что и от контроллера крана машиниста, за исключением команды «Экстренное торможение». Управляющие сигналы для работы дешифратора в этом режиме формирует процессор.
Рисунок 2.6 – Электронная система крана 130
Дешифратор формирует для процессора сигналы о положении рукоятки контроллера крана машиниста, а также о состоянии вентилей и САУТ.
Процессор принимает информацию о положении рукоятки контроллера, состоянии вентилей и от датчиков давления, выдает сигналы в дешифратор по управлению вентилями (на автоведение), обменивается информацией с адаптером, установленным на блоке тормозных приборов, по интерфейсу CAN2.0B. Процессор осуществляет прием следующих команд от САВП или МСУД по интерфейсу CAN2.0B:
- «Управление». Получив эту команду, процессор передает в дешифратор полученную от верхнего уровня позицию (режим работы крана машиниста) и выдает в интерфейс CAN2.0B информацию о реальном коде позиции;
- «Запрос давлений». По этой команде процессор выдает в интерфейс CAN2.0B информацию от датчиков давления в пересчете на атмосферное давление;
- «Диагностика». Процессор, получив эту команду, выдает в интерфейс CAN2. 0В информацию, которая отражает: реальное положение рукоятки; заданное положение от верхнего уровня; режим САУТ; состояние вентилей ВЗ – В8 (включен/выключен); неисправность вентилей ВЗ – В8; соответствие состояния вентилей режиму работы; неисправность датчиков давления; ошибку обмена по CAN2.0B.
Устройство блокировки тормозов (рисунок 2.7) предназначено для исключения возможности управления из недействующей кабины. Включают устройство поворотом ключа выключателя цепей управления до упора по часовой стрелке (первое положение). Ключ переключает контакты пакетного выключателя, который воздействует на электропневматические вентили В1 и В2 (рисунок 2.7), установленные на корпусе – 1. В корпусе размещаются три клапана – 2, 3 и 4, осуществляющие подачу сжатого воздуха от крана машиниста в тормозную магистраль (клапан 2), из питательной магистрали к редуктору крана машиниста (клапан 3) и от крана вспомогательного тормоза к магистрали вспомогательного тормоза (клапан 4).
Рисунок 2.7 – Устройство блокировки тормозов
Устройство состоит из: 1 – корпус; 2,3,4 – клапаны; 5 – выключатель; 6 – поршень; 7 – пружина; 8 – пружина; 9 – крышка; 10 – заглушка.
Кран вспомогательного тормоза – самостоятельное устройство для управления тормозами локомотива и не является составной частью крана машиниста. На клапане тормозной магистрали – 2 устанавливается микровыключатель – 5, который снимает напряжение с вентиля после включения устройства. В корпусе имеется также распределительный поршень – 6, управляемый сжатым воздухом, который поступает от электропневматических вентилей – 7.
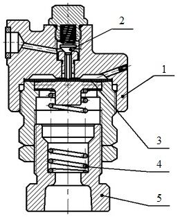
Редуктор (рисунок 2.8) осуществляет поддержание заданного давления в уравнительном резервуаре. В блоке электропневматических приборов задействован редуктор, аналогичный редуктору крана машиниста номер 395.
Рисунок 2.8 – Редуктор
Редуктор состоит из корпуса – 1 с питательным клапаном – 2 и мембраны – 3. Давление сжатого воздуха регулируется вращением упорки – 4, воздействующей на пружину – 5. На входе в редуктор установлен фильтр.
Стабилизатор (рисунок 2.9) также аналогичен стабилизатору крана машиниста номер 395. Этот узел предназначен для перехода с повышенного давления в уравнительном резервуаре на зарядное, отрегулированное редуктором, не вызывая срабатывания тормозов.
Рисунок 2.9 – Стабилизатор
Стабилизатор состоит из корпуса – 1 с клапаном – 2 и мембраны – 3. Полость над мембраной сообщена с атмосферой дроссельным отверстием. Время истечения воздуха через дроссельное отверстие регулируется пружиной – 4 вращением упорки – 5. Время снижения давления с 0,6 до 0,58 МПа (с 6 до 5,8 кгс/см2) составляет 80–120 секунд.
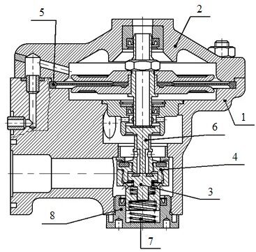
Реле давления (рисунок 2.10) осуществляет наполнение и разрядку тормозной магистрали в зависимости от давления в управляющей полости реле и уравнительном резервуаре. Управляющая полость реле связана с уравнительным резервуаром отверстием диаметром 1,8 мм. Объем уравнительного резервуара составляет 20 литров. Его объем, а также диаметр дроссельного отверстия в стабилизаторе выбраны такими, чтобы истечение воздуха из уравнительного резервуара через стабилизатор не вызывало срабатывания тормозов.
Рисунок 2.10 – Реле давления
На реле давления обозначены: 1 – корпус; 2 – крышка; 3 – клапан; 4 – клапан; 5 – диафрагма; 6 – клапан; 7 – пружина; 8 – заглушка.
Срывной клапан (рисунок 2.11) предназначен для быстрой разрядки тормозной магистрали в положении экстренного торможения.
Рисунок 2.11 – Срывной клапан
Клапан состоит из: корпуса – 1, крышки – 7 и электропневматического вентиля – 8, установленного на крышке – 7 клапана. В корпусе размещен подпружиненный поршень – 2. Полости над и под поршнем соединены дроссельным отверстием диаметром 0,8 мм.
В штоке поршня – 2, имеются отверстия, которые размещаются между манжетами – 5 и 6, установленными в крышке – 7. Эти отверстия при перемещении поршня соединяют управляющую полость реле давления и уравнительный резервуар с атмосферой.
Питательный клапан (рисунок 2.12) обеспечивает питание реле давления большим проходным сечением в первом положении рукоятки контроллера.
Рисунок 2.12 – Питательный клапан
Клапан состоит из: корпуса – 1 с клапаном – 2, который прижимается к седлу пружиной – 3. Клапан – 2 открывается под действием сжатого воздуха на манжеты – 6, размещенные на штоке клапана – 7. На корпусе – 1 установлен электропневматический вентиль. Также на рисунке 2.1.2 отмечены: 4 – седло; 5 – заглушка; 8 – корпус: 9 – электромагнит с крышкой; 10 – клапан; 11 – управляющий поршень.
Кран переключения режимов (рисунок 2.13) представляет собой трехходовой шаровой кран. Кран предназначен для отключения электропневматических вентилей при переходе на резервное управление.
Рисунок 2.13 – Кран переключения режимов
Рукоятка – 1 крана переключения режимов имеет два положения: дистанционное управление и аварийное управление. Соответствующая маркировка имеется на корпусе. При работе контроллером рукоятка устанавливается перпендикулярно к плоскости панели, а при управлении резервным краном – вдоль панели.
На блоке электропневматических приборов (рисунок 2.14) располагаются девять электропневматических вентилей, которые предназначены: В1 и В2 – для управления устройством блокировки тормозов; размещаются на корпусе устройства; ВЗ – для управления питательным клапаном; расположен на корпусе клапана; В4 – для обеспечения питания сжатым воздухом управляющей полости реле и уравнительного резервуара; установлен на панели; В5 – для разрядки уравнительного резервуара и управляющей полости реле в атмосферу темпом служебного торможения; размещен на панели; В6 – для сообщения уравнительного резервуара и тормозной магистрали через обратный клапан, размещенный в корпусе электропневматического вентиля; установлен на панели; В7 – для разрядки в атмосферу полости над поршнем срывного клапана при экстренном торможении; расположен на корпусе срывного клапана; В8 – для разрядки уравнительного резервуара и управляющей полости реле замедленным темпом с 0,5 до 0,45 МПа (с 5 до 4,5 кгс/см2) за 15 – 20 с; установлен на панели; В9 – для блокирования и разблокирования ключа выключателя цепей управления; размещен на панели.
Все электропневматические вентили включающего типа. Вентиль В5 во всех положениях рукоятки контроллера крана машиниста, кроме тормозных, находится под напряжением. Этим обеспечивается служебное торможение при несанкционированном снятии напряжения с крана машиниста.
К блоку электропневматических приборов подводится сжатый воздух от питательной и тормозной магистралей. Воздух к блоку поступает также от крана вспомогательного тормоза и от магистрали вспомогательного тормоза. Блок электропневматических приборов соединен трубопроводами с краном резервного управления, уравнительным резервуаром и выключателем цепей управления.
Воздух от питательной магистрали подводится к устройству блокировки тормозов, к питательному клапану и реле давления. Воздух из тормозной магистрали от крана вспомогательного тормоза и от магистрали вспомогательного тормоза поступает к устройству блокировки тормозов.
















