Поясннительная записка (1230467)
Текст из файла
Министерство транспорта Российской Федерации
Федеральное агентство железнодорожного транспорта
ФЕДЕРАЛЬНОЕ ГОСУДАРТВЕННОЕ БЮДЖЕТНОЕ ОБРАЗОВАТЕЛЬНОЕ УЧРЕЖДЕНИЕ ВЫСШЕГО ОБРАЗОВАНИЯ
«ДАЛЬНЕВОСТОЧНЫЙ ГОСУДАРСТВЕННЫЙ
УНИВЕРСИТЕТ ПУТЕЙ СООБЩЕНИЯ»
Кафедра «Локомотивы»
К ЗАЩИТЕ ДОПУСТИТЬ
Заведующий кафедрой
__________А.К. Пляскин
«____»________2016 г.
РАЗРАБОТКА ОГРАНИЧИТЕЛЯ НАПРЯЖЕНИЯ
НА ТЯГОВЫХ ЭЛЕКТРОДВИГАТЕЛЯХ
Пояснительная записка к дипломному проекту
ДП 23.05.03.20.153.ПЗ
Студент гр.153 А.А. Халявин
Руководитель М.Ю. Кейно
Консультант по безопасности
жизнедеятельности
(профессор, д.т.н., профессор) В.Д. Катин
Консультант по экономике
(доцент, к.э.н., доцент) О.Б. Лазарева
Нормоконтроль
(доцент, к.т.н.) Ю.С. Кабалык
Хабаровск – 2016
СОДЕРЖАНИЕ
ВВЕДЕНИЕ 7
1 Анализ конструкции тягового электродвигателя нб-514Б……………………………………………………………………….8
2 АНАЛИЗ ОТКАЗОВ ТЯГОВЫХ ЭЛЕКТРОДВИГАТЕЛЕЙ 16
2.1 Старение изоляции и его причины 16
2.2 Круговой огонь и его причины 19
2.3 Статистика отказов 22
3 РАБОТА СИЛОВОЙ СХЕМЫ В РЕЖИМЕ ТЯГИ И ТОРМОЖЕНИЯ 25
3.1 Регулирование напряжения на тяговых двигателях в режиме тяги 25
3.2 Цепи тяговых двигателей в режиме рекуперативного торможения 31
3.3 Регулирование тормозной силы в режиме рекуперативного торможения 33
4 АНАЛИЗ СПОСОБОВ И МЕТОДОВ ОГРАНИЧЕНИЯ ПЕРЕНА-ПРЯЖЕНИЙ 36
4.1 Разрядники 36
4.2 Варисторы 39
5 РАЗРАБОТКА УСТРОЙСТВА ОГРАНИЧЕНИЯ НАПРЯЖЕНИЯ 45
5.1 Процесс коммутации 45
5.2 Улучшение коммутаций при переходных режимах и пульсирующем токе. 51
5.3 Скорость протекания коммутационных процессов…………………53
5.4 Разработка устройства ограничения перенапряжений……………...55
6 БЕЗОПАСНОСТЬ ЖИЗНЕДЕЯТЕЛЬНОСТИ 61
6.1 Анализ технологии работ и выявление опасных и вредных произ-водственных факторов 62
6.2 Обеспечение безопасности труда перед началом работы 66
6.3 Обеспечение безопасности труда при слесарных работах…………67
6.4 Разработка мероприятий по обеспечению безопасности работ при монтаже, демонтаже и эксплуатации устройства………………………68
6.5 Обеспечение безопасности труда при ремонте электрических ма-шин…………………………………………………………………………71
6.6 Обеспечение безопасности труда при проведении ремонтных работ связанных с электрическим напряжением………………………………74
6.7 Обеспечение безопасности труда по окончании работы…………...77
7 ОЦЕНКА ЭКОНОМИЧЕСКОЙ ЭФФЕКТИВНОСТИ ПРИ ВНЕД-РЕНИИ УСТРОЙСТВА ОГРАНИЧЕНИЯ НАПРЯЖЕНИЯ НА ТЯГО-ВЫХ ЭЛЕКТРОДВИГАТЕЛЯХ………………………………...…..78
7.1 Понятие экономического эффекта…………………………………...78
7.2 Методика расчета экономической эффективности…………………79
7.3 Основные показатели экономической эффективности внедрения новой техники………………………………………………………………..80
7.4 Расчет расходов на изготовление устройства ограничения напряжения………………………………………………………………………….81
7.5 Расчет экономической эффективности от внедрения нового устройства…………………………………………………………………………87
ЗАКЛЮЧЕНИЕ…………………………………………………………….92
Список использованных источников …………………………….…….93
Уменьшенные копии демонстрационных листов ……………..………95
ВВЕДЕНИЕ
На данный момент перед железной дорогой среди стратегически важных целей стоит не только расширение сети дорожных путей и повышение их провозной способности, обновление локомотивного и вагонного парка и увеличение массы поездов, но и повышение надежности подвижного состава, что в свою очередь имеет огромное влияние на увеличение прибыли и сокращение издержек РЖД.
В перспективе для повышения провозной способности необходимо увеличение массы поездов, что свою очередь ведет к большей нагрузке на локомотивы и подвергает тяговые двигатели большим перегрузкам по току и напряжению. Перегрузки ведут к быстрому износу и частым отказам тяговых двигателей, что приводит к повышению затрат на ремонт подвижного состава и издержкам связанным с его простоем. Одним из способов решения этой проблемы может быть ограничение напряжений на тяговых двигателях.
В данной выпускной квалификационной работе стоит задача разработки устройства ограничения напряжения на тяговых двигателях электровозов серии ЭС5К, расчет экономической эффективности внедрения данного устройства, а также рассмотрение норм обеспечения безопасности труда работника при сборке и установке устройства на электровоз.
1 АНАЛИЗ КОНСТРУКЦИИ ТЯГОВЫХ ЭЛЕКТРОДВИГАТЕЛЕЙ
Техническая характеристика тягового двигателя НБ-514Б представлена в таблице 1.1 [1].
Таблица 1.1 – Техническая характеристика тягового двигателя НБ-514Б
| Наименование показателя | Значение | |
| Номинальный режим работы | часовой | продолжительный |
| Номинальная мощность, кВт | 820 | 765 |
| Номинальное напряжение, В | 1000 | |
| Номинальный ток якоря, А | 870 | 810 |
| Номинальная частота вращения, об/мин | 920 | 940 |
| КПД, % | 94,55 | 94,7 |
| Расход вентилирующего воздуха при полном напоре 620 Па, не менее м3/мин | 70 | |
| Класс изоляции: якорь/остов | F/F | |
| Сопротивление обмоток постоянному току при температуре плюс 20 °С, Ом: - якоря - главных полюсов (без шунта) - компенсационной и добавочных полюсов | 0,0112±0,000560 0,0069±0,000345 0,0125±0,000625 | |
| Масса двигателя, кг | 4300 | |
Тяговый двигатель выполнен для опорно-осевого подвешивания и представляет собой шестиполюсную компенсированную электрическую машину, работающую в режиме тяги как двигатель с последовательным возбуждением, а в режиме электрического рекуперативного торможения - как генератор с независимым регулируемым возбуждением, и независимой системой вентиляции. Тяговый двигатель Нб-514Б представлен на рисунке 1.1.
Рисунок 1.1 – Тяговый двигатель НБ-514Б: 1 – моторно-осевые подшипники; 2 – сердечник добавочного полюса; 3 – катушка добавочного полюса; 4 – катушки главного полюса; 5 – катушки компенсационной обмотки; 6 – сердечник главного полюса
Охлаждающий воздух подается в тяговый двигатель со стороны коллектора через вентиляционный люк. Выходит охлаждающий воздух из тягового двигателя НБ-514Б со стороны, противоположной коллектору вверх под кузов электровоза через специальный кожух, а из тягового двигателя НБ—514Б через окна в подшипниковом щите и два люка в остове, которые закрыты сетками.
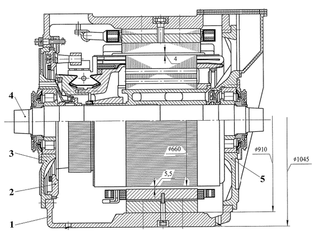
Тяговый двигатель НБ-514Б состоит из моторно-осевых подшипников и из остова, траверсы, подшипниковых щитов и якоря. Продольный разрез тягового двигателя НБ-514Б представлен на рисунке 1.2 [1].
Рисунок 1.2 – Продольный разрез тягового двигателя НБ-514Б: 1 – остов; 2 – траверса; 3,5 – подшипниковые щиты; 5 – якорь
Тяговый двигатель НБ-514Е отличается от тягового двигателя НБ-514Б конструкцией моторно-осевой части в соответствии с рисунком 1а и связанными с ней деталями (отливок) остова 1 и подшипникового щита 5 со стороны, противоположной коллектору. Для размещения корпусов моторно-осевых подшипников качения обе горловины под посадку подшипниковых щитов выполнены диаметром 760мм. Для предохранения моторно-осевых подшипников качения от попадания в них пыли и влаги ось с подшипниками закрыта крышкой, с помощью которой тяговый двигатель крепится к оси колесной пары, Крышка запрессована в остов и закреплена восемью болтами М36х2, десятью болтами М24х2 и четырьмя штифтами конической формы с гайками М16. В крышке оси имеется отверстие, закрытое пробкой, для очистки средней части оси и моторно-осевой горловины остова от отработанной смазки без снятия крышки оси.
Остов стальной литой цилиндрической формы является одновременно магнитопроводом и корпусом. К нему крепятся шесть главных и шесть добавочных полюсов, щиты с роликовыми подшипниками, в которых вращается якорь. Со стороны коллекторной камеры в остове имеется вентиляционный люк, через который входит охлаждающий воздух. С противоположной стороны в остове тягового двигателя НБ-514Б имеется ток и привалочные поверхности для крепления кожуха, образующего патрубок для выхода вентилирующего воздуха, а в остове тягового двигателя НБ-514Е1имеются два люка для выхода вентилирующего воздуха, которые закрыты сетками.
В остове предусмотрены два люка для осмотра коллектора и щеточного аппарата: один в верхней, другой в нижней части остова. Коллекторные люки закрываются крышками, Крышка верхнего коллекторного люка имеет пружинный замок, с помощью которого она прижимается к остову. Крышка нижнего коллекторного люка крепится к остову двумя болтами. Для уплотнения на крышках коллекторных люков установлены войлочные прокладки. Расположение в двигателе устройств стопорения показано на рисунке 1.3 [1].
Рисунок 1.3 – Расположение в двигателе устройств стопорения: 1 – устройства стопорения траверсы; 2 – устройство проворота траверсы; 3 – устройство фиксации траверсы
С торцов остов имеет горловины с привалочиыми поверхностями для установки подшипниковых щитов, На торцевой стенке остова со стороны коллектора в расположены устройства стопорения, проворота и фиксации траверсы. В нижней части остов имеет отверстия для слива конденсата.
Главные полюсы крепятся к остову тремя болтами МЗО, Добавочные тремя болтами М16. Для предохранения от самоотвинчивания под головки болтов установлены пружинные шайбы.
Соединения компенсационных катушек между собой и с катушками добавочных полюсов, а также катушек главных и добавочных полюсов выполнены пайкой, К остову межкатушечные соединения прикреплены скобами. Электрическая схема соединения полюсных катушек представлена на рисунке 1.4.
Рисунок 1.4 – Электрическая схема соединения полюсных катушек
Концы обмоток через резиновые втулки выведены в коробку выводов. Подсоединительные зажимы закреплены на опорных изоляторах (пальцах). Для предохранения от самоотвинчивания под изоляторы установлены пружинные шайбы, Коробка выводов закрывается стеклопластовой крышкой и уплотняющими резиновыми клипами. Для исключения проникновения пыли и влаги коробка выводов уплотнена прокладками из губчатой резины.
Главный полюс состоит ив катушки, сердечника и деталей крепления. Сердечник выполнен шихтованным из штампованных листов электротехнической стали и стянут заклепками. Каждый сердечник имеет восемь пазов открытой формы, предназначенных для размещения катушек компенсационной обмотки.
Катушка главного полюса имеет девять витков намотанной на ребро мягкой медной шины. К крайним виткам катушки припаяны выводы из гибкого медного провода. Корпусная изоляция состоит из слюдинитовой ленты, междувитковая - из бумаги асбестовой электроизоляционной.
Крепление катушки на сердечнике полюса производится при помощи алюминиевых планок, клиньев и регулировочных прокладок. Стопорение планки и клина обеспечено упорами и отогнутым усом. На поверхности катушки, прилегающей к остову, приклеены прокладки из электролита. Это обеспечивает предохранение изоляции катушки от повреждений п плотное нажатие катушки между наконечником полюса и остовом. Полюс с установленной на нем катушкой пропитан в эпоксидном компаунде, и после выпечки представляет собой единый монолитный блок [1].
Добавочный полюс состоит из катушки и сердечника. Сердечник полюса выполнен по высоте из двух частей, изготовленных из стального листа. На часть сердечника, расположенную со стороны якоря, крепятся латунные наконечники, устанавливается катушка и закрепляется алюминиевыми планками, выполняющими одновременно роль второго воздушного зазора.
Характеристики
Тип файла документ
Документы такого типа открываются такими программами, как Microsoft Office Word на компьютерах Windows, Apple Pages на компьютерах Mac, Open Office - бесплатная альтернатива на различных платформах, в том числе Linux. Наиболее простым и современным решением будут Google документы, так как открываются онлайн без скачивания прямо в браузере на любой платформе. Существуют российские качественные аналоги, например от Яндекса.
Будьте внимательны на мобильных устройствах, так как там используются упрощённый функционал даже в официальном приложении от Microsoft, поэтому для просмотра скачивайте PDF-версию. А если нужно редактировать файл, то используйте оригинальный файл.
Файлы такого типа обычно разбиты на страницы, а текст может быть форматированным (жирный, курсив, выбор шрифта, таблицы и т.п.), а также в него можно добавлять изображения. Формат идеально подходит для рефератов, докладов и РПЗ курсовых проектов, которые необходимо распечатать. Кстати перед печатью также сохраняйте файл в PDF, так как принтер может начудить со шрифтами.















