Диплом (1230220), страница 4
Текст из файла (страница 4)
При движении локомотива в кривой железнодорожного пути тележки проворачиваются относительно кузова локомотива, на котором по бокам напротив центров тележек приварены кронштейны 6, к которым шарнирно с помощью резино-металлических втулок прикреплены главные продольные тяги 7 и 8, которые передают перемещение кронштейна 6 на рычаги 10 и 11 с учетом шарнирных опор 20 рычагов, закрепленных на консолях рам тележек 15 18, передают перемещение на буксовые поводки 19, концы которых закреплены на буксах крайних колесных пар 1 и 3 и в зависимости от кривой и ее радиуса устанавливают колесные пары радиально, т.е. на внутреннем рельсе колеса сходятся, а на наружном расходятся, колесные пары принимают вид чистого качения.
Устройство может быть установлено на любом подвижном составе (локомотиве или вагоне), имеющем минимум две трехосные тележки и работает в любом диапазоне эксплуатационной скорости.
Устройство унифицировано, спроектировано с учетом тяговых агрегатов, расположенных на тележках локомотива без их изменений и нарушения габарита подвижного состава. Устройство обеспечивает устойчивое движение экипажа в кривом и прямом участках железнодорожного пути, что обеспечивает безопасность движения. Кроме того, эксплуатационные показатели взаимодействия экипажа и пути, к которым относятся износ бандажей колес, экипажной части локомотива, износ верхнего строения пути и призмы балластного слоя существенно снижены (не менее чем в 12 раз), что значительно улучшает эксплуатационные характеристики железнодорожных экипажей с механизмом радиальной установки колесных пар.
2.3 Устройство для синхронизации поворота тележки железнодорожного транспортного средства
Использование: изобретение относится к железнодорожному транспорту и касается устройств для поворота тележек при вписывании железнодорожного транспортного средства в кривые пути. Сущность: устройство содержит установленные между тележками с возможностью поворота в вертикальной и горизонтальной плоскостях рычаги 10, концы плеч каждого из которых соединены посредством торцовых опор балкой 8 тележки и посредством торцовых упоров 14 с гибкими тягами 12 синхронизирующего устройства. Рычаг 10 средней частью посредством шаровой опоры шарнирно прикреплен к кронштейну на раме шаровая опора включает головку, стержень 18, опирающийся через шайбу и гайку на упругий элемент 20. Торцовая опора состоит из шпильки с гайкой 4.
Изобретение относится к железнодорожному транспорту и касается устройств для поворота тележек при вписывании железнодорожного транспортного средства в кривые участки пути.
Известно устройство для синхронизации поворота тележек подвижного состава, у которого тележки соединены с рамой шкворнем, а синхронизирующий механизм содержит по меньшей мере два рычага, концы каждого из которых соединены с гибкими тягами.
Известное устройство практически невозможно использовать для ориентирования ходовых тележек длиннобазового экипажа путевых машин при вписывании в кривые участки пути малых радиусов, так как не обеспечивается жесткая фиксация положения рамы транспортного средства, например рихтовочных путевых машин, относительно тележек, практически невозможно обеспечить устойчивость при изгибе.
Указанные недостатки снижают эффективность использования известных устройств, ограничивая использование их в путевых машинах.
Техническим эффектом использования изобретения является повышение эффективности и надежности устройств для синхронизации поворота тележек железнодорожного транспортного средства, путевых машин.
Для достижения этого технического эффекта устройство для синхронизации поворота тележек железнодорожного транспортного средства, содержащее, по меньшей мере, два двуплечих рычага, концы каждого из которых соединены гибкими тягами, снабжено торцевыми опорами, жестко прикрепленными к раме тележки и зафиксированными с возможностью взаимодействия с плечами рычага на свободном конце, и подвижными опорами, включающими стержень с шаровой головкой на одном конце, размещенной в ответном пазу, выполненном в средней части рычага, и соосно установленным на другом конце упругим элементом, шарнирно прикрепленным к кронштейну, закрепленному на раме транспортного средства. Торцевая опора выполнена в виде пропущенной через отверстие в теле рычага шпильки с резьбой на конце и гайки.
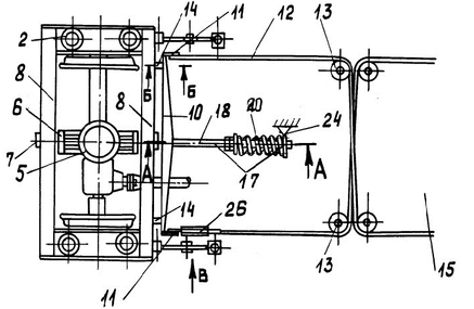
На рисунке 2.10 изображена одноосная тележка с предлагаемым устройством (вид сбоку).
Рисунок 2.10 – Одноосная тележка: 1 – рама; 2 – пружины рессорного подвешивания; 3 – боковые балки; 4 – шкворень; 8 – поперечные балки; 9 – букса; 10 – двуплечный рычаг; 12 – гибкие тяги
На рисунке 2.11 изображена одноосная тележка с предлагаемым устройством (вид сверху).
Рисунок 2.11 – Одноосная тележка: 2 – пружины рессорного подвешивания; 5 – шкворневое гнездо; 6 – продольная балка; 7 – цапфах; 8 – поперечные балки; 10 – двуплечный рычаг; 11 – торцевые упоры; 12 – гибкие тяги; 13 – блоки; 14 – торцевые опоры; 15 – шпилька; 17 – подвижная часть; 18 – стержень; 20 – упругий элемент; 24 – шарнир; 26 – муфта
На рисунке 2.12 представлено сечение А-А на рисунке 2.11.
Рисунок 2.12 – Сечение А-А: 8 – поперечные балки; 10 – двуплечный рычаг; 12 – гибкие тяги; 18 – стержень; 19 – шаровая головка; 20 – упругий элемент; 21 – шайба; 22 – гайка; 23 – сферическое гнездо; 25 - кронштейн
На рисунке 2.13 представлено сечение Б-Б рисунка 2.11.
Рисунок 2.13 – Сечение Б-Б: 8 – поперечные балки; 10 – двуплечный рычаг; 12 – гибкие тяги; 15 – шпилька; 16 - гайка
Рама 1 железнодорожного транспортного средства опирается через пружины 2 рессорного подвешивания на боковые балки 3 одноосной тележки. Шкворень 4, укрепленный на раме 1, входит в шкворневое гнездо 5, установленное на продольной балке 6, укрепленной на цапфах 7 к поперечным балкам 8 рамы тележки с возможностью поворота вокруг продольной оси (по отношению к оси пути) рамы 1. Букса 9 неподвижно установлена в проеме боковой балки 3 снизу.
Устройство для синхронизации поворота тележек содержит два горизонтальных двуплечих рычага 10, размещенных между тележками вдоль поперечной балки 8 тележки, концы плеч каждого из которых посредством торцевых упоров 11 соединены с гибкими тягами 12. Переход гибких тяг 12 с одной стороны экипажа на другую осуществляется двумя блоками 13.
На балке 8 тележки симметрично относительно ее продольной оси установлены торцовые опоры 14 для соединения с концами плеч рычага 10.
Торцовая опора 14 представляет собой жестко прикрепленную к балке 8 тележки шпильку 15 пропущенную через отверстие в рычаге 10 (рис. 4) с резьбой и гайкой 16 на конце, зафиксированной с возможностью взаимодействия с плечами рычага 10 при его горизонтальном смещении с выбором зазора "а" между гайкой 16 и рычагом 10. Такое выполнение обеспечивает поворот тележки в горизонтальной плоскости, при взаимодействии с рычагом.
В средней части рычага 10 с противоположной стороны установлена подвижная опора 17, соединяющая среднюю часть рычага с рамой транспортного средства с возможностью его поворота в горизонтальной и вертикальной плоскостях. Подвижная опора представляет собой стержень 18 с шаровой головкой 19 на одном конце и соосно установленным упругим элементом 20 на другом конце, зафиксированном в продольном направлении шайбой 21 и гайкой 22. Шаровая головка 19 подвижной опоры установлена в ответной полости сферического гнезда 23 большего радиуса, размещенного в теле рычага 10.
Упругий элемент 20 подвижной опоры посредством шарнира 24 прикреплен к кронштейну 25, закрепленному на раме 1 транспортного средства.
Работает устройство следующим образом.
Для поворота тележек, при входе в кривые участки пути, в радиальное положение усилие поворота через шпильки 15 торцовых опор при выбранном зазоре "а" передается рычагу 10 и от него гибкими элементами 12 другому рычагу, торцовым опорам и тележке, которая также занимает радиальное положение.
Для того, чтобы разгрузить шкворень от усилия натяжения гибких элементов, на сферическое гнездо 23 рычага 10 давит через шаровую головку 19 продольный стержень 18 с усилием, равным силе сжатия пружины 20. Эта сила должна быть равна усилию натяжения обоих гибких элементов. После установки необходимого усилия муфты 26 необходимо незначительно отвернуть до образования между рычагом 10 и гайками 16 (или хотя бы у одной гайки) небольшого (порядка 1 мм) зазора "а", который указывает на то, что шкворень свободен от усилия натяжения гибких элементов.
Конструкция связи тележки с рамой транспортного средства надежно обеспечивает жесткую передачу больших боковых сил (возникающих, например, при рихтовке пути) от колесной пары главной раме.
Путевая машина, имеющая колесную базу 10,5 м, хорошо вписывается в кривые малого радиуса, колесные пары занимают положение, близкое к радиальному, шкворень полностью разгружен от усилий натяжения троса.
2.4 Межтележечная связь электровоза Re 6/6
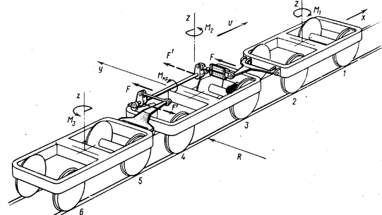
Традиционный способ – сочленение тележек в поперечном направлении для перераспределения направляющих сил. Такой способ можно увидеть на швейцарском электровозе Re 6/6 с осевой формулой 2о-2о-2о, и все тележки сочленены в поперечном направлении. Традиционный способ представлен на рисунке 2.14.
Рисунок 2.14 – Традиционный способ сочленения тележек
Эта схема соответствует моменту вписывания в кривую первой по ходу тележки. Поворачивая она вызывает передачу сил через упругую связь на третью тележку, которая разворачивается наружу кривой под действием вилы F, создающей момент Мз. Средняя тележка под действием силы F и прижимается к внутреннему рельсу, занимая положение перекоса, а затем хордовое. Результаты испытаний электровоза, представленные на рисунке 2.15, без сочленений и с сочленением тележек при различных скоростях в кривой радиусом 300 м при одинаковых погодных условиях, показали следующее.
Рисунок 2.15 – Результаты испытаний электровозов
При сочлененных тележках происходит почти двукратное снижение направляющих сил Y1, Y3, Y5 по направляющим колесным парам всех тележек. На электровозе Re 6/6 конструкция сочленения тележек компактная, так как межтележечное пространство не занято упругим элементом возвращающего устройства и его кронштейнами. Однако в рассмотренной конструкции в эксплуатации требуется постоянный уход за трущимися поверхностями шарниров, тяг, амортизатора.
3 ПРЕДПОСЫЛКИ К ПРОЕКТИРОВАНИЮ МЕХАНИЧЕСКОЙ СИСТЕМЫ ДОВОРОТА ТЕЛЕЖЕК
3.1 Описание механических частей тепловоза ТЭ10
3.1.1 Тележка
На тепловозах Российских железных дорог применяется бесчелюстная трехосная тележка с одноступенчатым рессорным подвешиванием. Конструкция тележек определяет передачу и происхождения силы тяги, плавности хода и безопасности движения, динамические характеристики. Бесчелюстная тележка разработана серийно ПО «Ворошиловградтепловоз», для отечественных тепловозов.
Рама тележки связана с колесными парами через поводковые бесчелюстные буксы с жесткими осевыми упорами качения одностороннего действия. Такая связь позволяет передавать от колесных пар на раму тележки упруго без трения скольжения и зазоров силы тяги и торможения, поперечные силы при набегании на рельс, а также обеспечить симметричность и параллельность осей колесных пар в тележки и относительно ее колебания.
















