Диплом (1230220), страница 3
Текст из файла (страница 3)
Кроме того, опирание рамы тележки на каждую из букс колесных пар выполнено посредством двух расположенных по разные стороны боковины рамы ребер, жестко связанных между собой в нижней опертой на буксу части и шарнирно соединенных с боковиной рамы с помощью резинометаллических элементов в верхней части, причем ось шарниров параллельна оси колесной пары, а нижняя часть буксы связана с рамой упругими элементами. Тележка снабжена закрепленными на боковинах рамы у каждой буксы двумя П-образными кронштейнами, верхний из которых установлен на поверхности боковины рамы, а боковой с наружной стороны боковины рамы, и смонтированной на буксе стойкой, ребра которой расположены по разные стороны боковины рамы. Верхний П-образный кронштейн и стойка взаимодействуют с помощью упругих элементов, а боковой П-образный кронштейн, ребро стойки и боковая поверхность боковины рамы с помощью предварительно сжатых упругих элементов.
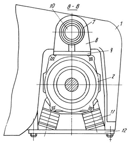
На рисунке 2.1 изображена трехосная тележка с радиальной установкой колесных пар.
Рисунок 2.1 – трехосная тележка с радиальной установкой колесных пар: 1 – рама; 22 – прокладка; 24 – продольные стержни; 25 – вертикальные рычаги; 26 – шарнир; 27 – кронштейн; 28 – кузов; 29 – амортизатор
На рисунке 2.2 представлено сечение А-А рисунка 2.1 (первый вариант).
Рисунок 2.2 – Сечение А-А: 1– рама; 2 – букса; 3 – кольцо; 4 – наклонная опорная плоскость
На рисунке 2.3 представлено сечение А-А рисунка 2.1 (второй вариант).
Рисунок 2.3 – Сечение А-А: 1 – рама; 2 – букса; 7 – резино-металические шарниры; 8 – ребра; 9 – поперечная планка; 10 – ось; 24 – продольные стержни
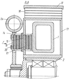
На рисунке 2.4 представлено сечение А-А рисунка 2.1 (третий вариант).
Рисунок 2.4 – Сечение А-А: 2 – буксы; 13 – кронштейн; 14 – планка; 15, 16 – планка; 17 – ребро стойки
На рисунке 2.5 представлено сечение Б-Б рисунка 2.2.
Рисунок 2.5 – Сечение Б-Б: 1 – рама; 2 – букса; 3 – кольцо; 4 – наклонная опорная плоскость; 5 – передние бурта
На рисунке 2.6 представлено сечение В-В рисунке 2.3.
Рисунок 2.6 – Сечение Б-Б: 1 – рама; 2 – букса; 7 – резино-металические шарниры; 8 – ребра; 9 – поперечная планка; 10 – ось; 11 – упругие элементы; 12 – планка
На рисунке 2.7 представлен вид по стрелке Г рисунка 2.4.
Рисунок 2.7 – Вид по стрелке Г: 1 – рама; 2 – букса; 13 – кронштейн; 16 – планка; 17 – ребро стойки; 18 – упругие элементы; 24 – продольные стержни
На рисунке 2.8 представлено сечение Д-Д рисунка 2.7.
Рисунок 2.8 – Сечение Д-Д: 1 – рама; 14 – ребра; 15,16 планки; 20,21 – упругие элементы; 22, 23 – прокладки
Рама 1 тележки опирается боковинами на буксы 2 колесных пар. Между корпусом буксы 2 и челюстью в боковине рамы 1 имеются зазоры δ, в пределах которых возможны перемещения буксы в продольном направлении относительно боковины. Корпус буксы 2 имеет сверху бочкообразную форму. Возможно конструктивное исполнение, когда серийная букса вмонтирована в кольцо 3, имеющее сверху бочкообразную форму. Опорные поверхности 4 закреплены на раме 1 и выполнены наклонными в продольной вертикальной плоскости. На опорных поверхностях 4 имеются бурты 5, ориентированные вдоль продольной оси тележки.
При конструктивном исполнении буксового узла (рисунок 2.3, 2.6) опирание рамы 1 на каждую буксу 2 осуществляется через резино-металлические шарниры 7 и ребра 8, соединенные между собой в нижней части поперечной планкой 9. Резино-металлические шарниры 7 присоединены к боковине рамы 1 осью 10, параллельной оси колесной пары. Между нижней частью корпуса буксы 2 и планкой 12 установлены упругие элементы 11. Планка 12 закреплена на боковине рамы 1.
При конструктивном исполнении буксового узла (рисунок 2.4, 2.7, 2.8) на боковинах рамы 1 закреплены верхний П-образный кронштейн 13 и боковой П-образный кронштейн, состоящий из ребер 14 и планок 15 и 16 и размещенный с наружной стороны рамы. На буксе 2 установлена стойка 17, ребра которой расположены по разные стороны боковины рамы. Между верхним кронштейном 13 и стойкой 17 размещены упругие элементы 18 и 19 (например, резино-металлические элементы). Для обеспечения возможности регулировки положения боковины рамы тележки 1 относительно буксы по вертикали (то же относительно нижней и верхней планок стойки 17), а также положения буксы относительно боковины в продольном направлении, кронштейн 13 имеет отъемную верхнюю планку, что позволяет устанавливать регулировочные прокладки между планкой и упругими элементами 18 и 19. Между планкой 14 бокового кронштейна, ребром стойки 17 и боковиной рамы 1 размещены предварительно сжатые упругие элементы 20 и 21. Величина силы сжатия обеспечивается установкой прокладок 22 и 23 под планки 15 и 16.
Буксы 2 крайних колесных пар соединены синхронизирующим механизмом, включающим продольные стержни 24, соединенные с вертикальным рычагом 25, который шарниром 26 закреплен на боковые рамы 1. Продольные стержни 24 соединены с вертикальным рычагом 25 на равном от шарнира 26 расстоянии. Верхний конец вертикального рычага 25 соединен с кронштейном 27 на раме кузова 28 через амортизатор 29, механизм которого собран с зазором.
Устройство работает следующим образом.
При входе вагона в кривой участок пути происходит поворот тележки 1 относительно кузова 28. Верхний конец вертикального рычага 25, связанный с кузовом, наклоняется (рычаги слева и справа тележки перемещаются в противоположные стороны). Посредством стержней 24 буксы 2 перемещаются в продольном направлении, колесные пары поворачиваются в положение, приближающееся к радиальному. Продольное перемещение буксы 2 в конструкции с опиранием рамы тележки 1 на буксу (рисунок 2.2, 2.5) осуществляется за счет перекатывания по наклонной опорной плоскости 4. После выхода вагона из кривой возвращение буксы в исходное положение происходит за счет возвращающей силы, возникающей от уклона опорной плоскости. Появляющаяся при движении экипажа поперечная (рамная) сила между буксой и рамой тележки передается буртами 5. Продольное перемещение буксы в конструкции с опиранием рамы (рисунок 2.4, 2.5) осуществляется по принципу маятниковой подвески. Конструктивная длина маятника равна расстоянию от точки закрепления резино-металлических шарниров 7 до центра буксы. Возвращающая сила создается благодаря деформации упругих элементов 11. Продольное перемещение букс в конструкции (рисунок 2.4, 2.7) обеспечивается за счет поперечной упругости элементов 18, 19, 20 и 21. Ими же создается и возвращающая сила. Основную нагрузку от рамных сил воспринимают упругие элементы 20 и 21. Амортизатор 29, упругий элемент которого установлен с начальной силой, передает усилия на буксы через синхронизирующий механизм и предохраняет механизм от чрезмерных усилий в кривых малых радиусов.
2.2 Консольная система
Использование: в конструкциях тележек железнодорожного подвижного состава. Сущность изобретения: устройство содержит поводки, соединенные с буксами колесных пар и размещенных с обеих сторон рамы тележки, имеющей консоли. Поводки с консолями соединены при помощи рычагов, которые шарнирно закреплены на соответствующих консолях и тягами соединены с закрепляемыми с обеих сторон рамы локомотива кронштейнами. 1 ил.
Изобретение относится к железнодорожному транспорту и касается конструкции тележек железнодорожного подвижного состава для уменьшения направляющих усилий набегающих колес локомотива на рельсы.
Известна тележка железнодорожного подвижного состава, содержащая раму с установленными в ней колесными парами, на осях которых смонтированы буксы, связанные между собой упругими стержнями в продольном и диагональном направлениях, а концы этих стержней соединены с буксами вертикальными болтами.
Недостатком известной тележки является то, что применение данной схемы возможно лишь на двухосных тележках вагонов малой грузоподъемностью до 10 т, т.к. применение диагональных стержней невозможно на двухосных тележках большой грузоподъемности (до 30 т) и трехосных тележках, а также тележках локомотивов из-за размеров деталей самой тележки (их габаритов и сложности) и, кроме того, для обеспечения поворота колесных пар упругие связи, соединяющие буксы колесных пар с виброгасящими вставками в продольном направлении, требуют дополнительной доработки узлов соединений стержней с буксой и самих виброгасителей, т. к. нагрузка, возникающая на буксе, достигает величины до 12 т, что заставляет усилить прочностные характеристики приводимой системы.
Необходимо отметить, что данная система срабатывает от величины направляющего усилия, возникающего между рельсом и гребнем бандажа колеса, а значит относится к пассивным системам поворота колесных пар на кривых участках железнодорожного пути. Но, как известно, пассивная система не обеспечивает пропорционального поворота колесных пар радиусу кривой, и данные системы в прямых участках пути не фиксируют колесные пары строго параллельно рельсам, что приводит к вилянию экипажа и колесных пар в отдельности. Это приводит к увеличению износа рельсов и колесных пар, а также снижению безопасности движения вагонов.
В данном изобретении рассматриваются аналоги только с механическими системами, т. к. системы гидравлического и пневматического поворота колесных пар раздельно очень громоздки, трудоемки и ненадежны в эксплуатации, кроме того, требуют дополнительных энергозатрат и применимы только на вагонных тележках.
Известно устройство для радиальной установки колесных пар локомотива на кривых участках пути, содержащее размещенные с обеих сторон рамы тележки поводки, соединенные с буксами колесных пар и консолями рамы тележки, расположенными с обеих сторон крайних колесных пар тележки.
Недостатком известного устройства является то, что в тележке с пассивной системой установки колесных пар в железнодорожной колее с одним из возможных вариантов экипажа с улучшенными динамическими качествами экипажа делается попытка улучшить динамические качества экипажа, но это не решает возникающей проблемы фиксации колесных пар в колее, т.к. колесные пары будут устанавливаться в перекос, т.е. не фиксироваться в колее.
Техническим результатом изобретения является улучшение вписывания тележки локомотива в кривые, повышение эффективности при движении на прямых участках пути путем автоматической установки колесных пар в рельсовой колее.
Этот технический результат достигается тем, что в устройстве для радиальной установки колесных пар локомотива на кривых участках пути, содержащем размещенные с обеих сторон рамы тележки поводки, соединенные с буксами колесных пар и консолями рамы тележки, расположенными с обеих сторон крайних пар тележки, поводки с консолями рамы тележки соединены при помощи рычагов, которые шарнирно закреплены на соответствующих консолях и тягами соединены с закрепленными с обеих сторон рамы локомотива соответствующими кронштейнами.
На рисунке 2.9 изображена схема экипажа локомотива с устройством для установки колесных пар на кривых участках пути.
Рисунок 2.9 – Схема экипажа локомотива с устройством для установки колесных пар на кривых участках пути: 1, 2, 3 – колесные пары; 4 – главная рама; 5 – рама тележки; 6 – кронштейн; 7, 8– продольная тяга; 9 – правый рычаг первой колесной пары; 10 – правый рычаг второй колесной пары; 11 – левый рычаг первой колесной пары; 12 – левый рычаг второй колесной пары; 13, 14 – тяги; 15 – правая консольная рама; 17 – левая консольная рама; 18 – левая консоль тележки; 19 – буксовые поводки; 20 – правая консоль тележки
Первая (левая) колесная пара 1, центральная колесная пара 2 и третья (правая) колесная пара 3 крепятся к раме 5 тележки, на которой через кронштейн 6 кузова установлена главная рама локомотива-кузова 4. Колесная пара 1 через буксовые поводки связана с левым 11 и правым 9 рычагами, установленными соответственно на левой 17 и правой 15 консолях рамы 5 тележки. Колесная пара 3 через буксовые поводки 19 связана с правым 10 и левым 12 рычагами, установленными соответственно на левой 18 и правой 20 консолях рамы тележки.
Тяга 13 соединяет левый 11 и правый 9 рычаг первой колесной пары с помощью шарниров. Тяга 14 соединяет правый 10 и левый 12 рычаги второй колесной пары с помощью шарниров. В свою очередь, тяги 13 и 14 шарнирно соединены с кронштейном 6 кузова 4 посредством главных продольных тяг 7 и 8. Кронштейн 6 кузова приварен к раме локомотива, имеет два отверстия для шарнирного крепления главных продольных тяг 7 и 8.
На чертеже представлена кинематическая система рычагов и тяг, расположенных с одной стороны тележки. Такая же система устанавливается с другой стороны тележки.
Поводки 19, рычаги 9 12, соединяющие поводки 19 с консолями 15 18 рамы 5 тележки и тяги 13 и 14 образуют устройство для радиальной установки колесных пар локомотива на кривых участках пути.
Устройство работает следующим образом.
















