Диплом (1229732), страница 6
Текст из файла (страница 6)
Рисунок 3.9 – Схема принципа действия транзистора в режиме
отсечки токов
Статический коэффициент h21э представляет собой частное между током коллектора и током базы данного транзистора КТ817б.
Технические характеристики транзистора КТ817б представлены в таблице 3.2
Таблица 3.2 Технические характеристики полевых транзисторов IRF510
| Наименование параметра | Значение |
| Структура | n-p-n |
| Максимально допустимое (импульсное) напряжение коллектор-база | 45 В |
| Максимально допустимое (импульсное) напряжение коллектор-эмиттер | 45 В |
| Максимально допустимый постоянный(импульсный) ток коллектора | 3000(6000) мА |
| Максимально допустимая постоянная рассеиваемая мощность коллектора без теплоотвода (с теплоотводом) | 1(25) Вт |
| Статический коэффициент передачи тока биполярного транзистора в схеме с общим эмиттером | 25-275 |
| Обратный ток коллектора | <=100 мкА |
Продолжение таблицы 3.2
| Наименование параметра | Значение |
| Граничная частота коэффициента передачи тока в схеме с общим эмиттером | =>3 МГц |
| Коэффициент шума биполярного транзистора | <0.6 дБ |
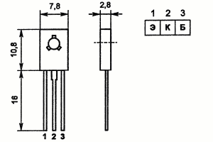
Рисунок 3.10 – Копия схемы цоколёвки и параметры КТ817б
Следовательно по закону Ома для участка цепи можно рассчитать сопротивление цепи базы для полного открытия и насыщения транзистора КТ817б:
где
искомое сопротивление, Ом.;
С учётом падения напряжения в цепи коллектор- эмитер 4N33 примерно на 1.2 вольта, находим необходимую величину сопротивления в цепи базы транзистора КТ817б:
Ток базы оптотранзистора будет для работы в режиме насыщения (3.4) равен 2,4.10-6 А.
Такой ток базы обеспечивается даже 1/3 яркости светодиодной части 4N33. Поэтому в режиме ключа этот оптотранзистор 4N33 будет работать надёжно и долговременно.
Теперь рассчитаем блок питания, который будет состоять из понижающего трансформатора, выпрямительного моста и сглаживающего конденсатора.
Для нормальной работы схемы управления тренажёра необходимо применение охлаждающего вентилятора для блока, который установлен в район платы питания. Вентилятор JF0615S1L(рис.4.12) имеет следующие характеристики: напряжение питания-12 В, ток при напряжении 12 В-012 А. Для установки в корпусе были просверлены 34 отверстия диаметром 3мм, 30 из которых используются для нагнетания воздуха, а четыре других расположены в вершинах квадрата со стороной 50 мм. Вентилятор закреплён саморезами по металлу к крышке управления тренажёра "Торвест-Видео". Для выхода тёплого воздуха по бокам крышки просверлены по всему периметру 40 отверстий диаметром 3 мм. Питание вентилятор получает от 12 вольт устройства соединения двух тренажёров.
Рисунок 3.11 - Вентилятор охлаждения JF0615S1L
В результате получили суммарный ток вторичной обмотки трансформатора, который будет складываться из тока вентилятора 0,12 А и тока пятнадцати реле типа NJR-3FF-S-Z 0,45 А.
Поэтому трансформатора ТА-220/12-50-1,25 при его характеристиках будет более чем достаточно.
Таблица 3.3 Технические характеристики трансформатора ТА-220/15-50-1,25
| Наименование параметра | Значение |
| Напряжение первичной обмотки, В | 220 |
| Напряжение вторичной обмотки, В | 12 |
| Рабочая частота тока, Гц | 50 |
| Ток вторичной обмотки, А | 1,25 |
Для уменьшения реактивной мощности и помех в цепь первичной обмотки трансформатора включен параллельно танталовый конденсатор емкостью 0,022 мF, рассчитанный на напряжение 630 вольт.
Выпрямительный мост марки 2KBP06M-E4/51 имеет технические характеристики указанные в таблице 3.4.
Таблица 3.4 – Технические характеристики 2KBP06M-E4/51
| Наименование параметра | Значение |
| Максимальное постоянное обратное напряжение, В | 1000 |
| Максимальное импульсное обратное напряжение, В | 1000 |
| Максимальный прямой (выпрямленный за полупериод) ток, А | 2 |
| Максимальный допустимый прямой импульсный ток, А | 60 |
| Максимальный обратный ток,мкА | 10 |
| Максимальное прямое напряжение, В | 1 |
| при Iпр., А | 1 |
| Рабочая температура, С | -40…150 |
| Способ монтажа | в отверст. |
| Корпус | d-44 |
| Количество фаз | 1 |
Рисунок 3.12 Вольт- амперные характеристики диода и его внешний вид
Для уменьшения пульсаций тока во вторичной цепи установлен электролитический конденсатор емкостью 2200 мкФ и рассчитанный на напряжение 25 вольт.
Печатная плата изготовлена на листе фольгированного текстолита толщиной 1 мм путём применения утюжно- лазерной технологии. Шаблон печатается на лазерном принтере на тонкой фотобумаге для струйных принтеров.
Рисунок 3.13 – Фотография разработанной и изготовленной печатной платы объединения электрической схемы тренажера с электрической схемой электровоза
Использовалась фотобумагу "Lomond" с плотностью 100г/м2. При печатании отменил режим экономии тонера. При проектировании платы старался избежать больших полигонов - на принтере они плохо пропечатываются и требуют подкрашивания перманентным маркером. Вырезаем заготовку из фольгированного текстолита. Края лучше обработать напильником сразу. Заготовка, под струей воды, жесткой мочалкой и "Пемолюксом" тщательно обрабатывается до блеска. Потом заготовка протирается и сушится. Затем обезжиривается ацетоном. После этого к обработанной поверхности пальцами больше не прикасаться. Затем, наложив рисунок на текстолит, покрываем его прокладочной бумагой и на максимальном значении температуры утюга приглаживаем на твёрдой и ровной поверхности. После остывания детали под струёй воды аккуратно щёточкой смываем фотобумагу. Разводим раствор хлорного железа 1:3 с водой и подогреваем до 40 градусов. Погружаем плату с нанесённым слоем тонера в раствор и проводим травление. После травления дорожки залуживаются и просверливаются отверстия под компоненты и детали. Пайка производилась припоем ПОС 61.
4. ПОВЫШЕНИЕ УРОВНЯ МАСТЕРСТВА ВОЖДЕНИЯ ПОЕЗДОВ ЗА СЧЕТ ТРЕНАЖЕРНОГО КОМПЛЕКСА
4.1 Анализ результатов выполненной поездки
После выхода из режима выполнения поездки появится окно настройки параметров поездки с заблокированными кнопками настроек параметров поездки. Единственная разблокированная кнопка – «Протокол поездки» (рисунок 4.3).
Рисунок 4.1 – Вид с монитора ПК Окно настройки параметров поездки после выполнения поездки.
Для анализа результатов поездки необходимо нажать кнопку «Протокол поездки» в окне настройки параметров поездки (рисунок 4.3). Появиться окно «Печать справок» (рисунок 4.2), где нужно нажать на строку «Протокол с результатами выполнения поездки».
Рисунок 4.2 – Вид с монитора ПК Окно «Печать справок»
После нажатия на строку «Протокол с результатами выполнения поездки» появиться протокол поездки, который можно распечатать, нажав на кнопку «Печать». В протоколе указываются все вводимые поездные параметры – маршрут. Автоматически системой заносятся замечания, совершенные обучающимся за время поездки. Протокол (рисунок 4.3) является критерием для выставлении оценки студенту и способствует совершенствованию безаварийной работы за счет совершенствования управляющий действий машиниста и локомотивной бригады. Протоколы поездок хранятся у студента и предоставляются преподавателю при последующем совершении движения поезда по заданному маршруту.
Рисунок 4.3– Вид с монитора ПК «Протокол выполненной поездки»
В протокол заносится данные по поездке (рисунок 4.4), данные по участку (рисунок 4.5), данные по составу (рисунок 4.6).
Рисунок 4.4 – Копия протокола Данные по поездке















