Диплом (1229652), страница 8
Текст из файла (страница 8)
Согласно технологии ремонта сначала производим очистку редуктора до разборки. Очистку редуктора проведем в однокамерной моечной машине карусельного типа с помощью раствора с добавлением органических нейтральных растворителей, типа осветительного керосина, бензина, уайт-спирита, трихлорэтилена и др. Для того чтобы не применять после очистки ополаскивания применим ТЕМП 100 или ТЕМП 100Д.
3.4 Разборка редуктора
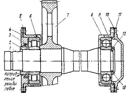
Разборка редуктора представлена на рисунке 3.3. Очистите наружные поверхности, выверните сливную пробку и слейте масло из картера. Снимите колесо вентилятора с вала редуктора. Отсоедините кожух вентилятора от картера редуктора. Спрессуйте фланец 43 (см. рисунок 3.1) ведущего вала и фланец 59 нижнего вала. Отверните гайки крепления масляного насоса высокого давления 19 и снимите его. Отверните гайки крепления и снимите крышку 10, а также технологический лючок со стороны, противоположной колесу вентилятора.
Рисунок 3.3 – Схема разборки редуктора
Снимите крышки 67 подшипниковых узлов ведущего вала 44. Отверните гайки крепления по периметру разъема, выбейте стяжные пригонные болты и снимите верхний картер 5. Снимите ведущий вал 44 и вал 32 в сборе. Выверните болты крепления подшипникового узла и выведите через расточку вал вентилятора 1 в сборе. Отсоедините масляный трубопровод от насоса 50 и фильтра 15. Выверните болты крепления масляного насоса 50, болты крепления гнезда 46 подшипника и болты крепления подшипникового узла со стороны фланца 59. Снимите масляный насос 50, гнездо 62 вместе с наружным кольцом роликового подшипника 63. Выведите вал через расточку для гнезда 62.
Разборка вала представлена на рисунке 3.4. Снимите крышку 15 и гнездо 11 роликового подшипника. Выбейте штифт 16, спрессуйте втулку 17 и роликовый подшипник 12. Снимите кольцо 10 и спрессуйте коническую шестерню 8. Снимите кольцо 3 и полукольца 4, спрессуйте подшипники 2 и 6 вместе с гнездом, затем спрессуйте шестерню 7.
Рисунок 3.4 – Вал промежуточный – привод шестеренчатого насоса: 1, 11 – гнезда подшипников; 2, 12 – подшипники роликовые; 3, 4, 10 – кольца; 5, 13, 14 – прокладки; 6 – шариковый подшипник; 7 – шестерня; 8 – шестерня коническая; 9 – вал; 15 – крышка; 16 – штифт; 17 – втулка
Разборка ведущего вала представлена на рисунке 3.5. Снимите крышку 4 лабиринта, спрессуйте кольцо 2 с вала, снимите кольцо 3 лабиринта и гнездо 5 подшипника вместе с наружной обоймой роликового подшипника. Спрессуйте внутреннюю обойму роликового подшипника и шестерню 7. Снимите крышку 11, кольцо 13, разрезное кольцо 12, гнездо 8 подшипника и спрессуйте шариковый подшипник 9.
Рисунок 3.5 – Ведущий вал: 1 – вал; 2 – кольцо; 3 – кольцо лабиринта; 4 – крышка; 5 – гнездо подшипника; 6 – роликовый подшипник, 7 – шестерня; 8 – гнездо подшипника; 9 – шариковый подшипник; 10 – прокладка; 11 – крышка; 12, 13 – кольца
Разборка вала привода вентилятора представлена на рисунке 3.6. Спрессуйте шестерню 1 с вала 5. Снимите кольцо пружинное 4, гнездо 2 подшипника и спрессуйте роликовый подшипник 3. Снимите крышку лабиринта 9 и гнездо 7, спрессуйте втулку 12 с вала. Снимите кольцо лабиринта и спрессуйте шариковый подшипник 6.
Рисунок 3.6 – Вал привода вентилятора: 1 – коническая шестерня; 2,7 – гнезда подшипников; 3 – роликовый подшипник; 4 – кольцо пружинное; 5 – вал; 6 – шариковый подшипник;
8 – кольцо лабиринта; 9 – крышка лабиринта; 10, 11 – уплотнения; 12 – втулка; 13 – болт
Разборка нижнего вала представлена на рисунке 3.7. Снимите гнездо 14 подшипника вместе с наружным кольцом роликового подшипника 13. Затем снимите кольцо пружинное 11 и спрессуйте роликовый подшипник 13. Спрессуйте шестерню 15 с вала. Отверните болты 2, снимите крышку 1 и гнездо 7. Спрессуйте роликовые подшипники 8 и шариковые подшипники 10 с кольцами и втулкой 4.
Рисунок 3.7 – Вал нижний: 1 – крышка; 2 – болт; 3, 4 – кольца; 5, 6 – прокладки; 14, 7 – гнезда подшипников; 8, 13 – роликовые подшипники; 9, 17 – кольца; 10 – шариковый подшипник; 11 – кольцо пружинное; 12 – штифт; 15 – шестерня
3.5 Контроль состояния деталей и методы устранения дефектов
Раздел начинается с разработки ремонта «слабой» детали узла, с этой целью, используя руководство по ТО и ТР тепловоза ТЭ10 и другую справочную литературу, согласно требованиям ЕСТД, составляют карту на дефектацию «слабой» детали [6]. В карте указывают все возможные дефекты, способы их выявления и устранения. В начале карты располагают не устраняемые дефекты (изломы, трещины, отколы и т.п.). По каждому дефекту приводят размеры: номинальный, допустимый и предельный. Технология ремонта деталей заднего распределительного редуктора представлена в таблицах 3.1 и 3.2 [7].
Таблица 3.1 – Карта технических требований на дефектацию ведущего вала
|
| Деталь | ||||||
| Вал ведущий | |||||||
| № 44 | |||||||
| 2ТЭ10М | |||||||
| МАТЕРИАЛ | ТВЕРДОСТЬ | ||||||
| Сталь 30ГХС | HRC =250 | ||||||
| Возможный дефект | Способ ус-тановления дефекта, инструмент | Размер, мм | Заключение | ||||
| номинальный | допустимый | преде-льный | |||||
| 1. Трещины | Дефектос-коп, НМК | Не допускается | Браковать | ||||
| 2. Отколы | Визуально | Не допускается | Браковать | ||||
| 3. Биение вала: радиальное-торцевое | Индикатор на станке | Не более 0,04 | Восстановить путем местного нагрева горелки с последующей проверкой дефектоскопом | ||||
| 3. Износ посадочной поверхности вала под подшипник | Микрометр 75–100 | до 0,3 | 0,3 | >3 | Восстановление хромированием, осталиванием, наплавкой, ХМС | ||
| 4. Износ посадочной поверхности вала под фланец и износ посадочной поверхности фланца | Микрометр 75–100, штанген- циркуль | до 0,3 | 0,3 | >3 | Восстановить вибродуговой наплавкой под слоем флюса марки АН348А [8]. Для наплавка применяют проволку марки Св08ГА с диаметром 1–1,2 мм | ||
| 5. Износ посадочной поверхности вала под шестерню | Микрометр 75-100 | до 0,3 | более 3 | Газопламенное напыление [8] | |||
Таблица 3.2 – Карта технических требований на дефектацию других деталей редуктора
| Подсборка | Деталь | Дефект | Способ установления дефекта. Инструмент | Размер, мм | Способ устранения | Технология устранения | ||
| Н | Д | П | ||||||
| 1 | 2 | 3 | 4 | 5 | 6 | 7 | 8 | 9 |
| Картер в сборе | Картер | Трещины | Магнитно-порошковая дефектация. Мелование | - | до 50 | 100 | Восстановить | Хол. электродуг. сваркой. Заварка железомедными электродами 034-1 или ЦЧ-1 [8] |
| Пробоины, отколы | Визуально | - | не более 10 % от всей поверхности | не более 15 % от всей поверхности | ||||
| Посадочные места под гнезда подшипников, стаканов подшипника | Износ, выработка | Микрометраж. Штангенциркуль | - | 0,2 | Более 0,3 | Восстановить | Наплавка, установка втулки толщиной не менее 1,5 мм на клей ГЭН -150В с последующей механической обработкой | |
| Крышки | Трещины | Магнитная дефектоскопия | - | 15 | 25 | Восстановить | Заварка электродами ЦЧ4 или ОЗЧ-1 с покрытием ХОНИ-13/35 [8] | |
| Износ дна | Штангенциркуль | - | 1 | более 2 | Восстановить | Осталивание, наплавка | ||
| Уплотнительные кольца, прокладка | Износ | Визуально | Не допускается | Браковать | Заменить | |||
Продолжение таблицы 3.2
| 1 | 2 | 3 | 4 | 5 | 6 | 7 | 8 | 9 | |
| Вал в сборе | Шестерни | Излом, трещина в зубьях | Магнитная дефектоскопия | Не допускается | Браковать | Заменить | |||
| Вмятины, раковины | Визуально. Штангенциркуль | - | Не более 0,2 в глубину | более 0,5, при условии что площадь не превышает 10% рабочей пов-ти зуба | Браковать | - | |||
| Откол зуба | Визуально. Штангенциркуль | - | не более 10 % | не более 10% от длины зуба | Браковать | Острые кромки закруглить | |||
| Увел. боковой зазор м/у зубьями: 1. цилиндр. передачи; 2. конич. передачи с сдвинутыми шестернями; 3. конич. передачи с раздвинутыми шестернями. | Щуп. Свинцовая выжимка. Микрометр | - | 0,13 - 0,92 0,2 0,72 | более 1,1 менее 0,1 более0,85 | Восстановить Восстановить Восстановить | Регулировать при помощи регулировочных прокладок, при невозможности шестерни заменить (подобрать) Смешением колес на валах или подбором шестерен | |||
Продолжение таблицы 3.2
| 1 | 2 | 3 | 4 | 5 | 6 | 7 | 8 | 9 | |||
| Вал в сборе | Шестерня | Потеря натяга | Нутромер индикаторного типа. Щуп | 0,06- 0,12 | не менее 0,06 | менее 0,6 | Восстановить | Нитроцементация | |||
| Фланец | Трещины | Магнитная или ультразвуковая дефектоскопия | Не допускается | Браковать | Заменить | ||||||
| Потеря натяга | Щуп. Микрометр индикаторного типа | 0,06-0,12 | не мене 0,06 | менее 0,06 | Восстановить | Вибродуговая наплавка под слоем флюса марки АН348А, проволкой марки Св08ГА с диаметром 1-1,2 мм | |||||
| Шлицевые соединения | Износ шлицевого соединения | Щуп. Нутромер | - | не менее 0,3 | менее 0,3 | Восстановить | Наращиванием изношенной поверхности шлицев электроискровым способом или хромированием или заменой частей соединения шлицевого конца вала новым | ||||
| Детали имеющие откол шлицев | Визуально | Не допускается | |||||||||
| Шпоночные соединения | Смятие и износ пазов | Микрометр, визуально | Не допускается | Восстановить | Механическая обработка под следующий ремонтный размер | ||||||
| Ослабление посадки | Щуп, микрометр | Не допускается | Восстановить | Электродуговой наплавкой пазов с последующей обработкой под чертежный размер | |||||||
| Лабиринтные кольца | Износ, деформация | Визуально | Не допускается | Браковать | Заменить | ||||||
3.6 Комплектование, сборка и монтаж редуктора















