Диплом Зимин готов (1226315), страница 6
Текст из файла (страница 6)
Мощность при уплотнении:
(7)
Мощность при передвижении в рабочем режиме:
(8)
где
- число подбивочных блоков на машине, шт;
- к.п.д. привода соответствующих передач.
Для машин ВПР минимальная суммарная мощность холостого режима при работе насосов гидросистемы на слив (гидроаккумулятор заряжен) равна
= 58,9 кВт, а максимальная суммарная -
= 127кВт.
Мощность подбивочного блока, подводимая к механизмам заглубления, вибрации и обжатия (подачи) лопаток подбоек, расходуется на изменение уплотненного состояния балластного слоя под подошвами шпал, а так же на преодоление сил трения в подшипниках и шарнирных соединениях. У большинства выправочно-подбивочных машин каждый привод вибраций (эксцентриковый вал) осуществляется от отдельной независимой гидросистемы, а привод вертикального и поперечного перемещения блока и обжатия – от общей рабочей гидросистемы. Поэтому анализ энергетического баланса целесообразно производить отдельно для приводов вибраций и обжатия.
Мощность, развиваемая приводами шпалоподбивочных механизмов блока в момент заглубления подбоек и виброобжатия балласта:
(9)
где
- мощность, расходуемая на преодоление сил трения в шарнирных соединениях блока, возникающих от действия нагрузки, сил инерции и тяжести подвижных звеньев.
составляет 5 – 10 % от полезной мощности
. Распределение полезной мощности между механизмами заглубления, вибраций и обжатия зависит от режимов виброуплотнения и можно представить, кВт:
, (10)
, (11)
где
- составляющие полезной мощности на заглубление подбоек, затрачиваемые механизмом вибраций и механизмом заглубления (внедрения), кВт;
- составляющие полезной мощности на виброобжатие балласта, затрачиваемые механизмом вибрации и механизмом обжатия, кВт.
Для определения составляющих мощности
необходимо знать изменения реакций балласта (усилий), приложенных к лопаткам подбоек, в функции используемого показателя уплотнения и перемещения лопаток во время обжатия.
2.4. Взаимодействие лопаток подбоек и уплотняемого балластного слоя.
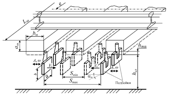
Кинематический и силовой анализ взаимодействия поступательно движущейся вибрирующей лопатки подбойки с массой балласта в слое рассматривается на модели горизонтального вибрационного воздействие подбойки 1 с объемом балласта 3 под шпалой 2 (рис. 17). Угловая частота колебаний подбойки ω, рад/с, амплитуда A, м, а скорость подачи Vп, м/с.
Рисунок 17 - Модели горизонтального вибрационного воздействие подбойки на балласт.
При рассмотрении стационарного процесса взаимодействия подбойки с балластом начало отсчета времени можно принять в момент начала нового колебательного цикла. Тогда начальная фаза колебаний принимает нулевое значение. С этим моментом времени свяжем локальные системы координат 0St и 0Vt (рис. 18, а, б).
Рисунок 18 – График взаимодействия лопаток подбоек с балластом.
На рис. 18 левее точки начала координат 0 показаны части графиков, соответствующие предыдущему циклу, а правее – текущему циклу. При отрывном режиме работы часть периода колебаний T лопатки находятся в контакте с балластом – с точки 1 графика до точки 2. Подбойка движется к шпале, производя обжим балласта. Пройдя точку максимального отклонения, подбойка начинает движение от шпалы, и в точке 2 ее скорость выравнивается со скоростью отдачи балласта Vб. В дальнейшем движении она отрывается от балласта. На участке 2-4 подбойка сначала движется от шпалы, а затем, пройдя точку 3 максимального отклонения, начинает движение к шпале. В точке 4, положение которой отражено на графике, подбойка встречается с балластом. Происходит удар лопатки о балласт, аналогичный удару в точке 1 предыдущего цикла.
Движение подбойки является результатом наложения ее колебательного и поступательного движений, условно показано в виде графика 1–2–3–4 (см. рис. 18, а). Уравнение лопатки подбойки в показанной локальной системе координат в абсолютном движении /4/:
, (12)
Скорость движения лопатки подбойки, как производная по времени t от перемещения Sлп:
, (13)
На участке 1–2 лопатка находится в контакте с балластом и производит его обжим. На этом участке совершается работа по уплотнению балласта, причем часть работы выполняет механизм привода вибраций, а часть работы механизм подачи. В точке 2 происходит отрыв лопатки от балласта, после чего она совершает возвратное движение, а балласт под действием сил упругости смещается. Уравнение смещения балласта:
, (14)
где S2 – отклонение лопатки с балластом от начального положения в точке отрыва 2, м;
Vб – скорость отдачи балласта, м/с (Vб = 0,13 – 0,14 м/с);
t2 – время от начала цикла до момента отрыва, с.
Период колебаний T (T = 2π/ω), с, складывается из времени контакта tк лопатки с балластом и времени ее отрыва tо от балласта (T = tк + tо). В точке 4 положения лопатки (точка 4б и точка 4п, принадлежащие балласту и подбойке совпадают) наблюдается удар по балласту (см. рис. 18, а). При ударе происходят интенсивные смещения частиц балласта и его уплотнение, поэтому сначала определим tк и tо.
Момент времени отрыва лопатки подбойки от балласта:
, (15)
Момент времени t4 удара лопатки подбойки и уплотнения балласта определится из трансцендентного уравнения:
, (16)
Это уравнение легко решается методом итераций. При итерационных вычислениях последовательно наращивается значение t4 по формуле t4=t2+Δt (Δt – сколь угодно малый интервал наращивания времени, с). Итерации прекращаются, если левая часть уравнения станет ≤ 0.
Время отрыва и время контакта лопатки подбойки и балласта составляет:
Скорость удара лопатки подбойки о балласт, м/с (см. рис. 18, б):
, (17)
Для анализа силовых и энергетических соотношений процесса уплотнения балласта необходимо определить смещение лопатки подбойки Sк вместе с балластом, м:
, (18)
где Smax – максимальное смещение лопатки с балластом относительно исходного расчетного положения (точка 0), м;
Sп – величина подачи лопатки за цикл колебаний, м;
S4 – смещение лопатки относительно исходного положения в момент удара, м.
Максимальному смещению лопатки подбойки Smax соответствует его нулевая скорость, поэтому:
, (19)
где tmax – время от начала цикла до достижения лопаткой максимального отклонения, с.
Время, соответствующее максимальному отклонению лопатки, с:
, (20)
Величина подачи лопатки за цикл колебаний, м:
Момент времени (точка 3), соответствующий минимуму траектории лопатки, с:
, (21)
Смещение Smin определится из подстановки tmin в (12). Моменту времени tmin соответствует максимум отрыва лопатки подбойки от балласта.
С учетом (14) максимальный отрыв лопатки от балласта:
, (22)
На графике (см. рис. 18, а) величина Smin принимает отрицательное значение.
Таким образом, взаимодействие рабочего органа с балластом характеризуется полностью пятью параметрами /5/, /6/: Sк – обжим (подача) балласта за каждый цикл колебаний, м; Sо – максимальный отрыв лопатки подбойки от балласта за цикл колебаний, м; tо – время отрыва лопатки от балласта за цикл колебаний, с; tк время контакта лопатки с балластом за цикл колебаний, с; Vу – скорость удара в момент встречи рабочей лопатки с балластом, м/с.
Эффективность виброуплотнения щебеночного балласта обеспечивается, если параметры взаимодействия и их соотношения составляют:
, (22)
2.5. Расчет эффекта уплотнения балласта подбивочным блоком.
Требуемый результат уплотнения балластного слоя в зоне под шпалами достигается, в зависимости от ряда факторов, либо при однократном, либо при многократном виброобжиме балласта лопатками подбоек подбивочного блока (см. рис. 17).
Вначале определим относительную осадку уплотнения Eу объема балластного слоя под шпалой после однократного обжима. Пусть начальное состояние слоя характеризуется относительной осадкой уплотнения Eн. Отсутствует локализация зон уплотнения. Обжим объема балласта в слое толщиной hсл, м, производится из положения лопаток, характеризуемого максимальным раскрытием Smax, м, в положение минимального раскрытия Smin, м (рис. 19).
Рисунок 19 – Схема уплотнения балласта подбойками.
Подбивка (уплотнение балластного слоя в зонах под шпалами) производится с технологической выправочной подъемкой hпод, м. Начальный объем уплотняемой зоны, м3:
, (23)
где Vосн – основной объем балласта под шпалой, подлежащий уплотнению на длине (Lш – e)/2, м;
Lш – длина шпалы, м (для железобетонной шпалы Lш = 2,7 м, а для деревянной шпалы Lш = 2,75 м), е – ширина не уплотняемой зоны в середине шпалы, м;
Vдоп – дополнительный объем балласта, м3, подаваемый подбойками в зону уплотнения при вибрационном обжиме с учетом угла передачи давления αп, град.
Основной и дополнительный объемы:
(24)
(25)
где ψ = (0,9 – 1,0) – коэффициент притока (выдавливания) балласта при виброобжиме;
kдоп = (1,2 – 1,3) – коэффициент, учитывающий дополнительную подачу балласта подбойкой за счет угла αп передачи давления (для путевого щебня, подвергаемого вибрационному воздействию αп = (15 – 20)º;
Jпод – число одновременно работающих в рассматриваемой зоне подбоек;
dп – начальный обжим балласта, равный толщине подбойки, м;
kп – коэффициент приведения площади лопатки, kп = (a+d)(b+d)/(ab); Fр – рабочая площадь лопатки, Fр = ab.
Объем уплотненной зоны (ядра уплотнения), м3, характеризуемый искомой относительной осадкой уплотнения Eу, с учетом технологической подъемки hпод:
(26)
В модели фактически принимается в расчет одна и та же масса балластного материала, занимающая объем до уплотнения Vн, а после уплотнения объем Vу, поэтому результаты расчета по (23) и (26).
Далее рассмотрим относительную осадку уплотнения Eу щебеночного балласта в ядре уплотнения под шпалой после двукратного виброобжима балласта подбойками. После первого обжима подбивочный блок приподнимается, лопатки подбоек выходят из балласта. Под действием вибраций при подъемке пути образующиеся пустоты заполняются обсыпающимся из шпальных ящиков балластом. При повторном обжиме образовавшиеся новые дополнительные объемы балласта должны заполнять ядро уплотнения.
Без разрушения сформированное в первом цикле ядро уплотнения может пополняться новыми объемами балласта только в случае, если его степень уплотнения ниже, чем формируемая в дополнительных объемах. В этом случае может происходить выравнивание (диффузия) степени уплотнения в ядре. Повторное уплотнение ядра не требуется при достижении степени уплотнения ядра, близкой к предельной.















