Диплом Зимин готов (1226315), страница 4
Текст из файла (страница 4)
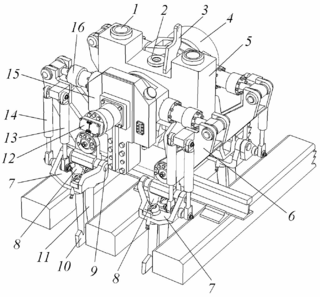
Рисунок 10 - Нивелировочное измерительное устройство ВПР-02.
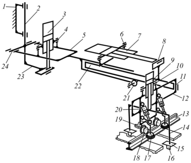
Нивелировочно-рихтовочное измерительное устройство, кинематическая схема которого показана на рис. 11, позволяет измерить стрелы изгиба рельсовых нитей в продольном профиле, их положение по уровню, а также измерительную стрелу изгиба для работы рихтовочной КИС.
Рисунок 11 - Нивелировочно-рихтовочное измерительное устройство ВПР-02.
Рама 19 устройства при работе опирается на РШР 21 через катки 6 с ребордами. Она перемещается вертикально и прижимается к рельсам через катки двумя пневматическими цилиндрами 14.
Цилиндрические направляющие 15 и кронштейны, при этом, позволяют компенсировать движение устройства по неровностям пути. Пневматические цилиндры 16 обеспечивают прижим одного катка к базовому рельсу для рихтовки. На раме установлен датчик 20, позволяющий производить измерение стрелы изгиба пути относительно троса-хорды 10.
Стрелы изгиба рельсов в продольном профиле измеряются датчиками 2 с прецизионными потенциометрами, которые через кронштейны 3 установлены на вертикальных штангах. Штанги через катки 8 опираются на направляющие 7. Это дает возможность скомпенсировать боковой относ нижней части устройства при прохождении кривых. Штанги соединены между собой поперечной балкой 18, на которой установлен маятниковый датчик 4 положения пути по уровню в зоне выправки. По этому датчику производится установка взаимного положения небазового рельса относительно базового. Балка вместе с маятником носит название маятникового моста.
В транспортном положении устройство фиксируется пневматическими стопорами 17.
В основу работы нивелировочной системы как следящей системы автоматического регулирования положен принцип сравнения текущего положения пути в продольном профиле и по уровню, измеряемого описанной выше системой, через датчики с установочным положением пути, которое задается через систему задающих устройств. Управляющие рассогласования отрабатываются (делаются ниже порога чувствительности системы) перемещениями РШР в точке выправки. В общем случае при управлении выправкой задаются общая подъемка пути и превышение по уровню небазовой рельсовой нити относительно базовой.
Выправочная подъемка системой может быть реализована двумя способами: а) отслеживанием смещенного относительно исходного положения нулевой точки управления (сдвиг нуля управления); б) установкой переднего конца базового нивелировочного троса на высоту, соответствующую выправочной подъемке.
В основу управления выправкой положены следующие группы операций:
– выбор базового рельса. На прямом участке пути выбирается любой рельс, а в кривой – внутренний, относительно которого устанавливается продольный профиль;
– установка необходимой величины выправочной подъемки, гарантирующей сокрытие исходных неровностей;
– установка необходимой величины возвышения небазового рельса относительно базового.
1.1.4. Выправочно-подбивочно-рихтовочная машина ВПРС-03 пришла на замену устаревшим машинам ВПРС-500 и ВПРС-02 ОАО «Кировский машиностроительный завод имени 1 мая» (рис. 12)
Общее устройство. Машина является сочлененной единицей ССПС, состоящей из базовой машины и одноосной платформы, которые между собой соединены через универсальный шарнирный узел.
Рисунок 12 - Выправочно-подбивочно-рихтовочная машина ВПРС-03.
Экипажная часть базовой машины включает в себя сварную раму 2, которая опирается на двухосные типовые тележки: тяговую 8 и бегунковую 16. Энергетические потребности машины обеспечивает дизельный агрегат 3, который через гидромеханическую силовую передачу 9 в рабочем режиме передает вращение насосам гидросистемы, а в транспортном режиме – колесным парам тяговой тележки. Экипажная часть платформы состоит из рамы 22, опирающейся на колесную пару 23. На платформе имеется дополнительный топливный бак 18 и бортовой кузов 20 для перевозки путевых материалов и инструмента. Как единица ССПС машина оснащена стандартными автосцепками 6, тормозной системой, сигнальными устройствами и системой КЛУБ-УП.
Управление машиной в рабочем режиме производится из кабины оператора 5 и из рабочей кабины 12. При транспортировке машины своим ходом управление движением производится из кабины оператора 5 или из кабины машиниста 1.
Для уплотнения балластного слоя в зоне под подошвами шпал используются два универсальных одношпальных подбивочных блока 15. Блоки устанавливаются на подвижных рамах, имеющих вертикальные направляющие колонны. При работе в кривых участках пути или на стрелочном переводе блоки вместе с рамами могут смещаться в поперечном направлении для установки над осью рельса.
Для постановки РШР или стрелочного перевода в проектное положение при выправке пути используется ПРУ 13 с крюковыми и роликовыми захватами. При работе на стрелочном переводе в работу включается одно из дополнительных подъемных устройств 10, обеспечивающих вывешивание перевода за три точки.
Уплотнение балласта у торцов шпал производится виброплитами 22, которые располагаются на платформе и полностью унифицированы с аналогичными устройствами машины ВПР-02.
Рихтовочная КИС машины включает трос-хорду 11, переднюю 7, контрольно-измерительную 17 и заднюю 24 тележки, а также нивелировочно-рихтовочное измерительное устройство 14. Машина оснащается типовой двуххордовой нивелировочной КИС 4. Система выправки унифицирована с машиной ВПР-02.
Подбивочные блоки. Универсальный подбивочный блок машины (рис. 13) в качестве базовой сборочной единицы имеет станину 5, которая отверстиями 1 устанавливается на направляющих колоннах подвижной рамы. Через резьбовое отверстие 2 блок соединяется со штоком гидроцилиндра его вертикального перемещения. Аналогичную систему вертикального перемещения блока содержат все машины класса ВПР.
Блок имеет эксцентриковый механизм вибрации, который установлен на коренных подшипниках в станине, имеет маховиками 4 и упругую муфту, соединяющую вал с аксиально-поршневым гидромотором 12. Привод подачи подбоек (внешнего ряда 10 и внутреннего ряда 11) включает шатунные гидроцилиндры 16, которые своими проушинами корпусов соединены с шатунными подшипниками эксцентрикового вала, а проушинами штоков – с рычагами 6 подбоек. При вращении эксцентрикового вала вибрации через цилиндры 16 передаются на концы рычагов подбоек. Выдвижением или втягиванием штоков цилиндров относительно их среднего положения производится обжим балласта подбойками под средней шпалой и двумя соседними шпалами.
Рисунок 13 – Универсальный подбивочный блок ВПРС-03.
При работе подбивочного блока на стрелочном переводе требуется манипулировать угловым положением подбоек, поэтому рычаги в нижней части через шарниры 9 соединены с поворотными кронштейнами 7, 8 подбоек наружного 10 и внутреннего рядов 11. Подбойки наружного ряда поворачиваются в поперечном направлении гидроцилиндрами 14, а подбойки внутреннего ряда – гидроцилиндрами 13. Для полного вывода (откидывания) подбойки из рабочей зоны она может поворачиваться на угол 85º, а также поворачиваться к шпале на угол 15º.
Подбивочный блок имеет централизованную систему смазки с баком 15. В транспортном положении он фиксируется через проушину 3 с отверстием.
Устройства: подъемно-рихтовочное и подъема стрелочного перевода за третий рельс. Машина оснащается универсальным подъемно-рихтовочным устройством (рис. 14). Устройство включает сварную раму 15, которая соединяется с основной рамой машины 1 подъемными гидравлическими цилиндрами 3 через шарнирные соединения 2. Путевая решетка этими гидроцилиндрами вывешивается на необходимую высоту и устанавливается по уровню. При работе рама 15 опирается на рельсы через ролики 9, имеющие реборды. Рама спереди через амортизаторы 6, два гидроцилиндра 5 и кронштейн 4 связана с основной рамой машины. Гидроцилиндры позволяют осуществлять продольное смещение ПРУ при работе для лучшей ориентации относительно элементов конструкции пути.
Рама через гидроцилиндры 10 и шарнирные соединения связана с хребтовой балкой 20. Этими гидроцилиндрами осуществляется сдвиг пути в плане при рихтовке.
Рисунок 14 - Универсальное подъемно-рихтовочное устройство ВПРС-03.
В режиме «Путь» для захвата РШР за головки рельсов включаются роликовые захваты, состоящие из ребордчатых горизонтальных роликов 17, рычагов 18 и гидроцилиндров 19. Захват головки рельса обеспечивается зажимом между роликами 9 и 17. В режиме «Стрелки» во многих местах перевода захват за головку рельсов роликами невозможен. В этом случае используются крюковые захваты 8. Захват может быть помещен либо под головку, либо под подошву. Вертикальное перемещение крюковых захватов осуществляется гидроцилиндрами 13, которые своими корпусами соединены с ними через кронштейны, а штоками – с выдвижными каретками 7. Каретки 7 в поперечном направлении смещаются соединенными с ними через штоки гидроцилиндрами 16. Согласованными движениями в вертикальном и горизонтальном направлениях крюки позиционируются относительно рельса и захватывают его.
В транспортном положении ПРУ фиксируется стопорами 12 с приводом от пневматических цилиндров 11.
Устройство для подъема стрелочного перевода за третий рельс, кинематическая схема которого показана на рис. 15, подвешивается на раме 1 машины через вертикальную поворотную колонну 2, которая в нижней части неподвижно соединена с опорным кронштейном 23. С кронштейном 23 через горизонтальные шарниры 24 соединена укосина 5, которая может поворачиваться в вертикальной плоскости на небольшой угол с помощью гидроцилиндра 3, соединенного с ней горизонтальными шарнирами 4.
Рисунок 15 – Дополнительное устройство ПРУ, для подъема стрелочного перевода за третий рельс.
Внутри укосины в направляющих размещается телескопическая балка 22. Она дополнительно опирается на направляющий ролик 21. В верхней части укосины располагается выдвижной гидроцилиндр 7, который своим корпусом соединен с ней через горизонтальные шарниры 6, а штоком через шарнир 8 – с выдвижной балкой 22. На конце телескопической балки 22 через вертикальную ось 11 закрепляется поворотная головка устройства. Головка имеет основание 12 в виде консольной сварной балки. В направляющих балки 12 устанавливается опора 14, которая соединена со штоком подъемного гидроцилиндра 9. Гидроцилиндр 9 через горизонтальные шарниры 10 соединен с балкой 12.
При работе устройства опора через плиты 15 и анкеры 16 устанавливается на балласт шпального ящика. Шарниры 10 в этом случае компенсируют перекосы, связанные с неровностями поверхности балласта, а анкеры предотвращают соскальзывание опоры. Для лучшей фиксации и прилегания опоры к поверхности балласта на ней установлен дебалансный вибровозбудитель с приводом от гидромотора (на рисунке не показан).
Рельс захватывается за головку системой, включающей два горизонтальных ролика с ребордами 18 и два роликовых захвата. Роликовый захват состоит из горизонтального тарельчатого ролика 17, рычага 19 и гидроцилиндра привода 20.















