Диплом Зимин готов (1226315), страница 3
Текст из файла (страница 3)
При поступлении сигнала на обжим балласта распределители Р18, Р10 включаются в рабочие позиции. Масло под давлением начинает поступать в поршневые полости цилиндров привода рычагов наружных подбоек, вследствие чего они включаются по дифференциальной схеме, их штоки выдвигаются, и наружные подбойки производят вибрационный обжим балласта.
Скорость подачи лопаток наружных подбоек определена настройкой дросселя клапана ДР1. Кроме того рабочее давление 11,5-14,0 МПа подается в штоковые полости цилиндров Ц12, Ц13, Ц16, Ц17 привода рычагов внутренних подбоек, а сниженное давление 3,5 МПа поддерживается в поршневых полостях.
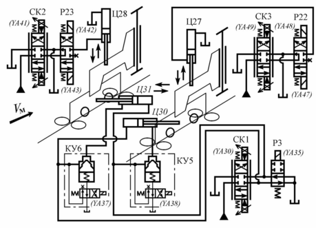
Рисунок 6 – Принципиальная схема гидропривода ВПР-02.
Штоки втягиваются, балласт обжимается внутренними подбойками. Усилие обжима балласта наружными подбойками ограничено настройкой редукционного клапана КР5. Благодаря асинхронному принципу подбивки усилие обжима балласта точно ограничено, что способствует равномерности уплотнения. Кроме того, при асинхронном принципе подбивки давление на балласт справа и слева от шпалы приблизител6но равно, что исключает продольный сдвиг шпалы. Вспомогательным распределителем Р4 поддерживается одна из трех ступеней заданного давления в линии управления клапана КР5, соответственно его давление перекрытия.
После прекращения подачи сигнала на обжим балласта отключаются рабочие позиции распределителей Р18, Р10, рычаги подбоек возвращаются в исходное положение, соответствующее раскрытым подбойкам.
Виброплиты уплотнения балласта у торцов шпал. Для уплотнения балласта у торцов шпал машины оснащаются дебалансными виброплитами. Уплотнение необходимо для заполнения пустот, образующихся у торцов шпал после рихтовки для повышения устойчивости пути горизонтальным нагрузкам. Виброплиты перемещаются в нижнее и промежуточное рабочие положения, а также в транспортное положение шарнирно-рычажным механизмом с гидроприводом. При установке виброплиты на раме подбивочного блока (ВПР-02) она подвешивается на двух рычагах с гидроцилиндрами через шарнирную систему с серьгами. При модернизации машины (ВПР-02М) была изменена конструкция шарнирно-рычажного механизма (см. рис. 3). Виброплита соединяется с рычагом шарниром, ось которого перпендикулярна продольной оси машины, что дает возможность продольного поворота виброплиты при ее опускании на неровный балласт. Передний и задний дебалансы виброплиты находятся на одном валу и повернуты друг относительно друга на угол 180°, поэтому виброплита совершает колебательные движения вокруг шарнира ее соединения с рычагом. Опускание виброплит в рабочем цикле машины согласуется с опусканием подбивочных блоков. Это позволяет осуществить комплексное вибрационное воздействие на балластный слой.
Подъемно-рихтовочное устройство. Машина ВПР-02 (ВПР-02М) для перемещения и фиксации в заданном положении РШР оснащена подъемно-рихтовочным устройством (ПРУ). В общем случае ПРУ включает механизмы захвата рельсов и механизмы манипулирования положением РШР при выправке.
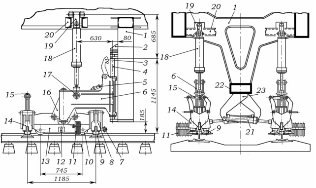
ПРУ содержит балансир 13 (рис. 7), на котором по краям размещены передний 8 и задний 14 роликовые клещевые захваты с роликами 9 «тарельчатого типа». Ролики переднего захвата находятся относительно роликов заднего захвата на более низком уровне, чтобы скомпенсировать кривизну упругой линии рельсов при подъемке. Своими ребордами ролики захватывают рельсы за головку. Привод раскрытия и закрытия захватов осуществляется гидравлическими цилиндрами 7, 15. Захваты обеспечивают передачу вертикальных нагрузок на рельсы для подъема и перекоса РШР. При этом кинематическая схема захватов способствует такому распределению усилий и моментов на рычагах, что при подъемке имеет место самозахват рельсов. Горизонтальные ролики 10 имеют две реборды, что позволяет передавать через них на РШР горизонтальные усилия, необходимые для сдвига пути в плане при рихтовке.
Рисунок 7 - Подъемно-рихтовочное устройство машины ВПР-02.
Балансиры закрепляются на кронштейнах 6 через вертикальные оси 16 с серьгами. Оси дают возможность поворота балансиров относительно кронштейнов на ограниченный угол, чтобы скомпенсировать изменения кривизны пути в плане при работе ПРУ. Кронштейны в свою очередь устанавливаются на вертикальных цилиндрических направляющих колоннах 4 и могут перемещаться вдоль них и одновременно поворачиваться в плане. Вертикальное перемещение подъемных механизмов производится гидравлическими цилиндрами 18, соединенными через сферический шарнирный узел 17 с кронштейнами. В верхней части цилиндры через универсальные шарнирные узлы 19 соединяются с поперечной балкой 20.
Фиксация подъемных механизмов в транспортном положении производится крюком 3, поворачиваемым пневматическим цилиндром 5, на упоре 2.
Балансиры 13 через сферические шарнирные узлы также соединяются с рихтующими гидравлическими цилиндрами 21, которые со стороны корпусов через другие аналогичные узлы присоединены к кронштейнам 23, приваренным к хребтовой балке 22. Штоки цилиндров согласованно смещаются вместе с РШР, обеспечивая ее необходимый сдвиг в плане. Во время зарядки или разрядки подъемные механизмы могут поворачиваться в плане независимо друг от друга, обеспечивая точное центрирование захватов над рельсами, снижая вероятность их случайного повреждения.
Для сбрасывания излишков балласта с концов шпал на балансирах закреплены тросовые щетки 17, а для реализации автоматического управления рабочим циклом может быть дополнительно установлен индуктивный датчик 12, связанный с системой точной остановки машины над рабочей зоной подбивки.
Гидравлическая система привода ПРУ обеспечивает точное отслеживание в рабочем цикле задаваемых положений РШР, являясь усилительно-преобразовательным элементом следящей системы выправки. При зарядке и разрядке ПРУ обеспечивается независимое перемещение подъемных механизмов.
Рисунок 8 – Принципиальная гидравлическая схема привода ПРУ.
Гидравлическими цилиндрами Ц27, Ц28 (рис. 8) захватные механизмы по направляющим колоннам перемещаются вертикально и независимо друг от друга. Рассмотрим, например, привод цилиндра Ц28. В нейтральной позиции распределителя Р23 сообщение штоковой полости с гидросистемой перекрыто, шток с захватным механизмом зафиксированы в определенном положении. При подаче сигнала на подъем рельсовой нити включается электромагнит YA42, соединяя штоковую полость с сервовентилем СК2. Включается позиция сервовентиля, показанная снизу. Сигнал на подъем отрабатывается до перекрытия сервовентиля. Если сигнал соответствует опусканию рельса, то включается позиция СК2, показанная сверху. Полость цилиндра Ц28 соединяется с баком. Цилиндр работает в плавающем режиме, предотвращая дополнительное вертикальное давление на путь. Очевидно, что в этом случае режим вывешивания и подъемки РШР был задан неправильно, и в пути останется горб. Для быстрого опускания механизма из транспортного положения в рабочее включается электромагнит YA43. Штоковая полость напрямую соединяется с баком.
Сдвиг пути в плане производится гидравлическими цилиндрами Ц30, Ц31, штоковые полости которых соединяются с системой через гидроуправляемые клапаны КУ5, КУ6. В нейтральной позиции пилотов клапаны свободно пропускают масло в любом направлении, а при включении рабочей позиции движение масла перекрывается. Таким образом, можно блокировать работу одного цилиндра, подавая к другому масло под давлением.
При передвижении машины в рабочем режиме с опущенным на рельсы ПРУ, распределитель Р3 соединяет все полости цилиндров с баком. Их штоки находятся в плавающем положении, обеспечивая свободное качение подъемных механизмов по горизонтальным неровностям.
После подачи сигнала на рихтовку пути распределитель Р3 переключается в рабочую позицию, перекрывая сообщение полостей цилиндров с баком. Направление и скорость сдвига РШР в этом случае определяется включенной позицией и степенью открытия золотника сервовентиля СК1, на электромагнит которого имеет выход система управления выправкой пути. При достижении требуемого положения РШР в плане золотник сервовентиля занимает нейтральное положение с перекрытием линий основного потока масла.
Контрольно-измерительная система управления выправкой. Контрольно-измерительная система (КИС) обеспечивает измерение отклонений в положении пути, выработку и передачу сигнала на управление механизмами подъемки и сдвижки, контроль результатов выправочных работ и запись положения пути. Машина оснащена независимыми нивелировочной, рихтовочной и контрольной системами. В зависимости от требований к пути и технологии работ системы выправки могут работать по методу сглаживания, фиксированных точек с предварительным измерением положения рельсовых нитей оптическим нивелировочным комплектом, с использованием лазерного луча или по расчету, проводимому на основе данных измерительного проезда бортовой ЭВМ.
Система выправки пути в продольном профиле и по уровню имеет выход на ПРУ 9 (см. рис. 9), которое является ее исполнительным механизмом. Положение правой и левой рельсовых нитей в продольном профиле измеряется двумя соответствующими измерительными системами, реализующими измерение по трем точкам с использованием передней корректирующей хорды.
Рисунок 9 – Контрольно-измерительная система ВПР-02.
Измерения осуществляются относительно правого 24 и левого 25 тросов-хорд. Их передние концы закреплены на нивелировочных устройствах 28, 29 через следящие механизмы 30, 31, обеспечивающие установку по высоте относительно нулевой отметки, что позволяет задавать выправочную подъемку пути. Задние концы нивелировочных тросов закреплены на контрольных устройствах 19, 21 через обводные блоки и натяжные пневматические цилиндры 18, 20. Нивелировочные устройства в свою очередь опираются через опорные площадки на передний рычаг 6, а контрольные устройства - на рычаг контрольно-измерительной тележки 13. Передний рычаг соединен с передней тележкой 1 рихтовочной КИС, с одной стороны, а с другой через универсальный шарнирный узел подвешен снизу шкворневой балки тяговой тележки 7.
Измерения стрел изгиба рельсовых нитей в продольном профиле производятся датчиками 22, 23 специальной конструкции с прецизионными потенциометрами. Датчики устанавливаются на нивелировочно-рихтовочном измерительном устройстве 27, которое опирается на рельсы в точках выправки пути. На этом устройстве также установлен маятниковый датчик 26, связанный с системой отслеживания уровня в точке выправки. В ряде модификаций машин используются отдельные измерительные устройства нивелировочной системы, размещаемые на подвижных рамах подбивочных блоков. Такие устройства более сложны, но позволяют точку измерения продольного профиля совместить с зоной подбивки пути (но это зона повышенной вибрации), в которой производится окончательная фиксация пути. Размещение измерительного устройства в зоне между ПРУ и подбивочными блоками позволяет более свободно его скомпоновать, облегчить эксплуатацию, несмотря на небольшую погрешность, связанную со смещением точки выправки и закреплением положения РШР после выправки.
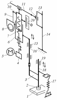
Нивелировочное устройство, кинематическая схема которого показана на рис. 10, является передней направляющей точкой измерительной системы, которая в масштабе повторяет начальные неровности пути в продольном профиле с возможностью ввода корректировочного управления положением троса относительно нулевой отметки.
Устройство монтируется на стойке 14, размещенной в кабине оператора, и опирается через штангу 16 и наконечник 2 на опорную площадку 1 переднего рычага. На штанге смонтирована винтовая передача 7 с приводом вала от электродвигателя 5 через редуктор 4, которая позволяет перемещать вертикально выдвижную часть 10 из корпуса 6 пиноли. Вертикальные перемещения регистрируются потенциометрическим датчиком 8, связанным через тросик с выдвижной частью. Одновременно при настройках системы положение троса можно контролировать по масштабному указателю 20. Трос 11 перемещается вместе с выдвижной частью. Усилие натяжения передается через втулку 12, которая может перемещаться по направляющей 13. Пружина 17 гарантирует постоянный контакт наконечника 2 и площадки 1.














