Глава 3 - Проектирование вибровозбудителя (1225401), страница 3
Текст из файла (страница 3)
Рисунок 3.4 − Силовая схема нагружения валов
3.7 Определение размеров ступеней валов виброблока
Основными критериями работоспособности валов виброблока являются прочность и выносливость. Они испытывают сложную деформацию - совместное действие кручения, изгиба и растяжения (сжатия). Но так как напряжения в валах от растяжения небольшие в сравнении с напряжениями от изгиба, то их обычно не учитывают.
3.7.1 Определение геометрических параметров ступеней валов
Вал представляет собой ступенчатое цилиндрическое тело, количество и размеры ступеней которого зависят от количества и размеров, установленных на вал деталей.
Вал вибровозбудителя представляет собой ступенчатое цилиндрическое тело, на который посажены зубчатое колесо и дебаланс, а также подшипники качения.
Проектный расчет ставит целью определить ориентировочно геометрические размеры каждой ступени вала: ее диаметр d и длину l. Определенные параметры занесем в таблицу 3.11.
Определим размеры вала-шестерни.
1-я ступень вала под полумуфту
, (3.12)
где
− крутящий момент на соответствующем валу, Н·м;
–допускаемые напряжения при кручении
=10...20 Н/мм2.
мм
Диаметр расчетного сечения
Из ряда Ra 40 принимаем ближайшее значение
=42 мм.
Тогда длина выходного конца вала под полумуфту
(3.13)
Из ряда Ra 40 принимаем
63 мм.
2-я ступень вала под подшипник
(3.14)
где t - высота буртика, мм, выбирается по таблице 3.11.
Таблица 3.11 – Значения высоты буртика, фаски ступицы, фаски подшипника
| d | 17...24 | 25...30 | 32...40 | 42...50 | 52...60 | 62...70 | 71...85 |
| t | 2 | 2,2 | 2,5 | 2,8 | 3 | 3,3 | 3,5 |
| r | 1,6 | 2 | 2,5 | 3 | 3 | 3,5 | 3,5 |
| f | 1 | 1 | 1,2 | 1.6 | 2 | 2 | 2,5 |
Тогда для
=42, t = 2,8
Округляем до ближайшего значения внутреннего кольца подшипника.
Предварительно выбираем
.
Длина вала под подшипник определяется графически
3-я ступень вала под шестерню
(3.9)
где r – фаска ступицы, мм (таблица 3.3)
Из ряда Ra 40 принимаем
=60 мм.
Длина вала под колесо
определяется графически на эскизной компоновке.
4-я ступень - под подшипник.
Определим размеры вала колеса.
1-я ступень вала под подшипник
Округляем до ближайшего значения внутреннего кольца подшипника.
Предварительно выбираем
.
Длина вала под подшипник определяется графически.
3-я ступень вала под колесо
Из ряда Ra 40 принимаем
=63 мм.
82 мм.
4-я ступень - разделительный бурт определяется графически на эскизной компоновке.
;
.
5-я ступень под дебаланс определяется графически на эскизной компоновке
Диаметр вала под дебаланс
.
Длина вала под дебаланс
.
Конструктивная схема дебалансного вибратора представлена на рисунке 3.5.
Для цилиндрической прямозубой передачи применяют подшипники легкой или средней серии для быстроходного вала и легкой серии для тихоходного вала.
1 − зубчатая передача; 2 − дебалансы
Рисунок 3.5 − Конструктивная схема вибратора
3.8 Проверочный расчет подшипников
Проверочный расчет предварительно выбранных в задаче 7 подшипников выполняется отдельно для быстроходного и тихоходного валов. Пригодность подшипников определяется сопоставлением расчетной динамической грузоподъемности
, Н с базовой
, Н или базовой долговечности L10h, ч (L10 млн. оборотов), с требуемой Lh ч, по условиям:
или
.
Базовая динамическая грузоподъемность подшипника
, представляет собой постоянную радиальную нагрузку, которую подшипник может воспринять при базовой долговечности, составляющей 106 оборотов внутреннего кольца. Значения
указаны в каталоге / / для каждого типоразмера подшипника. Параметры предварительно выбранных подшипников представлены в таблице 3.12.
Таблица 3.12 − Параметры подшипников шариковых радиальных однорядных
| Обозначение | Размеры, мм | Грузоподъемность, кН | ||||
| d | D | B | r |
|
| |
| Для быстроходного вала | ||||||
| 210 | 50 | 90 | 20 | 2 | 35,1 | 19,8 |
| 310 | 50 | 100 | 27 | 3 | 61,8 | 36,0 |
| Для тихоходного вала | ||||||
| 211 | 55 | 100 | 21 | 2,5 | 43,6 | 25 |
Требуемая долговечность подшипника
предусмотрена ГОСТ 16162−85 и составляет для зубчатых
10000 ч. Расчетная динамическая грузоподъемность
, Н, и базовая долговечность Ll0h, ч. определяются но формулам:
(3.10)
где Re − эквивалентная динамическая нагрузка, Н;
− угловая скорость соответствующего вала; т − показатель степени: т = 3 для шариковых подшипников.
, (3.11)
где Q − возмущающая сила дебаланса, Q=3420 Н.
.
Тогда
− для быстроходного вала
− для тихоходного вала
Подшипники пригодны.
Тогда
− для быстроходного вала
ч (3.12)
− для тихоходного вала
.
Окончательно принимаем подшипники сери 210 для быстроходного вала и 211 - для тихоходного.
3.9 Конструирование зубчатых колес
Основные параметры зубчатых колес (диаметр, ширина, модуль, число зубьев и пр.) определены при проектировании передач. Конструкция колес зависит главным образом от проектных размеров, материала, способа получения заготовки и масштаба производства.
В таблице 3.14 даны расчеты конструктивных элементов зубчатых колес при индивидуальном и мелкосерийном производстве.
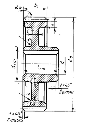
Основные конструктивные элементы колеса обод, ступица и диск (рисунок 3.6).
Обод воспринимает нагрузку от зубьев и должен быть достаточно прочным и в то же время податливым, чтобы способствовать равномерному распределению нагрузки по длине зуба. Жесткость обода обеспечивает его толщина S.
Ступица служит для соединения колеса с валом и может быть расположена симметрично, несимметрично относительно обода или равна ширине обода (см. рисунки таблиц 3.14). Это определяется технологическими или конструктивными условиями. Длина ступицы должна быть оптимальной, чтобы обеспечить, с одной стороны, устойчивость колеса на валу в плоскости, перпендикулярной оси вала, а с другой − получение заготовок ковкой и нарезание шпоночных пазов методом протягивания.
Диск соединяет обод и ступицу. Его толщина С определяется в зависимости от способа изготовления колеса. Иногда в дисках колес выполняют отверстия, которые используют при транспортировке и обработке колес, а при больших размерах и для уменьшения массы. Диски больших литых колес усиливают ребрами или заменяют спицами.
Острые кромки на торцах ступицы и углах обода притупляю фасками f, размеры которых принимают по таблице 3.13.
Таблица 3.13 − Стандартные размеры фасок, мм
| Диаметр ступицы или обода | 20-30 | 30-40 | 40-50 | 50-80 | 80-120 | 120-150 | 150-250 | 250-500 |
| f | 1,0 | 1,2 | 1,6 | 2,0 | 2,5 | 3,0 | 4,0 | 5,0 |
В проектируемых приводах колеса получаются относительно небольших диаметров и их изготовляют из крупного проката или поковок. Большие колеса открытых зубчатых передач изготовляют литьем или составными. Ступицу колес цилиндрических редукторов располагают симметрично относительно обода, а ступица колес открытых цилиндрических зубчатых передач может быть расположена симметрично и несимметрично относительно обода. Ступица колес закрытых и открытых передач комического зацепления выступает со стороны большего конуса.
В данном проекте, ввиду малого передаточного числа зубчатой передачи, целесообразно, в целях экономии материала, шестерню выполнить съемной.
Рисунок 3.6 - Конструкция цилиндрического зубчатого колеса
Таблица 3.14 − Конструкция цилиндрических зубчатых колес
| Элемент колеса | Параметр | Способ получения заготовки | Значение | |
| ковка; штамповка | колесо | шестерня | ||
| 1 | 2 | 3 | 4 | 5 |
| Обод | Диаметр | dа (таблица 3.8) | 210 мм | 150 |
| Толщина |
| 8,02 | 8,22 | |
| Ширина |
| 50,4 | 54,4 | |
окончание таблицы 3.14
| 1 | 2 | 3 | 4 | 5 |
| Ступица | Диаметр внутренний |
| 63 мм | 60 мм |
| Диаметр внешний |
| 95 мм | 93 мм | |
| Толщина |
| 19 мм | 18 мм | |
| Длина |
| 75 мм | 72 мм | |
| Диск | Толщина |
| 14 | 13,6 мм |
| Радиусы закруглений и уклон |
| 6 мм 7 | 6 мм 7 |
3.10 Расчет пружин сжатия
Пружина применяется в качестве упругого элемента, воспринимающего все нагрузки, которые вибровозбудитель стремиться передать на брус бульдозера. Проще и дешевле всего изготавливать витые пружины из проволоки круглого сечения. Это единственный упругий элемент с малыми габаритными размерами и при этом с большой энергоёмкостью.
(таблица 3.8)
12,6 мм















