8. Тех карта (1220627)
Текст из файла
 
3 Организационно - технический раздел
3 Разработка технологической карты на устройство железобетонного фундамента
3.1 Область применения
Технологическая карта разработана на устройство фундамента жилого дома.
Фундамент в осях 1-3, Б-И выполнен в виде железобетонной плиты, толщиной 500 мм из бетона класса В25, F150, W8. Основное армирование класса А400, вспомогательное армирование из арматуры класса А240. Фундаменты по оси 4 выполнены в виде отдельностоящих фундаментов под колонны, двуступенчатые, из бетона класса В25, арматура класса А400, А240.
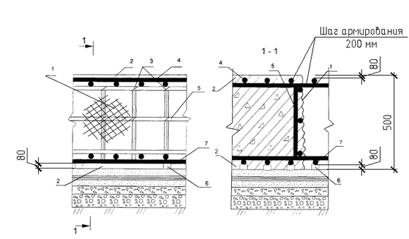
Технологическая карта предусматривает устройство монолитного плитного железобетонного фундамента, а также фундамента под колонны. Схема армироввания фундаментной плиты приведана на рисунуке 3.1
Рисунок 3.1 Армирование фундаментной плиты
В состав технологической карты входят следующие виды работ:
- устройство опалубки и армирование конструкций;
- укладка бетонной смеси в конструкции;
- выдерживание бетона и уход за ним;
- распалубка и приёмка конструкций.
Ведомость объемов работ дана в таблице 3.1
Таблица 3.1 - Ведомость объемов работ
|   Наименование процесса и операций  |    Объем работ  |  |
|   ед. изм.  |    кол-во  |  |
|   Монтаж/демонтаж опалубки  |    1 м2  |    143,4  |  
|   Установка плоских сеток (всего сеток 24 шт) -сетка С1(1 шт – 0,616 т, Ø25 А400, всего 12 сеток С1); -сетка С2(1 шт – 0,179 т, Ø18 А400, всего 12 сеток С2).  |    т. т.  |    7,40 2,15  |  
|   Итого (установка плоских сеток):  |    9,55 т  |  |
|   Установка и вязка арматуры отдельными стержнями, диаметром: - Ø25 А400; - Ø18 А400; - Ø8 А240.  |    т. т. т.  |    19,67 2,43 0,49  |  
|   Итого(установка отдельными стержнями):  |    22,59 т  |  |
|   Укладка бетонной смеси(В25, F150, W8), в том числе: -укладка бетонной смеси фундаментной плиты -укладка бетонной смеси столбчатых фундаментов  |    1 м3 1 м3  |    190,5 75,0  |  
|   Итого(укладка бетонной смеси фундамента):  |    265,5 м3  |  |
3.2 Организация и технология выполнения работ
Подготовительные работы.
До начала устройства фундаментов должны быть выполнены следующие работы:
-организован отвод поверхностных вод от котлована;
-устроены подъездные пути и автодороги;
-обозначены в пролете пути движения механизмов, места складирования, укрупнения арматурных сеток и опалубки, подготовлены монтажная оснастка и приспособления;
-выполнена бетонная подготовка под фундаменты;
-завезены арматурные сетки и комплекты опалубки в количестве, обеспечивающем бесперебойную работу не менее, чем в течение двух смен;
-составлены акты приемки основания фундаментов в соответствии с исполнительной схемой;
-устроено временное электроосвещение рабочих мест и подключены электросварочные аппараты;
-произведена геодезическая разбивка осей и разметка положения фундаментов в соответствии с проектом; на поверхность бетонной подготовки краской нанесены риски, фиксирующие положение рабочей плоскости щитов опалубки.
Работы по устройству фундамента.
Щиты опалубки - рамной конструкции. Рамы изготовлены из закрытого стального коробчатого профиля с выгнутым гофром. Палуба щита выполнена из бакелитовой финской фанеры, закрепляемой к раме самонарезающимися винтами. Соединение щитов осуществляется опалубочными клиновыми замками.
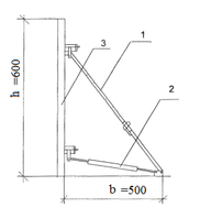
Опалубка устанавливается по всему периметру фундаментной плиты. Установка опалубки начинается с угловых точек. После позиционирования элементы опалубки сразу же подпираются снаружи подкосами, состоящими из консольных подпорок с функциональными распорками (рисунок 3.2) на расстоянии 3,5 м друг от друга.
Рисунок 3.2 - Устройство подкосов опалубки плиты
1 - консольная подпорка с соединительным шарниром, крепящимся фланцевым болтом к функциональной распорке; 2 - функциональная распорка; 3 - щит опалубки.
Элементы опалубки соединяются двумя замками, а на углах плиты тремя замками. Схема соединения щитов опалубки показана на рисунке 3.3.
 
 
Рисунок 3.3 - Схема соединения щитов опалубки плиты
1 - клиновые замки системы; 2 - опалубочные щиты; 3 - доборный элемент.
 
 
На земле крепление опалубки осуществляется двумя грунтовыми шпильками.
Перед монтажом арматуры должен быть произведен контроль за правильностью установки опалубки.
Картой предусмотрен монтаж арматуры плоскими каркасами и отдельными стержнями.
Арматуру следует монтировать в последовательности, обеспечивающей правильное ее положение и закрепление. Для обеспечения проектного защитного слоя бетона необходимо устанавливать пластмассовые фиксаторы. Запрещается применение подкладок из обрезков арматуры, деревянных брусков и щебня. Смонтированная арматура должна быть закреплена от смещения и защищена от повреждений. Для прохода по арматуре при бетонировании устанавливается трапы.
Стыковые соединения арматуры выполняются при помощи контактной стыковой и точечной сварки. При диаметре стержней 25 мм их скрепление по длине выполняется дуговой сваркой.
Установку арматуры производят по блокам(захваткам). Подачу арматурных стержней и каркасов в зону производства работ осуществляют с помощью крана СКГ-30 . Вначале производят работы на первом блоке. На заранее размеченное основание с интервалом 200 мм укладывают стержни в продольном направлении с одновременным фиксированием расстояния нижней арматуры от основания с помощью пластмассовых фиксаторов (защитный слой). Стыки продольных стержней по длине соединяются ручной дуговой сваркой электродами Э 50А по ГОСТ 9466-75*. Затем устанавливают плоские поддерживающие каркасы с шагом 200 мм. Пересечение продольных стержней с каркасами соединяют ручной дуговой сваркой. После установки поддерживающих арматурных каркасов и крепления их к нижней арматуре укладывают верхние продольные стержни, сваривая соединения дуговой сваркой, с одновременной установкой пластмассовых фиксаторов для защитного слоя. После окончания работ на первом блоке производят установку арматуры на втором блоке в той же последовательности.
Рисунок 3.4 - Конструкция рабочего шва
1 - металлическая сетка; 2 - защитный слой бетона; 3 - места крепления сетки вязальной проволокой; 4 - верхняя арматура; 5 - плоский поддерживающий каркас; 6 - пластмассовые фиксаторы; 7 - нижняя арматура.
Бетонирование фундаментной плиты предусмотрено блоками(захватками), образующимися путем разрезки массива поперечными и продольными рабочими швами, объем бетона которых назначают с учетом возможности непрерывного подвоза и укладки бетонной смеси в конструкцию (рисунок 3.4).
Рабочие швы образуют установкой плоских каркасов, на которые при помощи вязальной проволоки крепят металлическую сетку с ячейками размером не более 10х10 мм.
Перед укладкой бетонной смеси должны быть проверены и приняты все конструкции и их элементы, закрываемые в процессе последующего производства работ, с составлением акта на скрытые работы. Непосредственно перед бетонированием опалубка должна быть очищена от мусора и грязи.
Поверхности опалубки должны быть покрыты смазкой.
Технология бетонирования фундаментной плиты осуществляться с применением крана с переносными поворотными бункерами емкостью 1 м3.
Бетонную смесь доставляют на строительство в автобетоносмесителях и выгружают в поворотные бункера, установленные на специально подготовленной площадке. Заполненный бетоном бункер подают краном СКГ-30 в зону производства бетонных работ и выгружают в заданном месте. Укладку бетона осуществляют горизонтальными слоями по всей ширине одинаковой толщины без разрывов с одновременным направлением укладки в одну сторону во всех слоях бетонируемого блока с одновременным уплотнением бетонной смеси глубинными вибраторами. После распределения бетонной смеси по проектной отметки уплотнение верхних слоев бетона, выравнивание и заглаживание поверхности производят виброплощадкой.
Высота подачи бетонной смеси в армированные конструкции высота свободного сбрасывания не должна превышать 1 м.
Укладка следующего слоя бетонной смеси должна быть произведена до начала схватывания бетона предыдущего слоя.
Уплотнение бетонной смеси осуществляют глубинными вибраторами.
Толщина укладываемого слоя не должна быть более 1,25 длины рабочей части глубинного вибратора.
Продолжительность перерыва между укладкой смежных слоев бетонной смеси без образования рабочего шва устанавливается строительной лабораторией.
Верхний уровень уложенной бетонной смеси должен быть на 50 мм ниже верха щитов опалубки.
При уплотнении бетонной смеси не допускается опирание вибраторов на арматуру и элементы укрепления опалубки.
Верхняя поверхность фундаментной плиты выравнивается и уплотняется виброплощадкой, а затем заглаживается правилом.
Уплотнение укладываемой бетонной смеси необходимо производить с соблюдением следующих правил:
- шаг перестановки глубинных вибраторов не должен превышать полуторного радиуса их действия (рисунок 3.5);
Рисунок 3.5 Схема перестановки вибратора: 1-вибратор
- глубина погружения глубинного вибратора в бетонную смесь должна обеспечивать углубление его в ранее уложенный слой на 5 - 10 см;
- шаг перестановки поверхностных вибраторов должен обеспечивать перекрытие на 100 мм площадкой вибратора границы уже провибрированного участка.
Во время дождя бетонируемый участок должен быть защищен от попадания воды в бетонную смесь. Случайно размытый бетон следует удалить.
Продолжительность вибрирования должна обеспечить достаточное уплотнение бетонной смеси (прекращение выделения из смеси пузырьков воздуха). Бетонирование сопровождается записями в «Журнале бетонных работ». В начальный период твердения бетон следует защищать от попадания атмосферных осадков или высушивания и в последующем поддерживать температурно-влажностной режим с созданием условий, обеспечивающих нарастание его прочности.
Оптимальный режим выдерживания бетона: температура (плюс)18 °С, влажность 90 %.
Открытые поверхности бетона должны быть предохранены от вредного воздействия прямых солнечных лучей и ветра. Температурно-влажностные условия для твердения бетона обеспечиваются влажным состоянием его поверхности путем устройства влагоемкого покрытия и его увлажнения, выдерживания открытых поверхностей бетона под слоем воды, непрерывного распыления влаги над поверхностью бетона. В сухую погоду бетон из портландцемента поливают не менее семи суток, бетон на глиноземистом цементе - не менее трех суток. Поливка при температуре 15 °С и выше производится в течение первых трех суток днем не реже чем через каждые 3 ч и не реже одного раза ночью, а в последующее время - не реже трех раз в сутки. При температуре ниже 5 °С поливку не производят.
Распалубку начинают с угловой точки. Сначала демонтируют по участкам фланцевые гайки и стержни. Неподпираемая сторона опалубки должна при этом фиксироваться от опрокидывания или сразу же удаляться.
3.3 Требования к качеству работ
Контроль качества работ по устройству монолитной фундаментного железобетонного фундамента осуществляется прорабом или мастером с привлечением специальной строительной лаборатории. Производственный контроль качества работ должен включать входной контроль рабочей документации, поставляемых строительных материалов, операционный контроль технологических процессов и приемочный контроль плиты (акт скрытых работ, акт приемки).
Входной контроль. При входном контроле рабочей документации проводится проверка ее комплектности и достаточности в ней технической информации. При входном контроле материалов проверяется соответствие их стандартам, наличие сертификатов соответствия, гигиенических и пожарных документов, паспортов и других сопроводительных документов.
Поступающая на строительство арматурная сталь, закладные детали и анкеры при приемке должны подвергаться внешнему осмотру и замерам.
Характеристики
Тип файла документ
Документы такого типа открываются такими программами, как Microsoft Office Word на компьютерах Windows, Apple Pages на компьютерах Mac, Open Office - бесплатная альтернатива на различных платформах, в том числе Linux. Наиболее простым и современным решением будут Google документы, так как открываются онлайн без скачивания прямо в браузере на любой платформе. Существуют российские качественные аналоги, например от Яндекса.
Будьте внимательны на мобильных устройствах, так как там используются упрощённый функционал даже в официальном приложении от Microsoft, поэтому для просмотра скачивайте PDF-версию. А если нужно редактировать файл, то используйте оригинальный файл.
Файлы такого типа обычно разбиты на страницы, а текст может быть форматированным (жирный, курсив, выбор шрифта, таблицы и т.п.), а также в него можно добавлять изображения. Формат идеально подходит для рефератов, докладов и РПЗ курсовых проектов, которые необходимо распечатать. Кстати перед печатью также сохраняйте файл в PDF, так как принтер может начудить со шрифтами.















