Диплом (1220284), страница 2
Текст из файла (страница 2)
Все большее распространение получают датчики абсолютного давления, в которых используется кварцевый кристаллический элемент. Оказываемое через гофрированные мембраны на поверхность кристалла давление вызывает силу сжатия, воздействующую на кристалл. Вследствие пьезоэлектрических свойств кристалла при воздействии давления изменяется баланс активного моста Уитстона. Балансирование моста позволяет обеспечить точное определение давления. Датчики давления такого типа не подвержены гистерезису [2].
Гипсометрический метод. Гипсометрический метод определения атмосферного давления основан на зависимости температуры кипения жидкости от давления. Жидкость начинает кипеть при температуре, при которой парциальное давление паров равно внешнему давлению на ее поверхности. В качестве жидкости при измерении давления гипсотермометром используется дистиллированная вода. Зная температуру кипящей воды, можно по специальным таблицам найти парциальное давление пара, а поскольку оно равно внешнему давлению, то, следовательно, равно и атмосферному. Этот метод измерения атмосферного давления применяется редко (в экспедициях, на речных или морских судах).
Поправки к измерениям. Если стеклянную трубку длиной 90 см, запаянную с одного конца, заполнить ртутью, затем прикрыть ее отверстие, опрокинуть и опустить не запаянным концом в чашку с ртутью, то после открытия отверстия из трубки выльется только часть ртути. Оставшийся столб ртути высотой Н будет определяться атмосферным давлением Ра, т.е. давление внутри трубки Р уравновешивает атмосферное давление Ра: Р = Ра или Нpg = Ра. Таким образом, измеряя Н при известных r и g, определяем атмосферное давление в данной точке. Так как g зависит от высоты и широты места (но постоянна для каждой фиксированной точки), а r –– плотность ртути –– от температуры, то очевидно, что в отсчеты Н необходимо вводить поправки на температуру, высоту и широту, а также инструментальную поправку. Таким образом, если барометр находится в одной точке (станция), то к его показаниям вводятся три поправки: на приведение показаний барометра к 0оС — температурная поправка; инструментальная поправка; поправка для приведения показаний барометра к нормальному ускорению силы тяжести (g = 980,665 см/с2) (на высоту и широту). Поправки объединяют в одну постоянную поправку. Если давление измеряется в различных точках, то необходимо вводить все поправки отдельно. Такая ситуация возникает при маршрутных измерениях или на движущихся судах [3].
-
Средства измерения атмосферного давления
В метеорологии атмосферное давление измеряется с помощью ртутных, деформационных и других барометров. Различают три типа ртутных барометров: чашечные, сифонно-чашечные и сифонные. На автоматических станциях применяют компенсационные барометры, в которых изменение атмосферного давления уравновешивается весом груза, перемещаемого по плечу рычага. Разрабатываются частотные барометры, в которых атмосферное давление определяют по собственной частоте колебаний резонатора. Эти барометры позволяют обеспечить наряду с высокой точностью измерений еще и экологическую чистоту, и безопасность измерения давления.
Барометры ртутные. Барометр чашечный станционный с компенсированной шкалой (СР-А, СР-Б). Барометрическая трубка этого барометра — калиброванная стеклянная, запаянная с верхнего конца, с внутренним диаметром 7,2 мм и длиной 800 мм — укреплена нижним открытым концом в крышке пластмассовой или чугунной чашки при помощи шайбы с винтовой нарезкой в соответствии с рисунком 1.1. Чашка барометра состоит из трех свинчивающихся частей. Средняя часть имеет диафрагму с отверстиями, которая служит для гашения колебаний ртути, что исключает попадание воздуха в барометрическую трубку. Трубка и чашка заполняются очищенной ртутью. Воздух из трубки до заполнения ее ртутью откачивается не менее чем до 10 - 5 гПа. С атмосферным воздухом барометр сообщается через отверстие в крышке чашки, закрывающееся винтом. Высота ртутного столба в стеклянной трубке измеряется по шкале, нанесенной в верхней части металлической защитной оправы (нуль шкалы совпадает с уровнем ртути в чашке). Сквозная прорезь позволяет видеть мениск ртутного столба в стеклянной трубке. В прорези при помощи кремальеры движется кольцо с укрепленным на нем нониусом [2].
Десять делений нониуса равны 19 делениям шкалы барометра. Благодаря этому можно производить отсчеты с точностью до десятых долей шкалы (номер деления нониуса, точно совпадающего с каким-либо делением шкалы, дает число десятых долей). Термометр, укрепленный еще в одной прорези защитной оправы, служит для определения температуры барометра (ртути и шкалы). В верхней части оправы имеется кольцо для подвешивания барометра.
Рисунок 1.1
1 –– стеклянная трубка; 2 –– дно чашки; 3 –– диафрагма чашки; 4 –– крышка чашки; 5 — винт; 6 — металлическая оправа; 7 –– ртутный термометр; 8 — крышка; 9 –– стеклянная трубка; 10 –– нониус, 11 — кремальера; 12 –– кольцо
Несмотря на то, что уровень ртути в чашке при изменении давления меняется, в этих барометрах отсчитывают только положение столбика ртути в стеклянной трубке, не фиксируя положение ртути в чашке. Это возможно, потому что в чашечном барометре шкала скомпенсирована на изменение ртути в чашке. Соотношение изменений уровней ртути в трубке и чашке при изменении атмосферного давления пропорционально соотношению площадей их поперечного сечения. Для барометров это соотношение равно 0,02. Это значит, что при изменении атмосферного давления на 1 мм рт. ст. изменится уровень ртути в чашке на 0,02 мм, длина столба ртути в барометре –– на 0,98 мм. У станционных барометров с миллиметровой шкалой длина одного деления равна 0,98 мм. Барометры выпускаются двух модификаций: СР-А с пределами измерений 810–1070 гПа и СР-Б с пределами измерений 680‑1070 гПа.
Рисунок 1.2 – Ртутный барометры:
а) барометр контрольный КР (вид и разрез): 1, 2 — стеклянные трубки;3 — баллон; 4 — стальной конус; 5 — чашка; 6 — мешок; 7 — колпачок; 8 — стакан; 9 –– винт; 10— пятка винта; 11 ––оправа; 12 —пластина нулевого индекса; 13 — винт; 14 –– термометр; 15 — муфта;16— нониус; 17 — микрометренное кольцо; 18 –– стопорный винт; 19–– подвес;
б) барометр инспекторский ИР: 1, 2 –– стеклянные трубки, 3 –– металлическая чашка; 4 –– лайковый мешок; 5 — пластмассовый стакан; 6 –– подъемный винт; 7, 9 –– металлическая оправа; 8 –– муфта; 10 ––термометр; 11 ––подвес; 12, 13—хомуты
Барометр сифонно-чашечный имеет сложное устройство как отображено на рисунке 1.2, а. Верхняя ее часть, составляющая 1/3 всей длины трубки, имеет диаметр 14 мм, а остальные 2/3 значительно тоньше. Тонкая часть трубки в месте сужения изогнута в сторону от верхней части и спаяна при помощи стеклянного баллона со второй (короткой) трубкой. Нижние концы трубок вмонтированы в металлический конус (наконечник), который вставляется в чашку и закрепляется в ней. Трубка 1 является длинным коленом, трубка 2 — коротким. Короткое колено в верхней части имеет цилиндрический прилив с отверстием; на нем укреплен ниппель, закрывающийся колпачком 7. Обе стеклянные трубки вставлены в металлическую оправу со шкалой 11, соединяющуюся с чашкой. В оправе имеются сквозные прорези, через которые видны столбики ртути в верхнем (длинном) и нижнем (коротком) коленах. На правом крае прорезей нанесена шкала: внизу (у нижней прорези) от 0 до 130 гПа, у верхней прорези –– от 850 до 1070 гПа. В нижней прорези устанавливается индекс 12, соединенный с кольцом, которое крепится к оправе винтом 13 так, чтобы нижний срез индекса установился точно против нулевого деления шкалы. Винт трогать нельзя, так как это может привести к смещению индекса и изменению инструментальной поправки барометра. Дном чашки служит мешок 6 из лайки, нижняя часть мешка с помощью винта 9, ввинчивающегося в дно защитного цилиндра, может перемещаться вверх и вниз, меняя уровень ртути в обоих коленах. В средней части оправы барометра установлен термометр 14. На оправе у верхней прорези имеется подвижная муфта 15 с прорезью, у правого края которой укреплен нониус 16 с 20 делениями (с его помощью отсчет по шкале барометра может производиться с точностью до 0,05 гПа). Муфта состоит из нескольких подвижных частей. Верхняя часть ее может быть закреплена винтом 18 на любом участке верхней прорези (для грубой установки среза нониуса у мениска ртути). Нижняя часть может перемещаться относительно верхней части муфты при помощи микрометренного кольца 17, что позволяет точно установить срез кольца на вершину мениска ртути. Барометр подвешивается подвес 19 [2].Барометр сифонно-чашечный инспекторский ртутный ввиду его прочности и постоянства инструментальной поправки широко используется в качестве инспекторского барометра, отображенного на рисунке 1.2, б. Состоит из стального резервуара-чашки 3, которая имеет диафрагму эластичное дно (мешок из лайки) 4. В крышку чашки вставлены две стеклянные трубки 1 и 2: правая (барометрическая) 1 — длинная (около 86 см) с запаянным верхним концом, левая 2 — короткая. На верхнем конце укреплен металлический кран, который открывается при наблюдениях для сообщения с воздухом. На пробке крана имеются риски. Если риска пробки совпадает с буквой О, то кран открыт; если риска совпадает с буквой З, то кран закрыт — барометр не сообщается с окружающим воздухом. На чашку навинчивается цилиндр, через дно которого в резьбовом отверстии проходит винт со свободно вращающимся диском. Вращением винта поднимают или опускают дно мешка, тем самым меняя уровни ртути в обеих трубках барометра.
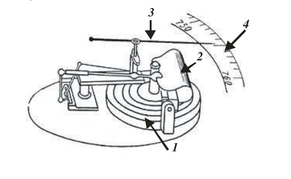
Рисунок 1.3 – Схема барометра-анероида:
1 –– металлическая коробка; 2 –– полосовая пружина; 3 –– стрелка;4 –– шкала
Стеклянные трубки заключены в металлическую оправу. Оправа состоит из металлических трубок 7 и 9, которые закреплены в чашке соединены между собой неподвижными хомутами 12, 13 и головкой подвесом 11. В оправе трубки 2 установлен термометр 10. На оправе трубки 1 нанесена миллибаров шкала от 0 до 1070 мб с перерывом от 130 до 545 мб, а также установлена подвижная муфта 8. Муфта имеет нониус и микрометренное кольцо для точной наводки на верхний мениск ртути и снятия отсчета. Хомут 13 установлен так, что его нижний срез совпадает с нулевым делением шкалы и является нулевым индексом барометра; хомут 12 устанавливается на любое верхнее деление нижней части шкалы и может служить нулем барометра при измерении давления менее 570 мб. Пределы измерения барометра—от 570 до 1070 мб. Шкала нониуса имеет 20 делений и обеспечивает возможность отсчета с точностью 0,05 мб. Нуль шкалы нониуса совпадает с его нижним визиром. Погрешность измерения 0,3 мб. [3].Барометры деформационные. Самым распространенным первичным преобразователем являются барокоробки (вакуумированные мембранные коробки), которые преобразуют изменение давления линейное перемещение или усилие. Барокоробка представляет собой две круглые мембраны (диаметром несколько десятков миллиметров), сваренные по окружности. В качестве преобразователя давления в линейные перемещения коробка действует следующим образом. Атмосферное давление, сжимающее коробки, уравновешивается силой упругости мембран (или дополнительной пружины). Если давление изменяется, мембраны и пружина деформируются, и равновесие вновь восстанавливается. Мерой измерения давления служит величина перемещения жестких центров мембран относительно друг друга. На метеорологических станциях для измерения давления анероиды не используются, их применяют, например, в экспедициях, метеорологических постах. Принцип действия барометра-анероида основан на деформации металлических анероидных коробок (внутри которых воздух разряжен) под действием давления изображено на рисунке 1.3. Линейные изменения толщины коробок преобразуются передаточным рычажным механизмом в угловые перемещения стрелки барометра-анероида относительно шкалы. Шкала градуирована в паскалях. Цена одного деления –– 100 Па или 1 гПа. Для измерения температуры прибора в прорези шкалы прикреплен дугообразный ртутный термометр (цена деления шкалы 1оС) [3].
Рабочее положение барометра-анероида — горизонтальное. Футляр, в котором находится анероид, предохраняет его от резких колебаний температуры и открывается только на время измерений. В показания анероида вводят три поправки: шкаловую, температурную и добавочную, которые указываются в поверочном свидетельстве к каждому прибору. Шкаловая поправка учитывает инструментальную неточность работы самого прибора, поэтому на различных участках шкалы она может быть разной. В поверочном свидетельстве шкаловые поправки приводятся через каждые 1000 Па. Для промежуточных показаний поправку определяют путем интерполяции двух соседних поправок. Температурная поправка учитывает влияние температуры. При одинаковом давлении, но разной температуре прибора показания анероида могут быть разными, так как по мере изменения температуры упругость анероидных коробок не остается постоянной. Чтобы исключить влияние температуры, показания анероида приводятся к 0оС. Для этой цели дается температурный коэффициент k на 1оС. Для получения температурной поправки его нужно умножить на температуру прибора: t = kt. Добавочная поправка, учитывающая остаточную деформацию (гистерезис) коробок, меняется во времени. Барометр‑анероид поверятся не реже одного раза в 6 месяцев. Правила измерения и вычисления давления по барометру‑анероиду: открыть футляр, отсчитать показания термометра при анероиде с точностью до 0,1оС; слегка постучать по стеклу анероида для преодоления трения в передаточном рычажном механизме; отсчитать положение стрелки относительно шкалы с точностью до 0,1 деления (10 Па); найти по поверочному свидетельству шкаловую, температурную и добавочные поправки с соответствующим знаком + или –; поправки суммировать алгебраически, ввести в результат отсчета и записать исправленные показания в Па и гПа.















