Пояснительная записка (1218930), страница 2
Текст из файла (страница 2)
В настоящее время, в качестве привода РПН применяются исключительно асинхронные двигатели с короткозамкнутым ротором общепромышленного назначения. Их широкое применение в первую очередь обуславливается простотой в обслуживании, эксплуатации, простотой конструкции, низкой стоимостью и высокой надежностью. Что касается недостатков, то такие электрические двигатели обладают большим пусковым током, чувствительны к изменениям параметров в сети и нуждаются в плавном регулировании скорости.
Целью выпускной квалификационной работы является разработка автоматического электропривода системы регулирования напряжения под нагрузкой силового трансформатора тяговой подстанции ст. Бира.
-
АНАЛИЗ СУЩЕСТВУЮЩЕЙ СИСТЕМЫ РПН С РУЧНЫМ УПРАВЛЕНИЕМ
-
Общие сведения о силовых трансформаторах
Силовые трансформаторы являются основным электрическим оборудованием электроэнергетических систем, обеспечивающим передачу и распределение электроэнергии на переменном трехфазном токе от электрических подстанций к потребителям [2]. С помощью трансформаторов напряжение повышается от генераторного до значений, необходимых для электропередач системы (35 – 750 кВ), а также многократное ступенчатое понижение напряжения до значений, применяемых непосредственно в приемниках электроэнергии (0,22…0,66 кВ).
На повысительных и понизительных подстанциях применяют трехфазные или группы однофазных трансформаторов с двумя или тремя раздельными обмотками. В зависимости от числа обмоток трансформаторы разделяются на двухобмоточные и трехобмоточные.
Наиболее распространенным методом регулирования напряжения, является ступенчатое изменение коэффициента трансформации путем переключения ответвления обмоток трансформатора. Для промышленных электроустановок это единственное средство регулирования режима.
В настоящее время большинство силовых трансформаторов выполняются с регулированием напряжения, которое может осуществляться без возбуждения, т. е. при отключенном трансформаторе, либо под нагрузкой (без перерыва электроснабжения потребителя).
-
Регулирование напряжения под нагрузкой (РПН) в силовом трансформаторе
Только возможность изменения напряжения без перерыва питания потребителя может быть достаточно оперативным, в частности обеспечить регулирование в энергосистемах и наиболее универсальное регулирование в промышленных электроустановках. Поэтому потребность в устройствах регулирования под нагрузкой (УРПН) возникла практически сразу же, после появления промышленных силовых трансформаторов [3].
Устройство для переключения под нагрузкой обязательно содержит две токоведущие цепи, причем ни при каких условиях они не должны быть одновременно разомкнуты, напротив, обязательно существуют такое промежуточное положение, называемое положение мост, в котором обе эти цепи оказываются замкнутыми одновременно, и два соседних ответвления регулировочной обмотки соединены между собой.
Во избежание короткого замыкания между указанными ответвлениями, в одну из цепей УРПН или в обе его цепи должен быть включен токоограничивающий элемент, т. е. либо реактор, либо резистор. Величина сопротивления токоограничивающего элемента выбирается таким образом, чтобы циркуляционный ток, в контуре, образованном участком обмотки между ответвлениями (коммутируемой степенью) и цепями избирателя и контактора, был одного порядка с током нагрузки (обычно от 50 до 100% номинального тока).
Ответвления регулировочной обмотки коммутируются избирателем, который имеет, как минимум две контактные системы. Чаще всего они переключаются в обесточенном состоянии, такой избиратель представляет собой, по существу, два устройства ПБВ.
В этом случае УРПН имеет еще одну часть – контактор, он также имеет две контактные системы, предназначенные для предварительного обесточивания цепей контактов избирателя прежде их перехода на новое ответвление регулировочной обмотки и для их включения в цепь тока после такого перехода.
Выпускаются также УРПН, не имеющие отдельного контактора, в них избиратель коммутируется под нагрузкой, в этом случае он именуется избирателем под нагрузкой.
-
Схемы регулируемых трансформаторов
Устройства переключения ответвлений обмоток силовых трансформаторов предназначены для регулирования напряжения в данной точке электрической сети, в которой установлен трансформатор. Регулирование напряжения достигается путем изменения числа витков обмотки силового трансформатора и применяется в основном на стороне высшего напряжения трансформатора, а также в нейтральной точке [3].
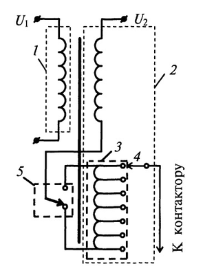
Регулятор под нагрузкой (РПН) изображена на рисунке 1. 1.
Рисунок 1.1 – Схема регулирования напряжения под нагрузкой (РПН)
– переключатели (избиратели);
– контакты контактора;
A, X, a, x – зажимы вывода обмоток.
Одна из наиболее распространенных схем трансформатора с РПН – это трансформатор со встроенным регулированием напряжения. Такой трансформатор имеет регулировочные ответвления, переключаемые под нагрузкой при помощи специальных аппаратов, совокупность которых по-другому именуется переключающим устройством. На выводах такого трансформатора непосредственно получается отрегулированное напряжение.
Схема трансформатора со встроенным регулятором напряжения под нагрузкой приведена на рисунке 1.2.
Часть обмотки трансформатора, снабженная регулировочными ответвлениями, выполняется в виде отдельной регулировочной обмотки. С помощью реверсора (предызбирателя) включается дополнительная ступень грубой регулировки, предусмотренная в основной обмотке; посредством реверсора регулировочная обмотка включается встречно к основной обмотке. В этом случае напряжение регулировочной обмотки равно половине напряжения на всем диапазоне регулирования. Это дает возможность при том же диапазоне регулирования снизить расход материалов на изготовление регулировочной обмотки ценой некоторого усложнения переключающих аппаратов.
Переключающие устройства чаще всего располагаются на стороне высшего напряжения. В трансформаторах аппараты РПН обычно включаются в нейтральную точку регулируемой обмотки, что позволяет выполнять их с минимальной изоляцией.
Рисунок 1.2 – Схема регулируемого трансформатора с реверсированием
1 – первичная обмотка; 2 – вторичная обмотка; 3 – регулировочная обмотка с ответвлениями; 4 – переключающее устройство; 5 – реверсор;
– напряжение первичной обмотки;
– напряжение вторичной обмотки.
-
Трансформатор типа ТДТНЖ – 40000/220 – 76У1
Трансформатор типа ТДТНЖ – 40000/220 – 76У1 силовой трехфазный масляный предназначен для железных дорог, электрифицированных на переменном токе в наружных установках [4].
Структура условного обозначения ТДТНЖ – 40000/220 – 76У1:
– Т – трансформатор трехфазный;
– Д – принудительная циркуляция воздуха и естественная циркуляция масла;
– Т – трехобмоточный;
– Н – регулирование напряжения под нагрузкой на стороне ВН;
– Ж – для электрифицированных железных дорог;
– 40000 – номинальная мощность, кВА;
– 220 – класс напряжения обмотки ВН, кВ;
– 76 – год разработки;
– У1 – климатическое исполнение (У) и категория размещения (1) по ГОСТ 15150 – 69. Изделие предназначенные для эксплуатации на суше, реках, озерах, для макроклиматического района с умеренным климатом, для эксплуатации на открытом воздухе (воздействие совокупности климатических факторов, характерных для данного микроклиматического района). В таблице 1.1 указаны технические характеристики трансформатора.
Габаритные и присоединительные размеры приведены на рисунке 1.3 [5].
Рисунок 1.3 – Габаритные и присоединительные размеры трансформатора ТДТНЖ – 40000/220 – 76У1
Таблица 1.1 - Технические характеристики трансформатора ТДТНЖ – 40000/220 – 76У1
| Наименование параметров | Значение |
| Номинальная мощность обмоток трансформатора ВН, НН, СН, кВА | 40000 |
| Номинальная мощность обмоток трансформатора при отключенном дутье ВН, НН, СН, кВА | 20000 |
| Номинальное напряжение обмоток трансформатора, кВ ВН НН СН | 220000 27500 11000 |
| Номинальный ток обмоток трансформатора, А ВН НН СН | 100,5 485/840 1210/2100 |
| Частота, Гц | 50 |
| Число фаз | 3 |
| Вид переключения ответвлений | РПН |
-
Трансформатор напряжения ЗНОМ 35 – 65У1
Трансформатор напряжения ЗНОМ 35 – 65У1 – однофазный масляный, с естественным охлаждением, включаемый в сеть переменного тока частотой 50 Гц, предназначен для выработки сигнала измерительной информации для измерительных приборов, цепей автоматики, сигнализации и релейной защиты в линии электропередач электрифицированных участков железных дорог [6]. В таблице 1.2 приведены его основные технические характеристики.
Структура условного обозначения ЗНОМ 35 – 65У1:
– З – заземляемый;
– Н – трансформатор напряжения;
– О – однофазный;
– М – естественная циркуляция воздуха и масла;
– 35 – класс напряжения, кВ;
– 65 – год разработки;
– У1 –климатическое исполнение (У) и категория размещения (1) по ГОСТ 15150 – 69. Изделия, предназначенные для эксплуатации на суше, реках, озерах, для макроклиматического района с умеренным климатом, для эксплуатации на открытом воздухе (воздействие совокупности климатических факторов, характерных для данного микроклиматического района).
Таблица 1.2 – Технические характеристики ЗНОМ 35 – 65У1
| Номинальные напряжения обмоток, В | ||
| Обмотка ВН | Обмотка НН основная | Обмотка НН дополнительная |
| 27500 | 100 | 127 |
На рисунке 1.4 изображен трансформатор напряжения тяговой подстанции ст. Бира.
Рисунок 1.4 – Трансформатор напряжения ЗНОМ 35 – 65У1
-
Моторный привод МЗ – 4
Предназначение моторного привода – приводить в действие, соединенное с ним переключающее устройство (ПУ) и правильно осуществлять переключения во всем диапазоне регулирования. Движение от электродвигателя передается на несущий щит ПУ через быстроходный вал привода, вертикальны вал, коническую зубчатую передачу и горизонтальный вал. Валы соединены посредством малогабаритных карданных муфт. Относительно большие обороты промежуточных передаточных элементов обеспечивают им небольшие нагрузки и сводят к минимуму влияние зазоров [7].
Пуск электродвигателя осуществляется как непосредственно от командных кнопок привода, так и дистанционно. Электродвигатель защищен автоматическим выключателем, который имеет максимально токовую и термическую защиту.
Предусмотрено выключение питающего напряжения, если из-за неправильной последовательности фаз выходной вал повернется в неправильном направлении. Каждая прерванная из-за падения питания операция заканчивается автоматически после восстановления напряжения. Установка на определенной ступени регистрируется на хорошо видимом диске с цифрами в самом приводе. Моторный привод изображен на рисунке 1.5.
Технические данные моторного привода МЗ-4:














