диплом_пз (1211090), страница 2
Текст из файла (страница 2)
Осмотрщиками вагонов и дефектоскопистами за 2015- й год были выявлены следующие дефекты, которые сведём в таблицу 1.1.
Таблица 1.1 - Статистическая выборка неисправностей вагонов по ст. Тында
| Наименование | Количество | Возможность восстановления сваркой или наплавкой | Материал повреждённой детали |
| Износ втулки шпинтона | 5 | Да | Сталь 30, 35, 45 |
| Трещина кронштейна гасителя надрессорного бруса | 42 | Да | 09Г2, 09Г2Д, 09Г2С |
| Трещина кронштейна момента опоры ВБА | 5 | Да | Ст.3, 20л |
| Трещина пред.скобы муфты генератора | 2 | Да | Ст.3 |
| Излом буксовых пружин | 4 | Нет | 60С2 |
| Трещина продольного бруса рамы | 2 | Да | 09Г2, 09Г2Д, 09Г2С |
| Излом втулки шпинтона | 7 | Нет | Сталь 30, 35, 45 |
| Трещина буксовой пружины | 2 | Нет | 60С2 |
| Трещина коробки горизонтального скользуна | 2 | Да | Ст.3, 20л |
| Трещина косынки хребтовой балки | 7 | Да | 09Г2, 09Г2Д, 09Г2С |
| Трещина крепления тормозного подвагонного оборудования к кузову вагона | 1 | Да | Ст.3, 20л |
Окончание таблицы 1.1
| Наименование | Количество | Возможность восстановления сваркой или наплавкой | Материал повреждённой детали |
| Трещина кронштейна крепления генератора | 4 | Да | Ст.3, 20л |
| Трещина надрессорного бруса | 1 | Да | Ст.3, 25л |
| Трещина ограничителя автосцепки | 1 | Да | 20ФЛ, 20ГФЛ |
| Трещина поперечной балки тележки в сварном шве | 1 | Да | 09Г2, 09Г2Д, 09Г2С |
| Трещина пружины ЦЛП | 5 | Нет | 60С2 |
Как видно из таблицы, большая часть из выявленных дефектов может быть устранена сваркой или наплавкой. Фактически, масштабы применения сварки или наплавки в ремонте вагонов значительно шире. Детали вагонов выполнены, в основном, из проката углеродистого и низколегированного, не редки и литые элементы из сталей того же класса. Перечисленные в таблице 1.1 марки сталей относятся к группам хорошо либо удовлетворительно свариваемых. Помимо упомянутых неисправностей часто повреждаются и ремонтируются сваркой (наплавкой) детали автосцепного и сопряжённого с ним оборудования, обшивка кузовов (особенно на полувагонах). Несколько реже попадают в ремонт элементы каркаса кузовов, заменяются поражённые коррозией элементы котлов цистерн, тормозных резервуаров, трубопроводов, выполняют ремонт сваркой чугунные элементы тормозных цилиндров.
Это далеко не полный перечень сварочно-наплавочных работ, производимых при ремонте подвижного состава. Однако, можно сделать вывод о том, что большинство вагонных деталей при необходимости может быть восстановлено сваркой или наплавкой. Материалы конструкций вагонов
относятся к группам хорошо или удовлетворительно свариваемых. При ремонте сваркой может быть применена ручная дуговая сварка и электроды типов Э42А – Э50А по ГОСТ9467-75, а так же разнообразные наплавочные электроды.
1.3 Особенности микрометаллургических процессов при
электрической сварке и наплавке
При электрической сварке плавлением происходит комплекс микрометаллургических процессов, возникающих в зонах высоких температур, значительного накопления тепла в ограниченном объёме, резкого охлаждения расплавленного металла. Во время переноса присадочного металла в сварочную ванну он интенсивно взаимодействует с газовой атмосферой окружающей среды.
В результате после кристаллизации образуется металл, структура и свойства которого существенно отличаются как от электродного, так и от основного, причём эти отличия, как правило, в худшую сторону.
Для ограничения вредного влияния воздушной среды на жидкий переплавляемый металл используются различные способы защиты, в том числе флюсы и покрытия электродов. Разработке их составов следует уделять особое внимание, так как использование для этих целей многокомпонентных минеральных ассоциаций является важным не только с позиций повышения качества защиты жидкого металла сварочной ванны, но и возможности легирования его элементами, входящими в состав сырья. Например, при дуговых способах сварки и наплавки, (ручная покрытыми электродами, автоматическая под флюсом и ряда других защита осуществляется слоем жидкого шлака, образующегося при плавлении флюса или покрытия электрода.
Сварочная электрическая дуга является концентрированным источником тепла, создающим большой температурный градиент в зоне сварки.
Электродный металл, переходящий в сварочную ванну в виде капель, значительно перегрет сварочной дугой – его температура, по данным И.И.Фрумина, И.К.Походни, А.А.Ерохина составляет 2100 – 2500С, а сварочная ванна разогревается до 1950 – 2000С . При автоматической сварке под флюсом температура ванны достигает 1770 – 1800С, температура капель 2400 – 2500С . Размер капель, возникающих на торце электрода колеблется от тысячных долей миллиметра до 5 – 6мм. В результате такого перегрева металла его активность сильно повышается. При переносе с торца электрода в сварочную ванну капля покрыта слоем шлака, образовавшемся в результате плавления электродного покрытия, либо флюса. При этом происходит взаимодействие между металлом капли, жидким шлаком и газами, находящимися в дуговом промежутке. Результатом взаимодействия является изменение состава металла, который может окисляться и принимать элементы, содержащиеся в шлаке и газах.
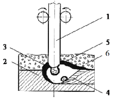
Рисунок 1.4 - Схема процесса сварки электродами с защитным покрытием:
1 – электродный стержень; 2 - покрытие; 3 – капли расплавленного металла электрода; 4 – ванна жидкого металла; 5 – затвердевший металл шва; 6 – жидкий шлак; 7 - затвердевший шлак; 8 – газовая защита.
Рисунок 1.5 - Схема процесса сварки под слоем флюса: 1 – электродная проволока; 2 – основной металл; 3 – капли расплавленного металла электрода; 4 – ванна жидкого металла; 5– жидкий шлак; 6 – флюс.
После отрыва от электрода, капля, покрытая жидким шлаком, попадает в сварочную ванну, где происходит её перемешивание с жидким шлаком и металлом сварочной ванны. Имея меньшую, чем у металла плотность, шлак всплывает на поверхность сварочной ванны, продолжая реагировать с жидким металлом. Шлак, находясь на поверхности расплавленного металла, выполняет несколько функций: защитную, препятствуя проникновению в жидкий металл газов из окружающей среды (кислород, азот, водород); металлургическую – раскисление, восстановление, легирование; технологическую – формирование сварочного шва.
При ручной сварке на ход металлургического процесса влияет не только состав, но и количество покрытия на электроде [22,23]. Покрытия электродов представляют собой смеси газо- и шлакообразующих компонентов, ограждающих расплавленный металл от взаимодействия с внешней средой и для необходимой металлургической обработки. Газо- и шлакообразующая система электродного покрытия состоит из соединений, которые не нейтральны по отношению к металлу и вступают с ним во взаимодействие. Это галоидные соединения, органические добавки, различные минералы, концентраты.
Для раскисления и легирования наплавленного металла в электродные покрытия вводятся ферросплавы (Fe-Si, Fe-Mn, Fe-Cr, Fe-Nb, Fe-B, Fe-W). Покрытия электродов специального назначения, а так же наплавочных электродов, часто содержат порошки чистых металлов и карбиды. Большое количество подобных материалов в покрытии ухудшает защиту расплавленного металла от внешней среды и ухудшает технологические свойства.
1.4 Классификация покрытых электродов
Несмотря на широкое применение различных механизированных методов сварки плавлением, наибольшее количество сварных конструкций изготовляются методом ручной дуговой сварки. Ручная дуговая сварка производится штучными электродами, конструктивно представляющими собой металлический стержень с нанесненным на него покрытием соответствующего состава. Один из концов стержня длинной ~30мм. освобожден от покрытия для его зажатия в электродержатель с обеспечение электрического контакта. Второй конец слегка очищается для обеспечения возможности зажигания дуги посредством контакта с изделием. Применение электродов должно обеспечивать следующие необходимые условия: легкое зажигание и устойчивое горение дуги, равномерное расплавление покрытия, равномерное покрытие шва шлаком: лёгкое удаление шлака после сварки, отсутствие непроваров, пор, трещин в металле шва.
Электроды классифицируются по следующим признакам:
- по материалу, из которого они изготовлены;
- по назначению для сварки определенных сталей;
- по толщине покрытия, нанесенного на стержень;
- по видам покрытия;
- характеру шлака, образующегося при расплавлении покрытия;
- по свойствам металла шва;
- по допустимым пространственным положениям сварки или наплавки
- по роду и полярности применяемого при сварке тока.
Стальные электроды изготовляют в соответствии с ГОСТ 9466-75,
ГОСТ 9467-75, ГОСТ 100051-75. В ГОСТ 9466-75 электроды подразделяются на группы в зависимости от свариваемых металлов:
У - углеродистых и низкоуглеродистых конструкционных сталей;
Л - легированных конструкционных сталей;
Г - легированных теплоустойчивых сталей;
В - высоколегированных сталей с особыми свойствами.
Общее назначение электродных покрытий – обеспечение стабильности горения сварочной дуги и получение металла шва с заранее заданными свойствами (прочность, пластичность, ударная вязскость, стойкость против коррозии, и др.). Стабильность горения сварочной дуги достигается снижением потенциала ионизации воздушного промежутка между электродом и свариваемой деталью.
Покрытия выполняют защитную функцию, шлаковая защита служит для защиты расплавленного металла шва от воздействия кислорода и азота воздуха путём образования шлаковых оболочек на поверхности капель электродного металла, переходящих через дуговой промежуток, и для образования шлакового покрова на поверхности расплавленного металла. Шлаковое покрытие уменьшает скорость охлаждения и затвердевания металла шва, способствуя выходу из него газовых и неметаллических включений.
Шлакообразующими компонентами являются; титановый концентрат, марганцевая руда, каолин, мрамор, мел, кварцевый песок, доломит, полевой шпат и др.
Легирование металла шва производится для придания специальных свойств наплавленному металлу. Наиболее часто применяются такие легирующие компоненты как хром, никель, молибден, вольфрам, марганец, титан и другие.
Легирование металла также производится специальной проволокой, содержащей нужные элементы. Чаще металл шва легируют введением легирующих компонентов в состав покрытия электрода. Легирующие компоненты - ферросплавы, иногда чистые металлы.
Для повышения производительности, т.е. для увеличения количества наплавляемого металла в единицу времени, в электродные покрытия иногда вводят железный порошок. Введённый в покрытие железный порошок улучшает технологические свойства электродов (облегчает повторное зажигание дуги, уменьшает скорость охлаждения наплавленного металла, что благоприятно сказывается при сварке в условиях низких температур).















