РАЗРАБОТКА ФЛЮСА ДЛЯ АВТОМАТИЧЕСКОЙ НАПЛАВКИ (1211024), страница 3
Текст из файла (страница 3)
Из отмеченного выше видно, что на данный момент в ремонтной практике при восстановлении деталей преобладает автоматический способ наплавки под слоем флюса.
Таким образом, для обеспечения потребности ремонтных предприятий железных дорог, необходимо создавать флюсы из местного минерального сырья, которые бы обеспечивали широкий спектр свойств наплавленного металла.
2. ПРОБЛЕМЫ ВОССТАНОВЛЕНИЯ ДЕТАЛЕЙ НАПЛАВКОЙ ПОД ФЛЮСОМ
2.1 Особенности автоматической сварки и наплавки под флюсом
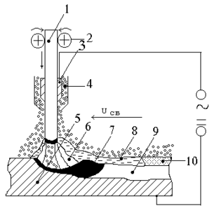
При автоматической сварке под слоем флюса (рис. 2.1) плавление присадочного металла происходит за счет тепла, выделяемого дуговым разрядом, возникающим между свариваемым изделием 5 и электродом 1.
Таблица 2.1-Флюсы и проволока для автоматической сварки
| Марка флюса | Назначение флюса | Рекомендуемые проволоки |
| АН-348А, АН-348В, АНЦ-1 | Сварка и наплавка изделий широкой номенклатуры из углеродистых и низколегированных сталей | Св-08; Св-08А; Св-08ГА; Св-10Г2 |
| АН-60 | Сварка и наплавка углеродистых | Св-08; Св-08ГА; Св-08ХМ; Св-10НМА |
| АН-22 | Сварка и наплавка низко- и | Св-08ГА; Св-08ХМ; Св-08ХМФ; Св-08ХГНМГА |
| АНК-30 | Сварка и наплавка углеродистых и низколегированных сталей, в т.ч. хладостойких мелкозернистых повышенной прочности | Св-08, Св-08ГА, |
2.2 Легирующие элементы в конструкционных сталях подвижного состава
В конструкциях подвижного состава основным материалом являются стали, изготовленные в виде отливок или проката различного профиля. В связи с тяжелыми условиями эксплуатации (большие динамические, знакопеременные и ударные нагрузки), применяемые стали должны обладать высокими физико-механическими свойствами, обладать ремонтопригодностью, иметь хорошую свариваемостью для получения качественных сварных соединений и восстанавливаемых поверхностей, и в то же время быть относительно дешевыми. Наиболее полно данным требованиям удовлетворяют конструкционные и низколегированные стали (табл. 1.1.), которые и преобладают в металлоемких деталях подвижного состава. Как видно из таблицы, основными легирующими элементами конструкционных сталей металлоемких узлов подвижного состава, являются кремний и марганец в пределах 0,05…0,5 и 0,25…1,8 мас.% соответственно. В небольших количествах присутствуют хром, никель, медь.
Так как большинство способов выплавки имеют окислительные процессы, то в конце плавки они всегда содержат киcлород и поэтому требуют обязательной завершающей операции раскисления. Наиболее часто в качестве раскислителей используют ферромарганец (FeMn ) и ферросилиций (FeSi).
Оставшиеся после раскисления кремний и марганец в сталях являются ye;yjq примесm., так как марганец, например, уменьшает в
Таблица 2.2-Стали, применяемые на подвижном составе
| Группа | Марки | Основные элементы, мас. % | ||||
| стали | стали | C | Mn | Si | Другие | |
Углеродистые | Ст2 – Ст5 Сталь15 –Сталь45 | 0,05…0,30 0,12…0,50 | 0,25…1,20 0,25…0,80 | 0,05…0,30 0,05…0,37 | Cr<0,25; S<0,04; P<0,04; | |
| Легированные | 09Г2, 09Г2С, 20ГЛ, 09Г2СД,10Г2Б, 10ХНД, 20ФЛ, 20Г1ФЛ, 30ГСЛ, 32Х06Л | 0,12…0,35 | 0,30…1,80 | 0,17…0,8 | Cr<0,3; Ni<0,3 Cu<0,3; S<0,04 P<0,04 | |
железе количество сульфидов (FeS + Mn = MnS + Fe) и, кроме того, растворяясь в феррите, увеличивает его прочность. Кремний, эффективно раскисляя сталь, полностью растворяясь в феррите, способствует упрочнению феррита.
В низколегированные стали марганец и кремний добавляются в несколько большем объеме (до 1,2…1,8 мас.%), где они играют роль не только раскислителей, но и легирующих компонентов. Растворяясь в феррите, последние уменьшают зерно, повышает склонность аустенита к переохлаждению, способствуют измельчению карбидной составляющей, увеличивает пластичность. Эти элементы довольно широко распространены, недефицитны, сравнительно недороги. При осуществлении сварочно-наплавочных работ кремний некоторой степени ухудшает свариваемость. Марганец на этот показатель большого воздействия не оказывает. Более того, марганец снижает критическую скорость закалки и значительно уменьшает возможность появления сварочных трещин.
Похожие свойства имеют низколегированные стали, содержащие вольфрам в пределах 0,5-1,5 мас. %. Следовательно представляется возможным формировать требуемые свойства покрытий при наплаве деталей подвижного состава за счет использования вольфрамсодержащих сварочно-наплавочных материалов, созданных на основе комплексного использования минерального сырья содержащего оксиды отмеченного легирующего элемента.
2.3 Проблемы легирования швов и покрытий при сварке и наплавке
2.3Легирование электродным и присадочным материалом
При восстановлении изношенных поверхностей особое внимание следует уделять тому, чтобы наплавленный металл (особенно работающий в тяжелых условиях эксплуатации) обладал высокими физико-механическими свойствами, которые достигаются введением в формируемые покрытия легирующих элементов.
На рис. 2.2 приведены основные способы легирования покрытий при автоматической наплавке под флюсом: первый – использование легирующего электродного (присадочного материала) и нелегирующего флюса; второй – применение нелегирующего электродного материала и легирующего флюса.
Экономически выгодные масштабы внедрения в ремонтное производство первого способа в первую очередь существенно ограничиваются сложностью
производства и высокой стоимостью легированной проволоки. Так, например, цена таких элементов (добавляемых в углеродистую сталь при ее легировании) как марганец, хром, титан, вольфрам, молибден превышает цену железа в 10, 20, 25, 90, 120, 170 раз соответственно.
Кроме того, легированная проволока существенно усложняет технологический процесс наплавки, сокращает сроки эксплуатации сварочного оборудования.
Также следует отметить, что легирующие элементы, поступающие в
сварочную ванну с проволокой и присадочным материалом, подвергаются большим потерям (окислению), вызывают в сварочном шве и в зоне термического влияния значительные внутренние напряжения, усложняют металлургические процессы. Все это не дает возможности точно подобрать необходимый присадочный материал (ввиду его ограниченной номенклатуры) для формирования в наплавленном металле свойств, равнозначных свойствам основного металла.
Отмеченное дает основание считать более целесообразным при восстановлении деталей использовать второй вариант, то есть формировать покрытия с необходимыми свойствами за счет использования легирующих флюсов. При этом в качестве электродного материала применять сравнительно дешевую низкоуглеродистую сварочную проволоку.
2.4 Исследование возможности легирования швов и покрытий с использованием флюсов на основе минеральных концентратов
Работы в области создания новых материалов и прогрессивных технологий, комплексного использования сырья (включая и воспроизводство ресурсов) в настоящее время актуальны и требуют повышенного внимания. Правительственной комиссией РФ по научно-технической политике в числе приоритетных направлений фундаментальных исследований в физикохимии неорганических материалов обозначены задачи новых металлических материалов с заданными свойствами.
Основу принципов комплексной переработки минерального сырья заложил академик А.Е. Ферсман [39] и впоследствии дополнил академик И.П. Бардин. Наиболее ощутимые результаты в этой области достигнуты в металлургической промышленности, особенно при получении цветных металлов и сплавов. В настоящее время многие цветные металлы вырабатываются при комплексной переработке рудного сырья при этом интенсивно совершенствуются существующие технологические процессы и разрабатываются новые, такие как плазменный, лазерные, электрошлаковый и др.
Значительные успехи достигнуты в области порошковой металлургии, сырьем для которой служат порошки на основе железа, порошкообразные отходы механических переделов, руды, концентраты, шлихи и т.д.
В ЦНИИчермет им. И.П. Бардина разработан метод получения чистого железного порошка из руд и концентратов путем восстановления их газами [94].
Имеются способы получения железо-титановых и железо-титано-алюминиевых легированных порошков [95], создаются основы технологий восстановления сложных концентратов с одновременным совмещением в одном материале различных компонентов.
Много прогрессивного достигнуто при переработке шлаков, как основных побочных продуктов при производстве металлов. Так, около половины шлаков от производства марганцевых сплавов используется на собственные нужды и при выплавке чугуна [87, 88].
Особое значение вопросы комплексной переработки минерального сырья имеют для дальневосточного региона, обладающего значительными запасами ценнейших металлургических руд, что во многом определяет направления научных исследований в научно-исследовательских и учебных организациях.
Единственным научным учреждением на Дальнем Востоке, коллектив которого целенаправленно занимается вопросами разработки принципов и методологии более прогрессивного направления – создания новых технологий получения материалов непосредственно из минерального сырья, без предварительного выделения отдельных компонентов, является Институт материаловедения ДВО РАН.
А.Д. Верхотуровым разработаны принципы выбора материалов из минерального сырья, а так же принципы создания материалов непосредственно из минерального сырья [99]. Одним из основных условий эффективного получения материалов из минерального сырья является использование концентрированных потоков энергии, обеспечивающих высокопроизводительный технологический процесс с максимально полным использованием сырья. Достаточно фундаментально проработаны вопросы методологии создания и технологии получения электродного материала для электроискрового легирования и электроэрозионной обработки с комплексным использованием минерального сырья. Значительные успехи достигнуты в исследовании физико-химических особенностей восстановления многокомпонентных оксидных систем и создании на этой основе порошковых композиционных материалов.
Изучению возможности комплексного использования минерального сырья для создания сварочно-наплавочных материалов, а на их основе формированию покрытий с повышенными физико-химическими свойствами при электрической сварке, внимания уделяется недостаточно. Работы в этом направлении пока что носят единичный, характер. Следовательно, разработка новых видов флюсов на базе комплексного использования многокомпонентного минерального сырья, выполняющего одновременно функции защиты, металлургической обработки и легирования переплавляемого металла является актуальной проблемой.
Таким образом, перспективным подходом, в наибольшей степени сочетающим решение задачи повышения работоспособности деталей подвижного состава с применением электротермических технологий, является непосредственное использование многокомпонентного минерального сырья (без существенного изменения его состава) для получения материалов различного назначения, в том числе сварочных флюсов.
ВЫВОДЫ
1. Анализ нормативной документации по ремонту подвижного состава показал, что при автоматической наплавке деталей используются, как правило, кислые флюсы ограниченной номенклатуры, не позволяющие формировать покрытия с необходимым уровнем эксплуатационных свойств.
2. При создании новых флюсов необходимы исследования системы «технология – сырье – материал – свойства».











