диплом записать на диск (1210761), страница 7
Текст из файла (страница 7)
Количество вспомогательных, инженерно-технических работников (ИТР), счетно-конторского персонала (СКП), младшего обслуживающего персонала (МОП) определяют в процентах от принятого числа производственных рабочих. Расчет сведен в таблицу
Таблица 1.10 – Штат работников тележечного участка
| Принятое количество основных рабочих | Количество вспомогательных рабочих, чел. (15%) | Количество ИТР, чел. (8%) | Количество МОП, чел. (2%) | Количество СКП, чел. (3%) | Списочное количество рабочих |
| 28 | 4 | 2 | 1 | 1 | 36 |
2 АНАЛИЗ РАБОТОСПОСОБНОСТИ, ТЕХНИЧЕСКИЕ УСЛОВИЯ И ТЕХНОЛОГИЯ РЕМОНТА ФРИКЦИОННОГО КЛИНА ТЕЛЕЖКИ ГРУЗОВОГО ВАГОНА
2.1 Конструкция тележки грузового вагона. Описания, назначения и конструктивные особенности фрикционного клина тележки
2.1.1 Тележка грузового вагона
Тележка относится к ходовым частям вагона. Она должна обеспечивать безопасное движения вагона по рельсовому пути с необходимой плавностью хода и наименьшим сопротивлением движению.
Тележка модели 18-100 (рисунок 2.1.1) состоит из следующих элементов:
- рама тележки, состоящая из двух боковых рам и надрессорной балки со скользунами;
- колесные пары с буксами;
- рессорное подвешивание, состоящее из наружных и внутренних пружин, фрикционных клиньев и фрикционных планок;
- тормозная рычажная передача, состоящая из рычагов, триангелей с тормозными башмаками и их подвесками;
- валики, шайбы, шплинты, соединяющие детали тормозной рычажной передачи тележки с боковыми рамами и надрессорной балкой;
Боковая рама тележки изготовлена из низколегированной стали 20ФЛ или 20ГЛФ. Рама имеет пояса и колонки, которые в середине образуют проем для центрального рессорного подвешивания, а по концам - буксовые проемы. Сечения наклонных поясов и вертикальных колонок корытообразной формы. Горизонтальный участок нижнего пояса имеет замкнутое коробчатое сечение.
По концам среднего проема расположены направляющие, ограничивающие поперечные перемещения фрикционных клиньев, а внизу сделана опорная поверхность для установки рессорного комплекта. С внутренней стороны к этой поверхности примыкают полки, являющиеся опорами для наконечников триангелей в случае обрыва подвесок, которыми триангели подведены к кронштейнам боковой рамы.
Рисунок 2.1.1 ‒ Тележка модели 18 ‒ 100 (типа ЦНИИ-ХЗ): 1 ‒ колесная пара с буксами на роликовых подшипниках; 2 ‒ боковая рама; 3 ‒ надрессорная балка; 4 ‒ скользун; 5 ‒ фрикционный клин; 6 ‒ фрикционная планка; 7 ‒ подпятник
В местах расположения фрикционных клиньев в каждой колонке рамы при
клепано по одной планке. На верхнем поясе боковой рамы расположены кронштейны для крепления подвесок тормозных башмаков. Буксовые проемы имеют в верхней части кольцевые приливы, которыми рама опирается на буксы, а по бокам - челюсти.
Надрессорная балка отлита из стали 20ФЛ или 20ГФЛ. Она имеет замкнутое коробчатое сечение и изготовляется вместе с подпятником, опорами для размещения скользунов и гнездами для фрикционных клиньев.
Рессорное подвешивание тележки 18-100 имеет два комплекта, размещенные в рессорных проемах левой и правой боковых рам. В каждый комплект входит пять, шесть или семь двухрядных цилиндрических пружин и два фрикционных гасителя колебаний.
2.1.2 Фрикционный узел гашения колебаний
Узел гасителя колебаний тележки воспринимает ударные, динамические статические и другие виды нагрузок. Работа его заключается в гашения колебаний. Узел состоит из составной фрикционной планки, фрикционного клина и наклонной поверхности надрессорной балки.
Рисунок 2.1.2 ‒ Фрикционный клиновой гаситель колебаний тележки модели 18-100: 1 –фрикционный клин; 2 – фрикционная планка; 3 – пружины рессорного комплекта; 4 – боковая рама тележки; 5 – надрессорная балка тележки
Фрикционная планка
Фрикционная планка (рисунок 2.1.3) применяется для снижения износа несущих нагрузку частей тележки грузового вагона. Планка фрикционная прикрепляется на боковую часть рессорного устройства и защищает ее от износа. Ее устанавливают только на составные. Также выход заклепок наружу не допускается. Для повышение межремонтных пробегов тележки были приняты определенные меры. Суть изменения заключается в защите основных пар трения тележки от износов во время эксплуатации.
Рисунок 2.1.3 ‒ Фрикционная планка: а ‒ подвижная; б ‒ неподвижная
В первую очередь планка фрикционная была заменена на составную, ее устанавливают в фрикционный узел гашения колебаний. Такая деталь состоит из двух составляющих: неподвижной планки, толщина которой 10 мм, она прикрепляется к боковой раме при помощи клепок и подвижной планки, толщина ее равна 6 мм, она свободно размещена между фрикционным клином (его вертикальной поверхностью) и неподвижной фрикционной планкой.
Фрикционный клин
Фрикционный клин узла гашения колебаний тележки грузового вагона явля-
ется важнейшим элементом конструкции, от работоспособности которого зависит длительность эксплуатации подвижного состава. В данное время изготавливаются стальные фрикционные клинья, устанавливаемые на грузовых тележках новых вагонов, и фрикционные клинья из серого чугуна которые используются при установке в плановых работах (рисунок 2.1.4). Допускается применение чугунных клиньев со съёмными полиуретановыми накладками марки АПИ-1 (рисунок 2.1.5).
Рисунок 2.1.4 ‒ Фрикционный клин: а ‒ чугунный; б ‒ стальной
Рисунок 2.1.5 ‒ Фрикционный чугунный клин со съёмной полиуретановой накладкой. 1 ‒ чугунный клин марки СЧ-35; 2 ‒ съёмная полиуретановая накладка
Измерение стального и чугунного фрикционного клина производится шаблонами Т.914.09.000 и Т.914.20.000 (рисунок 2.1.6 и 2.1.7).
Ремонт стальных клиньев осуществляется наплавкой и механической обработкой один раз. При повторном деповском ремонте вагона производится замена стальных клиньев на новые или чугунные с удлиненной вертикальной плоскостью.
Рисунок 2.1.6 ‒ Шаблон Т.914.09.000 для измерения стального клина
Рисунок 2.1.7 ‒ Шаблон для измерения чугунного клина Т.914.20.000
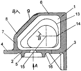
2.1.3 Конструкция фрикционного клина тележки
Фрикционный клин содержит полый клиновой формы корпус 1 (Рисунок 2.1.8) с опорной площадкой 2, передним горизонтальным и внутренним ребрами 3 и 4, кольцевым буртиком 5 под пружины тележки, горизонтальную и переднюю вертикальную стенки 6 и 7, соответственно, сопряженные с наклонной стенкой 8, имеющей рабочую часть.
Рабочая часть представляет собой рабочую одну или рабочие две поверхности 9, как это показано на рисунке 2.1.8 (в) в данном примере исполнения клина. В этом исполнении рабочие поверхности 9 разделены углублением 10, расположенным между рабочими поверхностями 9.
Углубление выполнено симметрично относительно оси клина, разделяет рабочую поверхность на, по меньшей мере, две идентичные части, каждая из которых выполнена выпуклой в наружную сторону клина (рисунок 2.1.8 е).
В другом исполнении клина он имеет одну сплошную рабочую поверхность. В любом из исполнений рабочая часть клина, на которой имеются рабочие поверхности 9 клина, выполнена заодно с корпусом 1 клина и представляет собой одну цельную деталь в виде цельной отливки из металлического сплава.
Рисунок 2.1.8 ‒ Фрикционный клин в разрезе: а ‒ вид клина сбоку; б ‒ вид клина сверху; в ‒ вид А; д ‒ разрез В-В; е ‒ схема, поясняющая зависимость длины части рабочей поверхности к ее радиусу
2.1.4 Работа фрикционного клина тележки
В рабочем положении клин (рисунок 2.1.9) размещают во фрикционном гасителе колебаний, устанавливая его корпус 1 между наклонной поверхностью надрессорной балки тележки вагона с одной стороны и фрикционной планкой боковой рамы тележки вагона, с другой стороны.
В процессе движения вагона клин перемещается под действием пружин, взаимодействуя своей рабочей поверхностью 9 и вертикальной стенкой 3 с соответствующими указанными элементами тележки вагона.
При этом возникает трение между поверхностью 9 клина и поверхностями тележки вагона. Благодаря выполнению рабочей поверхности 9 наклонной стенки 8 параболической и выполнению клина из чугуна марки СЧ35М, повышена стойкость к износу трущихся поверхностей клина.
Поскольку в боковых стенках и внутреннем ребре клина выполнены отверстия, на опорной площадке выполнены углубления и при этом уменьшены толщины стенок, то совокупность этих признаков с другими указанными признаками технического решения позволила существенно снизить металлоемкость клина.
Рисунок 2.1.9 ‒ Фрикционный чугунный клин
2.1.5 Характеристика материала фрикционного клина тележки
Клин тележки серийного производства изготавливается из металла марки 20ГЛ и чугуна марки Сч25. Более 90% вагонного парка после деповского ремонта используют чугунные клинья марки Сч25.
Из-за того, что срок службы первой модификации чугунных клиньев очень низкий их заменяют на клинья Сч35. После пробега около 95 тыс. км клин Сч35 может обеспечить пробег 210 тыс. км.
б)
















