диплом записать на диск (1210761), страница 10
Текст из файла (страница 10)
гурации (рисунок 2.2.8, 2.2.9).
Источники питания должны обеспечивать устойчивость процесса и теплосодержание шлаковой ванны, достаточное для оплавления кромок и присадочного металла. Для электрошлаковой сварки применяют источники питания переменного или постоянного тока, с жесткими или пологопадающими внешними характеристиками. Формирующее устройство предназначено для удержания жидкого металла и шлака в зазоре между кромками. Механизмы подачи проволоки и вертикального перемещения обеспечивают наведение шлаковой ванны, равномерного ее прогрева и получения равномерного провара кромок.
Сварочные материалы. Сварочные флюсы. К флюсам для электрошлаковой сварки предъявляются следующие требования:
– обеспечивать быстрое и легкое установление электрошлакового процесса и его устойчивость при значительных колебаниях глубины и ширины шлаковой ванны и в широком диапазоне напряжений и сварочных токов;
– обеспечивать достаточное проплавление кромок основного металла и удовлетворительное формирование поверхности шва без образования подрезов и наплывов;
– флюс не должен вытекать в зазоры между кромками и формирующими шов устройствами при обычной для производственных условий точности сборки, а также не должен отжимать ползуны от свариваемых кромок;
– образовывать шлак, легко удаляющийся с поверхности шва;
– способствовать предотвращению пор и горячих трещин и предупреждать образование неметаллических включений в металле шва;
– обеспечивать требуемые санитарно-гигиенические условия труда при его изготовлении и применени
– быть технологичным при изготовлении в обычном флюсовом производстве и не содержать остродефицитных и дорогостоящих материалов.
Рисунок 2.2.8 – Схема аппарата для ЭШС прямолинейных стыков: 1 – пульт управления; 2 – ходовая тележка; 3 – колонна с рейкой; 4 – бункер для флюса; 5 – механизм поперечных колебаний мундштуков; 6 – механизм подачи электродных проволок; 7 – мундштук; 8 – подвеска обратного ползуна; 9 – формирующее устройство обратной стороны шва (обратный ползун); 10 – формирующее устройство передней стороны шва (передний ползун); 11 – подвеска переднего ползуна; 12 – катушка с электродной проволокой
Достоинства:
– высокое качество металла шва, так как шлаковая ванна способствует очищению металла от посторонних включений с удалением из него газов. Это происходит благодаря значительным температурам верхнего слоя металлической ванны, расположению ее по вертикали и продолжительному времени пребывания металлов в расплавленном виде;
– возможность сварки толстостенных деталей (толщина свариваемого металла составляет 50 – 2000 мм) за один проход. При этом сварку выполняют без
снятия фасок на кромках;
– возможность сварки цветных металлов и легированных сталей;
– для сварки можно использовать один или несколько проволочных электродов, ленту, пруток и т.д.;
– высокая производительность и экономичность процесса;
– при электрошлаковой сварке возможно дополнительное легирование в целях повышения свойств металла шва.
Рисунок 2.2.9 Фотография установки для электрошлаковой сварки
Недостатки:
– образование крупного зерна в шве и околошовной зоне вследствие замедленного нагрева и охлаждения. После сварки необходима термическая обработка (отжиг или нормализация) для измельчения зерна в металле сварного соединения; – электрошлаковая сварка технически возможна при толщине металла более 16 мм;
– электрошлаковая сварка технически возможна при толщине металла более 16 мм;
– способ позволяет сваривать только вертикальные швы.
Область применения. Электрошлаковую сварку широко применяют в тяжелом машиностроении для изготовления ковано – сварных и лито – сварных конструкций, таких, как станины и детали мощных прессов и станков, коленчатых валов судовых дизелей, роторов и валов гидротурбин, котлов высокого давления и т.д.
2.3 Индукционно-металлургический способ восстановления и упрочения поверхностей клина тележки
2.3.1 Технология восстановления клина тележки индукционно-металлургическим способом
Настоящая Инструкция написана для ремонтных предприятий, внедряющих индукционно-металлургический способ (ИМС) упрочнения и восстановления рабочих поверхностей деталей узлов трения вагонов, локомотивов, электропоездов.
Настоящей Инструкцией предусмотрено упрочнение деталей как при новом изготовлении, так и после восстановления изношенных поверхностей деталей.
Настоящая Инструкция написана в соответствии с ГОСТом 2.602-68, с учетом правил деповского и капитального ремонтов вагонов, локомотивов, электроподвижного состава.
Индукционно-металлургический способ упрочнения деталей подвижного состава позволяет увеличить сроки службы деталей в 5... 10 раз и относится к разряду ресурсосберегающих технологий.
На железных дорогах этот способ начал применяться с 1985 года и сейчас по нему работают 15 пассажирских и 5 локомотивных депо.
Упрочнение деталей повышает надежность и долговечность работы узлов трения, повышает безопасность работы вагонов и локомотивов и резко сокращает межремонтные работы по замене изношенных деталей, повышает культуру производства и улучшает экологическую обстановку.
2.3.2 Основные требования к производству наплавочных работ
- Все наплавочные работы должны выполняться по инструкции и на рабочих местах в соответствии с санитарными и противопожарными нормами, действующими на железнодорожном транспорте и Требованиями безопасно-сти при восстановлении и упрочнении деталей ИМС.
- Наплавлять разрешается детали, износы которых не выше максимальных, обусловленных правилами ремонта.
- Восстанавливаемые наплавкой детали должны доводиться до альбомных размеров.
- Ответственность за качество выполнения наплавочных работ в соответствии с требованиями настоящей Инструкции возлагается на конкретных лиц.
- Все наплавочные работы должны выполняться с применением специализированных, серийно выпускаемых промышленностью генераторов. Рекомендуется применять промышленные высокочастотные установки мощностью 60-160 кВт и частотой тока от 66 до 440 кГц: ВЧГ6 - 60/0.44; ВЧИ2 - 100/0.066; ВЧГ7 - 60/0.066; ВЧГ6 - 160/0.066; ВЧГ9 - 60/0.44 и другие. Все перечисленные марки генераторов могут иметь индекс "М".
- Состояние оборудования, оснастки, приспособлений, инструмента и других средств технологического оснащения наплавочного производства, а также соблюдение технологии наплавочных работ должны периодически, но не реже одного раз в год проверяться комиссией. Состав комиссии утверждает руководитель ремонтного предприятия.
- При наплавке должен быть обеспечен свободный доступ к месту производства работ.
- Запрещается допускать к выполнению наплавочных работ
лиц, не имеющих удостоверения наплавщика, а также не аттестованных.
- При ИМС наплавки подводимая к индуктору мощность от установки ТВЧ должна находиться в пределах 25-60 кВт.
- Монтаж и эксплуатация высокочастотной установки должны осуществляться в строгом соответствии с технической документацией на высокочастотный (далее - ВЧ) генератор (рисунок 2.3.1).
Рисунок 2.3.1 -Установка для индукционной наплавки
- Процесс наплавки деталей ИМС необходимо производить с помощью манипуляторов, специальных установок, технологических комплексов различных типов. На рисунке 2.3.2 представлен манипулятор с применением для деталей весом до 50 кг.
Рисунок 2.3.2 - Манипулятор модели 29 В
- Для наплавки крупногабаритных деталей можно использовать выносной контур индуктора, который крепится на поворотных технологических колоннах, порталах различных типов.
2.3.3 Подготовка деталей к наплавке
- Процесс подготовки деталей к наплавке состоит из ремонта, механической обработки нарезки канавок на наплавленные поверхности или армирования мест наплавки (при необходимости), отчистки и осмотра.
- Восстановительный ремонт изношенных деталей осуществляется в соответствии с технической документацией.
- Работы проводить по технологии, согласованной Комиссией Совета.
- При всех видах ремонта разрешается: наплавка изношенной поверхности вертикальной стенки клина, с твердостью наплавленного слоя 240 – 300 НВ, дефект 1, при условии, если оставшаяся толщина стенки, не менее 5 мм. Допускается износ вертикальных стенок устранять приваркой планок по технологии, согласованной Комиссией Совета (рисунок 2.3.3);
- Наплавка изношенной поверхности упорного ребра, дефект 3;
заварка трещины, дефект 2, длиной не более 30 мм;
- Наплавка изношенной наклонной поверхности стенки с твердостью наплавленного слоя 240-300 НВ, дефект 4, с последующей механической обработкой, при условии, если оставшаяся толщина стенки не менее 5 мм;
- Заварка литейных дефектов с середины нерабочего ребра клина: флокены площадью не больше 1 см2 и глубиной не больше 3 мм, недоливы.
- Механическая обработка мест под наплавку ИМС может осуществляться на токарном, фрезерном, строгальном, заточном и других станках.
- Детали до наплавки должны быть сухими, очищенными от ока-
лины, продуктов коррозии, краски, грязи, масла, шлака и тому по-
добное. Новые детали должны тщательно очищаться от пригарочных
пленок и формовочных смесей.
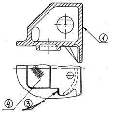
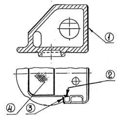
а) б)
Рисунок 2.3.3 - Фрикционный клин тележки: а - чугунный; б - стальной. (1,2,3,4 -дефекты)
- Очистка должна производиться механизированными спосо-
бами с применением специального инструмента армированных абра-
зивных кругов, стальных проволочных щеток, устройств ударного
типа и других инструментов.
- Допускается газопламенная очистка мест наплавки. Остатки
окислов и сгоревшей краски после газопламенной очистки должны
быть удалены.
2.3.4 Наплавочные материалы
- Для ИМС наплавки применяется наплавочная шихта, представляющая собой механическую смесь износостойких сплавов и соответствующих флюсов в определенных соотношениях по массе.
- Количество флюса в шихте определяется заданной толщиной наплавляемого металла, маркой флюса, грануляцией износостойкого сплава.
2.3.5 Индукторы, применяемые для наплавки
- Для нагрева деталей при наплавке необходимо применять индукторы, рассчитанные в соответствии с общей методикой, и оптимизированные в ходе экспериментальных наплавок.
- Тип индуктора следует выбирать в зависимости от конфигурации и размера наплавляемой поверхности детали рисунок (2.3.4).
Рисунок 2.3.4 - Индуктор для наплавки плоских поверхностей.
2.3.6 Наплавка деталей
- Шихта для наплавки детали подбирается в соответствии с пунктом 2.3.4 настоящей Инструкции.
- Индуктор для наплавки детали выбирается в соответствии с пунктом 2.3.5 настоящей Инструкций.
- Наплавляемая деталь должна иметь надежную изоляцию от земли (рабочие столы манипуляторов изолированы от земли диэлектрическими прокладками).
- Наплавляемая поверхность детали устанавливается в горизонтальной плоскости. Толщина наплавленного слоя составляет 1/3 от толщины насыпанного слоя шихты.
- Нанесение шихты на поверхность деталей производится при помощи насыпки по шаблонам или дозаторами (рисунок 2.3.5).
- Для деталей с плоской поверхностью или близкой к ней поверхность шихты может выравниваться рабочей частью индуктора.
- Режим наплавки выбрать в зависимости от толщины наплав-
ляемого слоя, применяемого индуктора, массы детали, типа контура
(стационарный или выносной), состава и грануляции шихты.
















