2016 - 24Б - Михайленко Юлия Сергеевна (1208663), страница 3
Текст из файла (страница 3)
Рисунок 1.2.1.2 – Пример построения перегородки со звукоизоляцией
Если нужно увеличить звукоизоляцию уже построенного помещения,
можно воспользоваться панелями звукоизоляции толщиной 70 мм, которые непосредственно монтируются на стены.
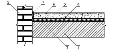
Для увеличения звукоизоляции пола используют конструкцию "плавающего пола", как показано на рисунке 1.2.1.3.
1 - Существующая плита перекрытия .
2 - Существующая стена.
3 - Плиты из стеклянного штапельного волокна (2 слоя по 20 мм).
4 - Полиэтиленовая пленка.
5 - Стяжка 80мм.
6 - Армирование сеткой.
7 - Прокладка по периметру помещения из стеклянно-штапельных плит (1 слой).
Рисунок 1.2.1.3 – Звукоизоляция пола
На плиту перекрытия укладываются два слоя звукоизолирующего материала, например, стеклянное штапельное волокно. При этом на все стены данного помещения заводится прокладка из одного слоя материала толщиной 20 мм и высотой чуть большей высоты устраиваемой стяжки. Поверх материала настилается разделяющий слой из полиэтиленовой пленки, по которому устраивается бетонная выравнивающая стяжка толщиной 80 мм, армированная металлической сеткой для придания ей повышенной механической прочности.
Для повышения звукоизоляции в помещениях могут устанавливаться акустические экраны на пути распространения звука в наиболее опасных с точки зрения утечки направлениях. Как правило, экраны применяются для защиты временных помещений.
Для ведения конфиденциальных разговоров разработаны также так называемые звукоизолирующие кабины, которые делятся на каркасные и бескаркасные. Первые имеют металлический каркас, на который крепятся звукопоглощающие панели. Кабины с двухслойными звукопоглощающими плитами обеспечивают ослабление звука от 35 до 40 дБ. Кабины бескаркасного типа более эффективны. Они собираются из готовых многослойных щитов, соединенных с помощью звукоизолирующих упругих прокладок. Эффективность таких кабин лежит в диапазоне от 50 до 55 дБ.
-
Активные методы
Активное воздействие на каналы утечки осуществляют путем реализации:
– пространственного зашумления, создаваемого генераторами электромагнитного шума;
– прицельных помех, генерируемых на рабочих частотах радиоканалов подслушивающих устройств специальными передатчиками;
– акустических и вибрационных помех, генерируемых приборами виброакустической защиты;
– подавления диктофонов устройствами направленного высокочастотного радиоизлучения;
– зашумления электросетей, посторонних проводников и соединительных линий ВТСС, имеющих выход за пределы контролируемой зоны;
– режимов теплового разрушения электронных устройств.
Зашумление.
Когда пассивные методы защиты не могут обеспечить необходимый уровень безопасности, применяют активные методы защиты, в частности, зашумление.
Для защиты помещений применяют генераторы шума и системы вибрационного зашумления, которые формируют шумовые, "речеподобные" и комбинированные помехи. Наиболее часто из шумовых используются следующие виды помех:
– "белый" шум – шум с постоянной спектральной плотностью в речевом диапазоне частот;
– "розовый" шум - шум с тенденцией спада спектральной плотности 3 дБ на октаву в сторону высоких частот;
– шум с тенденцией спада спектральной плотности 6 дБ на октаву в сторону высоких частот;
– шумовая "речеподобная" помеха - шум с огибающей амплитудного спектра, подобной речевому сигналу.
Наиболее эффективно информационный сигнал маскируют помехи, близкие к сигналу по спектральному составу.
Самые простые методы получения белого шума сводятся к использованию "шумящих" электронных элементов с усилением напряжения шума (различные диоды, транзисторы, лампы). Более совершенными являются цифровые генераторы шума, которые генерируют сложные колебания в виде временного случайного процесса, близкого по свойствам к процессу физических шумов. Цифровая последовательность двоичных символов в цифровых генераторах шума представляет собой последовательность прямоугольных импульсов с псевдослучайными интервалами между ними. Период повторения всей последовательности значительно превышает наибольший интервал между импульсами.
Средства создания акустических помех можно разделить на следующие виды:
– генераторы шума в акустическом диапазоне;
– устройства виброакустической защиты;
– технические средства ультразвуковой защиты помещений.
Генераторы шума получили достаточно широкое распространение ввиду своей простоты и относительной дешевизны. Принцип защиты – маскировка непосредственно полезного информативного сигнала, чаще всего белым шумом с корректированной спектральной характеристикой. Следует отметить, что работа генератора шума может вызвать дискомфорт у людей, работающих в защищаемом помещении.
Наиболее эффективным активным средством защиты являются устройства виброакустической защиты. Данные устройства позволяют защититься от прослушивания с помощью проводных микрофонов, электронных стетоскопов и т.п. Принцип защиты – внесение виброакустических шумовых колебаний в элементы конструкции здания.
Типовая система виброакустической защиты состоит из генератора шума и от 6 до 25 вибрационных излучателей. Дополнительно в состав системы могут включаться звуковые колонки (спикеры). Работает всё следующим образом. Генератор формирует шум в диапазоне звуковых частот. Передача колебаний шума на элементы конструкции производится с помощью пьезоэлектрических и электромагнитных вибраторов (излучателей) с элементами крепления. Так как уровень шума, создаваемого генератором, выше уровня речевого сигнала в твердых телах, но ниже уровня слышимости, этот тип зашумления целесообразно применять во всех случаях, когда существует возможность утечки с помощью структурного звука.
Рассмотрим систему акустических и вибрационных помех "Шорох-3" (рисунок 1.2.2.1). компании "Маском".
Основные технические характеристики данной системы:
– число октавных полос в каналах – 6;
– число независимых каналов – 2 (на каждый блок);
– максимальная выходная мощность одного канала – не менее 5 В;
– время непрерывной работы системы без ухудшения основных характеристик – 24 часа.
Помеховый сигнал представляет собою шум с распределением плотностей вероятности мгновенных значений, соответствующим нормальному закону, со спектром частот от 175 до 11500 Гц.
Рисунок 1.2.2.1 – Система "Шорох-3"
Основные преимущества Шорох-3:
– соответствие параметров шумового сигнала требованиям нормативно-методических документов;
– постоянный контроль состояния нагрузки и уровня помехового сигнала;
– дистанционное активация системы по проводному или радиоканалам связи и возможность голосового управления включением ("акустопуск");
– отсутствие каналов утечки информации за счёт акустоэлектрических преобразований в элементах системы;
– неограниченное расширение системы (увеличение модулей);
– применение широкого спектра вибровозбудителей и акустических излучателей;
– возможность оптимальной настройки системы с минимумом паразитных шумов в помещении.
Средство Шорох-3 имеет сертификат соответствия ФСТЭК России.
Рассмотрим также зарубежный виброакустический шумогенератор ANG-2000 (фирма REI, США). Внешний вид представлен на рисунке 1.2.2.2.
Рисунок 1.2.2.2 – Виброакустических шумогенератор ANG-2000
ANG - 2000 генерирует равномерный нефильтруемый шум в полосе звуковых сигналов, регулирует уровень шумовой помехи и управляет акустическими датчиками OMS - 2000 и вибрационными датчиками TRN - 2000. К одному ANG - 2000 может быть подключено от 1 до 18 датчиков TRN - 2000 и OMS - 2000.
Акустический датчик OMS - 2000 генерируют "белый" акустический шум и используются для зашумления части помещения, например стола ведения переговоров. При этом громкость шума регулируется на AMG-2000. Виброизлучатель TRN – 2000 генерирует сплошную шумовую нефильтруемую вибропомеху на ограждающие конструкции, тем самым обеспечивая противодействие таким видам подслушивающих устройств как проводные микрофоны, вмонтированные в ограждающие конструкции, контактные или прокалывающие микрофоны, радиопередатчики, установленные в электрические розетки, а также лазерные и микроволновые системы съема информации с окон строительных конструкций. Технические средства ультразвуковой защиты помещений появились сравнительно недавно. Их отличительная особенность – воздействие на микрофонное устройство и его усилитель ультразвуковым сигналом с мощностью, достаточной для блокирования усилителя или возникновения значительных нелинейных искажений. Преимуществом данных устройств является их работа в ультразвуковом диапазоне, практически незаметная для человека.
Во время работы генераторов шума и устройств виброакустической защиты возникают паразитные шумы, которые нарушают нормальные условия труда и вносят определенную долю дискомфорта в защищаемом помещении. При этом увеличение мощности помехи приводит к увеличению мощности паразитного акустического шума. Поэтому одной из основных задач производителей "зашумляющей" техники является обеспечение соответствия параметров шумового сигнала требованиям нормативно-методических документов.
Подавление диктофонов.
Диктофон является одним из наиболее популярных средств для съема информации. Это обусловлено простотой использования, малыми размерами и относительной дешевизной данных устройств. Поэтому в настоящее время вопрос подавления диктофонов часто выделяют в отдельную тему при рассмотрении способов защиты информации.
Для подавления диктофонов используют генераторы мощных шумовых сигналов дециметрового диапазона частот. Эти сигналы воздействуют на микрофонные цепи и усилительные устройства диктофонов и записываются на диктофон вместе с полезными сигналами. Зона, в которой устройство может подавлять диктофоны, зависит от мощности излучения, свойств антенны и типа зашумляющего сигнала. Средний радиус зоны подавления – 5 метров, ширина сектора – от 30 до 80 градусов.
Дальность подавления зависит от:
– материала корпуса диктофона (металл или пластик);
– тип микрофона (выносной или встроенный);
– размеры диктофона;
– ориентация диктофона в пространстве.
По типу применения подавители диктофонов подразделяются на портативные и стационарные. Первые, как правило, изготавливаются в виде кейса и имеют устройства дистанционного управления/контроля.
Стационарные выполняются в виде отдельных модулей: генератор, блок питания, антенна. Модульность позволяет оптимально разместить генератор на объекте защиты. На рисунке 1.2.2.3 представлен подавитель диктофонов "Шумотрон-3", который имеет модульную конструкцию. Вес данного устройства – 5 кг, зона подавления – шаровой сектор с углом не менее 60 градусов, дальность подавления – 2м.
Рисунок 1.2.2.3 – Подавитель диктофонов "Шумотрон-3"
В настоящее время появились устройства подавления диктофонов, представляющие собой генераторы ВЧ-сигналов со специальным видом модуляции. ВЧ-сигнал обрабатывается в диктофоне вместе с полезным и сильно его искажает. Одним из таких устройств является "Сапфир", представленный на рисунке 1.2.2.4.
Рисунок 1.2.2.4 – Подавитель диктофонов "Сапфир"
Главное отличие "Сапфира" заключается в том, что при соотношение сигнал/шум равном единице, разборчивость речи будет все равно плохая.
-
Разработка рекомендаций по созданию защищаемого помещения
-
Характеристика предприятия
КГБОУ ДПО «Институт повышения квалификации специалистов здравоохранения» подчиняется Министерству здравоохранения Хабаровского края. КГБОУ ДПО ИПКСЗ – это современное образовательное учреждение дополнительного профессионального образования, осуществляющее образовательные услуги на постдипломном уровне для специалистов с высшим и средним специальным медицинским и фармацевтическим образованием.
Основная цель ИПКСЗ – системное совершенствование всех направлений деятельности института и активное внедрение в образовательный процесс достижений современной науки и инновационных технологий, максимально ориентированное на эффективную реализацию образовательных программ дополнительного медицинского и фармацевтического образования.
Для обработки персональных данных субъектов в электронном виде в организации развёрнута информационная система персональных данных, классифицированная в соответствии нормативных документов по второму уровню защищённости. Для обеспечения безопасности персональных данных в ИСПДН развёрнута система защиты. Однако в ходе анализа работы организации выявлена необходимость обработки речевой информации, относящейся к категории конфиденциальной информации.
Для обеспечения защиты данной информации необходимо создать специально оборудованное помещение, которое в соответствии с требованиями документа СТР-К должно быть классифицировано как защищаемое.
2.2 Описание объекта информатизации
Защищаемое помещение расположено по адресу: город Хабаровск, улица Краснодарская, 9, аудитория 224 «Зал заседаний».














