Пояснительная записка (1207954), страница 4
Текст из файла (страница 4)
где P - бюджет мощности (максимальные оптические потери в ODN);
F - протяженность волокна в километрах;
C - затухание сигнала в оптических коннекторах;
Sl - затухание сигнала в соединениях волокна;
Sp - затухание сигнала в сплиттерах.
2 ПРОЕКТ ДОМОВОЙ СЕТИ
2.1 Общие сведения о проектируемой сети
В работе предложен проект прокладки и распределения телекоммуникационной сети широкополосного доступа в жилом районе г. Пушкин. Исходными данными являются технические паспорта трех зданий жилого района. Первый дом расположен по адресу ул. Генерала Хазова, д. 26, представляет собой пятиэтажное жилое здание, содержащее сто квартир в пяти подъездах. На каждой лестничной площадке располагаются четыре квартиры. Второй дом, находящийся по адресу ул. Генерала Хазова, д. 24, имеет аналогичное строение. Третий дом расположен по адресу ул. Генерала Хазова, д. 30. Он, подобно двум предыдущим домам, содержит пять этажей и четыре квартиры на этаже, но имеет шесть подъездов. Следовательно в этом доме содержится сто двадцать квартир.
Так как данные дома имеют типичное строение, подробное проектирование сети рассмотрим на первом доме - ул. Генерала Хазова, д. 26.
Как говорилось ранее, объект работ включает в себя пять этажей, пять подъездов и четыре квартиры на этаж. Так же в этом здании предусмотрено подвальное помещение и технический этаж (чердак). Геометрические размеры здания 12,2 × 92,5 м × 17 м представлены на рисунке 2.1 и 2.2.
Рисунок 2.1 – Объект работ (фасад здания).
Рисунок 2.2 – Объект работ (вид сверху).
Задачей проекта является оснащение доступом к сети всех жилых помещений согласно таблице 2.1.
Таблица 2.1 – Квартирография объекта работ
| Этаж № | Подъезд -1 | Подъезд -2 | Подъезд -3 | Подъезд -4 | Подъезд -5 |
| 5 | 17-20 | 37-40 | 57-60 | 77-80 | 97-100 |
| 4 | 13-16 | 33-36 | 53-56 | 73-76 | 93-96 |
| 3 | 9-12 | 29-32 | 49-52 | 69-72 | 89-92 |
| 2 | 5-8 | 25-28 | 45-48 | 65-68 | 85-88 |
| 1 | 1-4 | 21-24 | 41-44 | 61-64 | 81-84 |
| Подвал |
2.2 Проектирование и расчет оборудования сети
Для того, чтобы начать проектирование сети необходимо определится с техническим помещением для размещения сплиттерного оборудования.
Сплиттерное оборудование находится в оптических распределительных шкафах (ОРШ) в подъезда жилых домов на специализированных технических этажах.
Так как на данном объекте технический этаж является труднодоступным для проведения монтажных работ, а также компания "ЛенТелефонСтрой" традиционно использует подвальные помещения для размещения оборудования, то решено использовать подвал для расположения ОРШ. Подвал данного жилого дома соответствует всем требованиям, предъявляемым к параметрам внешней среды как для оборудования, устанавливаемого в шкаф, так и в самих местах установки узлов доступа (является сухим, удобным для доступа обслуживающего персонала и недоступен для жителей).
Главная функция ОРШ – переход от магистрального участка к распределительному участку с возможной сменой типов волоконно-оптического кабеля (ВОК) и одновременным существенным увеличением емкости кабелей доступных к подключению абонентов, при применение сплиттирования.
Для внутренней установки применяется ОРШ ёмкостью на 100 абонентских окончаний. ОРШ для внутренней установки должны заземляться, при вводе в ОРШ кабеля с металлическими элементами.
Конструкция ОРШ для схемы с единым узлом распределения должна допускать возможность ветвления одного магистрального оптического волокна (ОВ) до 64 абонентов при дальнейшем увеличении процента проникновения услуг. Схема перехода в ОРШ, магистрального участка на распределительный участок поясняется рисунком 2.3.
Рисунок 2.3 – Конструкция оптического распределительного шкафа.
Технические характеристики, достоинства и марка выбранного ОРШ описывается в пункте 2.4.1.
В ОРШ располагаются оптические разветвители (сплиттеры), которые необходимы для деления оптического сигнала. Распределение оптической мощности по выходам сплиттера бывает равномерное и неравномерное. Как правило, для многоэтажной застройки используются сплиттеры с равномерным делением сигнала (1x2, 1x4, 1x8, 1x16, 1x32, 1x64). Это позволяет унифицировать строительство сети, сократить затраты на производство оборудования.
Общее число вертикальных кабелей обычно выбирается исходя из числа подъездов, а число волокон в кабелях – исходя из количества сплиттеров в подъезде и резервных ОВ.
Вошедший в ОРШ магистральный кабель делится на пять распределительных кабелей по шесть волокон. Пять из них соответствуют пяти этажам подъезда, а оставшиеся волокно остается в резерве. Так как рассматриваемое жилое здание содержит пять подъездов по пять этажей, т.е. необходимо завести в дом:
5 подъездов * 5 этажей = 25 ОВ.
Для этого можно использовать два сплиттера типа 1х16, на выходе из которых 25 ОВ будут использованы для комплектования распределительных ВОК, а оставшиеся 7 ОВ будут находится в резерве. Схема разварки в ОРШ представлена на рисунке 2.4.
Рисунок 2.4 – Схема разварки в ОРШ.
Подключение ВОК распределительного участка в здании производится через патч-панель к разъемам сплиттеров в ОРШ. Кабель прокладывается внутри зданий по подвальным этажам и техническим подпольям, по вертикальным стоякам или в металлорукаве по лестничным клеткам через все этажи здания. В данном проекте используется прокладка ВОК по вертикальным стоякам здания.
Если в подъезде дома имеется два и более вертикальных стояка, то для прокладки ВОК выбирается наименее загруженный стояк. При не возможности прокладки ВОК в существующих стояках проектируются новые.
В здании данного проекта предусмотрен один вертикальный стояк диаметром 110 мм. Загруженность стояка позволяет использовать его для прокладки распределительного ВОК.
Распределительный кабель на каждом этаже проходит через оптическую распределительную коробку (ОРК). ОРК предназначена для распределения оптических волокон от площадки этажа до квартиры абонента. Технические характеристики и описание выбранной ОРК описывается в пункте 2.4.2.
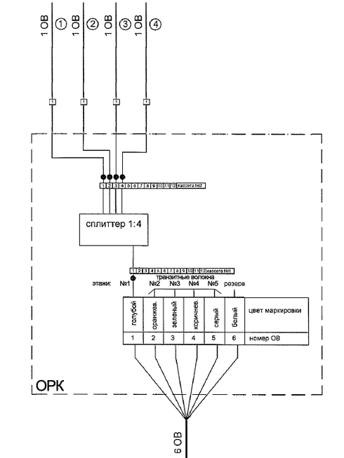
В ОРК располагаются сплиттеры, на выходе из которых комплектуются абонентские ВОК (рис. 2.5). Абонентский кабель представляет собой кабель с одним оптическое волокном, предназначенный для внутренней прокладки к конечному пользователю.
Рисунок 2.5 – Схема разварки ОРК на примере первого подъезда, этажа №1.
В каждую квартиру идет отдельный абонентский кабель. По общему коридору абонентский кабель прокладывается в кабельных коробах, далее в квартиру. На каждом этаже дома находится по четыре квартиры. Для полного обеспечения всех абонентов дома услугами связи необходимо разделение распределительного ВОК на четыре абонентских участка. Исходя из этого, в каждой ОРК должен быть расположен сплиттер типа 1х4.
5 подъездов * 5 этажей = 25 сплиттеров = 25 ОРК
Дом содержит сто абонентов. В квартире каждого абонента устанавливается оптическая абонентская розетка (ОРА). Волокно абонентского кабеля сваривается с пигтейлом в розетке. Оптическая розетка может устанавливаться в любом месте квартиры, удобном для абонента, но рядом с розеткой электропитания для подключения абонентского устройства.
Общая схема распределительной сети представлена в приложении В.
2.3 Расчет длин ВОК
Необходимо рассчитать длины распределительного и абонентского кабелей. Для этого можно использовать поэтажные планы всего здания и знать его геометрические размеры.
В первую очередь нужно рассмотреть план подвального помещения и распределение кабеля по нему. ОРШ располагается в подвале подъезда №3 в середине здания. Искомые длины - это длины от ОРШ до вертикального стояка каждого подъезда. План подвального помещения расположение ОРШ представлены в приложении А.
Пусть A, B, C, D и E - длины распределительного кабеля по подвалу до разных подъездов (приложение Б).
A = 37,9 м (длина ВОК до подъезда №1);
B = 19,6 м (длина ВОК до подъезда №2);
C = 1,2 м (длина ВОК до подъезда №3);
D = 16,7 м (длина ВОК до подъезда №4);
E = 35,1 м (длина ВОК до подъезда №5).
После нахождения горизонтальных подвальных длин, нужно рассчитать вертикальные длины распределительного ВОК по зданию. В этом случае искомые длины - это длины от поверхности земли до крыши здания в каждом подъезде. Вертикальная длина кабеля будет равна:
F = h * n;
где h - высота здания (17 м);
n - количество подъездов здания (5);
F = 17 * 5 = 85 м.
Также распределительный кабель на каждом этаже проходит через ОРК. Таким образом необходимо учитывать длину от вертикального стояка до ОРК (при входе в коробку на обслуживаемом этаже) и длину от ОРК до вертикального стояка (при выходе из коробки на следующий этаж) на всех этажах кроме последнего (учитывается длина только вошедшего кабеля).
G = ((l * 2) * (m-1) * n) + (l * 1 * n);
где l - длина от вертикального стояка до ОРК ( 2,2 м (рис. 2.6));
m - количество этажей здания (5);
n - количество подъездов здания (5);
G = ((2,2 * 2) * (5-1) * 5) + (2,2 * 1 * 5) = 99 м.
Рисунок 2.6 – Схема лестничной клетки
Сумма всех длин распределительного ВОК и технического запаса (3%) равна:
(A + B + C + D + E + F + G) * 1,03;
(1,2 + 19,6 + 16,7 + 37,9 + 35,1 + 85 + 99) * 1,03 = 303,4 м.
Для расчета общей длины абонентского ВОК нужно сложить все длины кабеля от ОРК до каждой квартиры, толщину внутренних стен здания между лестничным пролетом и квартирой, а также длины кабеля в квартирах каждого абонента. Любой абонент в праве оставить в свой квартире нужную длину кабеля от 5 до 10 м, в зависимости от расположения электрической розетки до ОРА. В этом проекте используем среднее значение длины личного кабеля абонентов 7 м.
Для определения длин ВОК от коробки до квартир одного лестничного пролета рассмотрим лестничный пролет подъезда №1 на первом этаже.
Рисунок 2.7 – Схема лестничного пролета подъезда №1 на первом этаже.
Сумма длин одного лестничного пролета равна:
J = 2,4 + 1 + 3,4 + 2 = 8,8 м (рис. 2.7).
С учетом толщины внутренних стен здания и личных абонентских ВОК, сумма всех длин на один лестничный пролет равна:
J + k * n + l * n = H;
где J - cумма длин одного лестничного пролета (8,8 м);
k - толщина внутренних стен здания (0,38 м);
















