Bondar' Timur Sergeevich 2016 (1207418), страница 13
Текст из файла (страница 13)
на перегонах трех - и четырехпутных участков - со стороны междупутья шириной не менее 5м;
на станциях - со стороны обочины или междупутья шириной не менее 5 м;
на станциях при ширине междупутья с обеих сторон менее 5 м - со стороны соседнего пути с отключенной и заземленной контактной сетью.
Во всех указанных случаях должно быть обеспечено снятие напряжения и заземление частей контактной сети и ВЛ, находящихся на расстоянии менее 2 м от верха спинки сидения поста управления машиниста на ферме укладочного крана.
Раскрепление и закрепление пакетов звеньев в случае использования съемного оборудования типа СО и СО-2, а также подъем на ферму путеукладчика для устранения неисправности допускается производить только на участке пути с отключенной и заземленной контактной сетью. В связи с этим заземление места работ должно производиться с учетом длины укладочного и разборочного поездов. При выполнении этих работ на перегонах двухпутных и многопутных участков, а также на станциях нахождение людей на пакетах со стороны соседнего пути, напряжение с контактной сети которого не снято, допускается только между опорами на расстоянии не менее 5 м от их частей (проводов), находящихся под напряжением. Монтеры пути (стропальщики), выполняющие работы по зацепке и отцепке звеньев на платформе укладочного (разборочного) крана, должны производить эти работы, находясь на пакете звеньев со стороны поста управления машиниста крановой установки.
5.1.2 Перечень основных опасных производственных факторов
Опасный производственный фактор — это производственный фактор, воздействие которого может привести к травме.
К опасным производственным факторам рабочей среды прикапитальном ремонте пути согласно [33] относятся:
- Опрокидывание и наезд на работников движущегося подвижного состава, дрезины, путевых машин, автомобильного транспорта и других транспортных средств;
- Падение перемещаемых материалов верхнего строения пути, сборных конструкций и других предметов;
- расположение рабочего места на значительной высоте относительно поверхности земли, например рабочее место оператора путеукладочного крана;
- электроустановки, трансформаторы, распределители, машины и механизмы с электроприводом, в том числе подвижной состав, работающий на электроприводе;
- открытое пламя и горячие поверхности, прикосновение к которым может вызывать ожоги;
- скользкие, неровные, поверхности, повышающие риск падения человека, попадающего на них.
5.1.3 Меры предосторожности при производстве работ
При нахождении на железнодорожных путях монтер пути должен соблюдать следующие требования безопасности:
- проходить вдоль путей по обочине, обращая внимание на движущиеся по путям локомотивы, вагоны и другой подвижной состав;
- переходить пути под прямым углом, перешагивая через рельс, не наступая на концы железобетонных шпал и масляные пятна на шпалах, и предварительно убедившись в том, что к месту перехода не приближается подвижной состав (локомотив, мотор-вагонный подвижной состав, вагоны, дрезина или другое транспортное средство);
- при переходе пути, занятого стоящим подвижным составом, следует пользоваться переходными площадками вагонов, предварительно убедившись в исправности поручней, подножек и пола площадки. Прежде чем сойти с переходной площадки вагона на междупутье необходимо осмотреть место схода и убедиться в исправности подножек, поручней, а также в отсутствии движущегося по смежному пути подвижного состава, и в отсутствии на междупутье посторонних предметов, которые мешают сходу. При подъеме на переходную площадку и при сходе с нее следует держаться за поручни и располагаться лицом к вагону;
- проходить между расцепленными вагонами, локомотивами и секциями локомотивов, если расстояние между их автосцепками не менее 10 м;
- обходить группу вагонов или локомотивы, стоящие на пути, на расстоянии не менее 5 м от автосцепки;
- обращать внимание на показания светофоров, звуковые сигналы и предупреждающие знаки.
5.1.4 При нахождении на железнодорожных путях запрещается:
- становиться или садиться на рельсы, концы шпал, балластную призму, электроприводы, путевые коробки и другие напольные устройства;
- подниматься в вагон, дрезину, мотовоз, автомотрису и других подвижных единиц и сходить с них во время движения;
- находиться на подножках, лестницах и других наружных частях вагона, дрезины, мотовоза, автомотрисы и других подвижных единиц при их движении;
- переходить или перебегать через пути перед движущимся поездом, подвижным составом;
- пролезать под стоящими вагонами, залезать на автосцепки или под них при переходе через пути, а также протаскивать под вагонами инструмент, приборы и материалы;
При производстве работ по модернизации верхнего строения пути, монтер пути должен обеспечиваться следующими сертифицированными специальной одеждой, специальной обувью и другими средствами индивидуальной защиты:
- летним костюмом «Путеец-Л»;
- сапогами юфтевыми на маслобензостойкой подошве;
-курткой из плащ-палатки;
- плащом для защиты от воды;
- перчатками трикотажными;
- жилетом сигнальным 2 класса зажиты;
- головным убором сигнальным.
- При работе с электроинструментом: перчатками диэлектрическими (дежурными).
- при работе с укладочным краном: каска;
В районах распространения гнуса, комаров, мошки монтер пути с целью защиты от них должен обеспечиваться репеллентами, имеющими санитарно-эпидемиологические заключения, выданные в установленном порядке, а также противомоскитными сетками и спецодеждой, обеспечивающими защиту от укусов насекомых.
5.1.5 Требования охраны труда для стропальщика при укладке кранами рельсошпальной решетки.
К самостоятельной работе в качестве стропальщика допускаются лица не моложе 18 лет, прошедшие в установленном порядке:
- медицинское освидетельствование в соответствии с типовым порядком прохождения работниками ОАО "РЖД" обязательных предварительных (при поступлении на работу), периодических медицинских осмотров (обследований), психиатрического освидетельствования и психофизиологического обследования, обучение правилам охраны труда;
- вводный инструктаж по охране труда;
- первичный инструктаж по охране труда на рабочем месте;
- инструктаж по пожарной безопасности;
- проверку знаний требований охраны труда в объеме, установленном профессиональными требованиями и Инструкцией[33];
- имеющие удостоверение стропальщика, выданное квалификационной комиссией филиала или структурного подразделения с участием представителя инспекции котлонадзора (Ростехнадзора). В удостоверении должна иметься фотокарточка стропальщика.
К работе в качестве стропальщиков могут допускаться другие работники (такелажники, монтажники и т.п.), обученные по профессии, квалификационной характеристикой которой предусмотрено выполнение работ по строповке груза. Им должны быть выданы удостоверения об аттестации установленного образца.
Во время работы стропальщик должен иметь удостоверение при себе и предъявлять его по требованию контролирующих органов, лиц ответственных по надзору за безопасным производством работ, а также по требованию машиниста укладочного крана.
Вводный инструктаж по безопасности проводят со всеми вновь принимаемыми работниками независимо от их стажа работы по данной профессии. Первичный инструктаж на рабочем месте проводится с каждым стропальщиком индивидуально с практическим показом безопасных приемов работы. Вводный и первичный инструктажи, а также последующая проверка знаний стропальщиков по охране труда проводятся в объеме, установленном профессиональными требованиями и инструкцией [33].
После приема на работу стропальщики должны пройти обучение правилам оказания первой помощи пострадавшим при несчастных случаях.
В процессе работы стропальщики должны проходить повторные, внеплановые и целевые инструктажи по охране труда и периодические медицинские осмотры. Повторный инструктаж стропальщиков по безопасности на рабочем месте должен проводиться не реже одного раза в квартал.
Требования безопасности при перетягивании пакета звеньев рельсошпальной решетки и зацепке грузов.
- При подготовке к перетягиванию пакета звеньев рельсошпальной решетки необходимо произвести надежное закрепление за рельс нижнего звена захвата, имеющегося на конце каната лебедки передвижения пакетов.
-Перед включением привода лебедки необходимо убедиться, что ничто не мешает перемещению пакета звеньев по роликам (тормоза разблокированы, упоры и цепи крепления пакетов сняты), натяжению каната, правильному наматыванию его на барабан и что на платформах, на кране (в зоне перемещения пакета) и на расстоянии менее 10 метров от каната нет людей, а на платформе МПД (при перетягивании на нее) установлены ограничительные упоры.
- Запрещается подниматься на платформы и производить любые работы на них до полной остановки поезда и перетягиваемого пакета звеньев, а также ослабления каната подтягивающей лебедки.
-На время пропуска поезда по соседнему пути все работы по укладке или разборке пути, а также передвижению пакетов звеньев должны быть прекращены и обеспечен соответствующий габарит для его безопасного прохождения.
Не менее чем за 10 мин. до прохода скоростного поезда все работы на пути, сооружениях и устройствах должны быть прекращены, путь, сооружения и устройства приведены в состояние, обеспечивающее его безопасный пропуск, материал и инструмент с пути убраны на обочину.
ЗАПРЕЩАЕТСЯ:
- перетягивать под кран пакеты, состоящие из 4-х и более звеньев, при опущенной стреле;
- направлять руками стальной канат подтягивающей лебедки при намотке его на барабан;
- снимать или одевать направители (направляющие коньки) на концы рельсов, находясь в зоне предполагаемого движения пакета.
Требования безопасности при подъеме и перемещении груза
- Перед каждой операцией по подъему и перемещению груза старший стропальщик должен лично подавать соответствующий сигнал машинисту укладочного крана или сигнальщику.
- Перед подачей сигнала машинисту укладочного крана о подъеме груза стропальщик, работающий внизу (на пути у рельсошпальной решетки), должен:
- убедиться, что на грузе надежно закреплены грузозахватные приспособления, и он ничем не удерживается;
- проверить, нет ли лежащих на грузе незакрепленных деталей и инструмента;
- убедиться, что груз не может во время подъема за что-либо зацепиться;
г) убедиться в отсутствии людей возле груза, между поднимаемым грузом и укладочным краном, его отбойной плитой, опорами контактной сети или иными обустройствами, расположенными рядом с рельсошпальной решеткой или блоком стрелочного перевода.
При подъеме, перевороте и перемещении груза стропальщик, работающий внизу, должен:
- предварительно подать сигнал для подъема груза на высоту от 200 до 300 мм, проверить при этом правильность установки траверсы, устойчивость крана и действие тормозов и только после этого подавать сигнал о подъеме груза на необходимую высоту. В случае необходимости исправления положения траверсы или стропов при перевороте звена груз должен быть обязательно опущен на надежную опору;
- перед горизонтальным перемещением груза необходимо убедиться, что он поднят на высоту не менее чем на 0,5 м выше встречающихся на его пути предметов;
- укладку звеньев рельсошпальной решетки или элементов стрелочного перевода производить с учетом требований руководства по эксплуатации укладочного крана, на котором выполняются эти работы.
При подъеме и перемещении груза все стропальщики, работающие на верху (на кране), должны перейти на откидные площадки крана.
При подъеме и перемещении груза стропальщику запрещается:
- находиться на грузе во время подъема или перемещения, а также допускать подъем или перемещение груза, если на нем находятся другие лица;
- находиться под поднятым грузом или допускать нахождение под ним или в опасной зоне других людей:
- оттягивать или выравнивать груз руками, а не оттяжками или баграми, во время его подъема, перемещения, переворота и опускания;
При подъеме или перевороте звена стропальщики и другие рабочие должны находиться:
- дальние от крана, работающие внизу, - на расстоянии не менее 2 метров от переднего края звена;
- ближние от крана, работающие внизу, - за порталом крана;
- стропальщики, работающие наверху крана, - на его откидных площадках.
Если при подъеме, перемещении или перевороте звена (блока стрелочного перевода) произойдет отрыв с одной стороны шпалы (бруса), то необходимо опустить груз на балласт, отсоединить второй конец шпалы (бруса), и только после этого продолжить погрузку. Шпала (брус) должны быть убраны с пути только после погрузки этого звена (блока).
Требования безопасности при опускании груза
- Перед опусканием груза стропальщик обязан предварительно осмотреть место, на которое необходимо опустить груз, и убедиться в невозможности опрокидывания или сползания груза.
- Стропальщику запрещается устанавливать груз на временные подставки, подсыпки, трубы и кабели.
- При стыковании звена необходимо удерживать его направляющей штангой за головки рельсов на расстоянии не ближе 40 см от стыка, при этом ноги стропальщиков и монтеров пути должны находиться на расстоянии не менее 0,3 м от рельсов и шпал до момента его полного опускания на балласт.
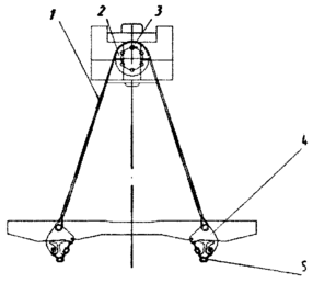
Схема строповки и переворота звена путевой решетки при укладке пути приведена на рисунке 5.2















