ПЗ (1195281), страница 5
Текст из файла (страница 5)
На информационно-вычислительные центры возлагаются обязанности по выполнению технического обслуживания и ремонта в установленным настоящим Положением границах концентрации информации дорожного уровня КСАИ-Д, сети передачи данных, к которой подключено оборудование САИ «Пальма» и ремонт концентраторов информации линейного уровня КСАИ-Л по заявкам подразделений дорожных дирекций связи.
Границами зон ответственности являются:
При эксплуатации и техническом обслуживании средств САИ «Пальма»: патч-корд, подключающий КСАИ-Л к узлу СПД (ЛВС). Разъем на оборудовании СПД (ЛВС) находится в зоне ответственности информационно-вычислительных центров и их региональных отделов. Разъем патч-корда находится в зоне ответственности региональных центров связи.
При проведении ремонтных работ по заявкам специалистов подразделений хозяйства связи: разъемы стыка RS-232 КСАИ-Л, подключаемые к модемам. Соединительные кабели с разъемом RS-232 находятся в зоне ответственности региональных центров связи. При этом КСАИ-Л, инсталляция системного и специализированного программного обеспечений производится специалистами информационно-вычислительных центров и их региональных отделов.
Разграничение зон и границ ответственности при обеспечении электропитанием технических средств САИ «Пальма» осуществляется в соответствии с распоряжением Президента ОАО «РЖД» от 30 мая 2006 года №1085р и от 4 апреля 2006 года №575р.
Взаимодействие подразделений:
Эксплуатация, техническое обслуживание и ремонт технических средств САИ «Пальма» производится региональными центрами связи – структурными подразделениями дорожных дирекций связи, информационно-вычислительными центрами и их региональными отделами в соответствии с руководством по эксплуатации и инструкцией по эксплуатации;
Уровни взаимодействия оперативного персонала подразделений приведены в таблице 2.4:
Таблица 2.4 - Уровни взаимодействия оперативного персонала подразделений
| Уровень | ЦКИ | ЦСВТ |
| Центральный | Руководитель единой смены ГВЦ | Сменный инженер (диспетчер) ЦСС |
| Дорожный | Руководитель единой смены ИВЦ | Сменный инженер (диспетчер) дорожной дирекции связи |
| Региональный | Дежурный инженер регионального представительства ИВЦ | Сменный инженер (диспетчер) регионального центра связи |
Для выполнения мероприятий, связанных с обеспечением эксплуатации, техническим обслуживанием, ремонтом и безотказной работы технических средств САИ «Пальма», ответственные лица подразделений хозяйства связи обязаны:
-
обеспечить контроль работоспособности ПСЧ и КСАИ-Л в зоне ответственности своего участка;
-
обеспечить контроль исправности линий связи и модемов в зоне ответственности своего участка:
-
обеспечить выполнение технического обслуживания ПСЧ, КСАИ-Л и модемов в соответствии с требованиями инструкций по эксплуатации;
-
обеспечить наличие запасных частей блоков ПСЧ и модемов на складах региональных центров связи в соответствии с проектными решениями;
-
при обнаружении неисправностей ПСЧ, модемов или линий связи принимать меры по выяснению причин и организации работ по незамедлительному устранению неисправностей;
-
при обнаружении неисправностей концентраторов информации КСАИ-Л немедленно сообщать ответственным лицам (сформировать заявку на выполнение работ по устранению неисправности) информационно-вычислительных центров дорог или их региональным представительствам;
-
обеспечивать учет неисправностей в работе технических средств САИ «Пальма» в модуле «Эскорт» системы АСУ ЦСТ в соответствии с утвержденной технологической инструкцией.
Для выполнения мероприятий, связанных с обеспечением эксплуатации, техническим обслуживанием, ремонтом и безотказной работы технических средств САИ «Пальма» на хозяйство корпоративной информатизации возлагаются следующие обязанности:
-
обеспечить контроль работоспособности сети передачи данных используемой для передачи информации САИ «Пальма»;
-
обеспечить выполнение технического обслуживания КСАИ-Д, в соответствии с требованиями инструкций по эксплуатации;
-
по заявкам подразделений хозяйства связи проводить восстановительный ремонт КСАИ-Л, включая инсталляцию системного и специализированного программного обеспечения;
-
обеспечить наличие запасных частей для восстановительного ремонта концентраторов информации КСАИ-Д, КСАИ-Л, сети передачи данных, используемой для нужд САИ «Пальма» в пределах выделенных на эти цели средств;
-
при обнаружении неисправностей КСАИ-Д принимать меры по выяснению причин и организации работ по незамедлительному устранению неисправностей;
-
при обнаружении неисправностей ПСЧ, модемов и линий связи немедленно сообщать ответственным лицам региональных центров связи.
Также при строительстве и реконструкции системы автоматической идентификации подвижного состава САИ ПС «Пальма» необходимо принимать во внимание телеграмму ОАО «РЖД» № ЦСС ЭС – 11/73 от 30.09.2011, подписанную Лосевым В.Г. и Мишениным В.А.
В целях повышения эффективности работы технических средств системы автоматической идентификации подвижного состава САИ ПС «Пальма», а также недопущения срыва сроков выполнения строительства и реконструкции объектов САИ ПС устанавливаются границы балансовой принадлежности и ответственности при эксплуатации и восстановлении работоспособности электропитания пункта считывания САИ ПС:
-
в зону ответственности и балансовой принадлежности подразделений хозяйства связи входит оборудование электропитания от вводных клемм электропитания ПСЧ САИ ПС (включительно);
-
в зону ответственности и балансовой принадлежности подразделений хозяйства электрификации и электроснабжения входят оборудование внешнего электроснабжения и линии электропередачи до наконечников питающих кабелей (включительно) на вводе в шкаф ПСЧ САИ ПС.
-
Модификации пунктов считывания
-
ПСЧ-С. Шкаф металлического исполнения содержит в себе считыватель, антенну, модем, автомат включения резерва, защиты и индикации (АВРЗИ), сетевой фильтр, контроллер подсчета осей (КПО), электрообогреватель, термодатчик, карман для документов, осветительный прибор. Габариты шкафа пункта считывания 1000х600х600 мм. Это основная модель ПСЧ, используемая в настоящее время. Недостатками ПСЧ-С является необходимость обогрева в зимний период, сложность в обслуживании, т.к. для доступа к внутренним компонентам необходимо открутить 4 болта, держащих крышку шкафа, что в холодное время года затруднительно из-за намерзания льда на головку болта. Также пункт считывания имеет большие габариты, металлическому корпусу необходимо заземление.
-
ПСЧ-М. Шкаф в металлическом исполнении содержит блок управления БУ-01-М2, малогабаритный считыватель, концентратор информации (промышленный ПК), блок связи и буферного питания БПС-01-М2, модем MC04-DSL, приемник дистанционного питания, модуль грозозащиты, антенную систему АС-1, антенну ЩА-2. В шкаф также заведено освещение. Габариты установленного шкафа 1540х500х180 мм. Ширина 180 см не учитывает Антенную систему АС-1. В сложенном виде вместе с антенной ширина ПСЧ-М – 371 см, в максимально развернутом положении антенны ширина составляет 575 см. Пункт считывания также оснащен заземляющей шиной. Преимущества данной модификации в более компактных размерах; размещении в едином корпусе самого ПСЧ и КИ; наличии элемента грозозащиты; отсутствия элементов, чувствительных к перепадам температуры, как следствие, исключение электрообогревателя. ПСЧ производится в трех вариантах, различающихся способом питания: в модификации М1 используется кабельная линия связи (медь, одна пара), модификация М2 использует дистанционное питания по кабелю связи (две пары), в М3 вместо физической линии связи используется GSM модем.
-
ПСЧ-М на опоре. Корпус шкафа выполнен из пластика. Внутри располагается считыватель, антенная система АС-1, антенна КЩА-6, модем DSL, блок питания, аккумуляторная батарея, АВРЗИ, КПО, устройство для освещения. Высота подвеса шкафа 1527 см, габариты 2237х495х188 мм. Отличительной особенностью является неметаллический корпус, не требующий заземления. Так как пункт считывания размещается в непосредственной близости от рельсовой линии, в зоне А, то заземление металлического корпуса может вносить помехи в работу РЦ. Эта модификация ПСЧ будет использоваться для модернизации участка.
-
Организация питания напольных устройств
На станциях А, Б и Г питание напольных устройств организована посредством двух фидеров, одним из которых является высоковольтная линия, а другим линия электропередачи 6 кВ. Питание станции В организована одним фидером, в качестве резервного источника питания для ПСЧ служат аккумуляторные батареи ALASKA YTX20L-BS 12V 18Ач.
Кабель питания прокладывается в траншее глубиной 1 метр и шириной 1-1,2 метра. Разработка траншей доверяется стороннему предприятию. При прокладывании двух силовых кабелей в одной траншее, необходимо разнести их друг от друга на расстоянии не менее 0,5 метра. В междупутье кабель прокладывается в асбоцементных трубах БНТ-100.
От однофазного трансформатора, подключенного к линии электропередачи, кабель подводится к шкафу сигнальной точки, а затем к каждому ПСЧ. От трансформатора до сигнальной точки прокладывается кабель Силовой кабель ВБбШв 4х6 медный с ПВХ изоляцией, с защитным покровом бронированный. Между соседними ПСЧ используется кабель АВВГ3х4+1х2,5, состоящий из четырех алюминиевых однопроводных жил круглой формы.
-
Заземление напольных устройств САИ ПС
При решении вопросов заземления напольного оборудования (шкафов) системы "Пальма" необходимо принимать во внимание:
-
защиту обслуживающего персонала и аппаратуры от поражения электрическим током при к.з. в системе тягового электроснабжения (на электрифицированных железных дорогах) и сети электроснабжения в шкафу 220 В (при любом виде тяги поездов);
-
защиту от поражения током при падении контактного провода или другого высоковольтного провода, подвешенного на опорах вдоль железной дороги, на шкаф;
-
защиту от грозовых и коммутационных перенапряжений, возникающих на рельсах.
Заземление напольного оборудования следует осуществлять в соответствии с требованиями действующих на сети дорог нормативных документов:
-
инструкции по заземлению устройств электроснабжения на электрофицированных железных дорогах (ЦЭ-191);
-
руководящих указаний по защите от перенапряжений устройств СЦБ (РУ-90,1990г.);
-
инструкции по защите железнодорожных подземных сооружений от коррозии блуждающими токами(ЦЭ-518) и др.
Поскольку стойки системы "Пальма" расположены, как правило, на расстоянии 3,1 м от оси пути, то согласно Инструкции ЦЭ-191 на электрифицированных железных дорогах необходимо выполнить заземление на тяговые рельсы или среднюю точку дроссель-трансформаторов.
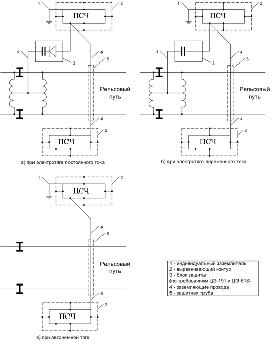
Схемы заземления шкафов системы «Пальма» при электротяге постоянного тока, переменного тока и при автономной тяге представлены на рисунке 2.11.
Рисунок 2.11 - Варианты заземления
В состав схемы заземления входят:
-
индивидуальный заземлитель (ИЗ), обеспечивающий заземление экранов чувствительных элементов;
-
выравнивающий контур, обеспечивающий эквипотенциальность вокруг стойки и, следовательно, безопасность персонала при попадании 220 В на корпус;
-
блоки зашиты, служащие для пропуска тока к.з. при падении контактного провода на корпус стойки, а также обеспечивающий защиту от электрокоррозии и потенциалов на рельсах при к.з. в тяговой сети на подвижном составе, а. также при грозовых разрядах и коммутационных перенапряниях в режиме тяги;
-
заземляющие провода, соединяющие корпус с рельсами (дроссель-трансформаторами);
-
защитная труба (асбоцементная или полимерная), прокладываемая под путями для прокладки заземляющих проводов между стойками.
Индивидуальные заземлители (ИЗ), выполняются в виде металлических штырей длиной 2,5 м и диаметром не менее 18 мм, забиваемых в грунт на расстоянии не ближе 5 м от крайнего рельса. Сопротивление ИЗ должно быть не более 10 Ом для обычных грунтов и не более 30 Ом на скалистых и вечномерзлых грунтах (ГОСТ 464-68 "Заземления для стационарных установок проводной связи и станций радиотрансляционных узлов. Нормы сопротивления"). Допускаются и другие исполнения ИЗ (например, в виде горизонтальных полос или сетки, Инструкция ЦЭ-191).
Измерение параметров ИЗ и их содержание в условиях эксплуатации по Инструкции ЦЭ-191.













