Ivan_DP (1194047), страница 6
Текст из файла (страница 6)
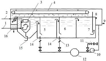
Рисунок 8.3- Конструкция водосборных желобов фильтра
8.5 Промывка фильтров, подбор промывных насосов
Обратная водовоздушная промывка каждой ступени двухступенчатых фильтров осуществляется поэтапно: на первом производится продувка воздухом интенсивностью 20 л/(c м2) в течение 2-3 мин, на втором – совместная подача воздухом (той же интенсивностью) и воды (интенсивностью 3-3.5 л/(c м2) в течение 6-7 мин, на третьем – промывка водой интенсивностью 6-7 л/(с м2) в течение 5-7 минут. Фильтры промываются очищенной водой, которая самотеком поступает в резервуар чистой промывной воды W=10 м3 откуда забирается промывным насосом и подается на промывку. Насос для промывки двухступенчатых фильтров выбирается исходя из расчета наибольшей интенсивности промывки водой 7 л/см2. Принимаем насос марки К 45/30 (Q=64 м3/час, H=27 м.вод.ст., N=7.5 квт). Промывной насос установлен под заливом (резервный насос находится на складе). Общий объем промывной воды образующейся за одну промывку составляет 6.5 м3. Количество промывок составляет 1.5 промывки в сутки (количество промывок уточняется во время проведения пуско-наладочных работ). В течение суток образуется 10 м3 грязной промывной воды, которая самотеком поступает в голову очистных сооружений.
8.6 Низконапорный компрессор
Количество воздуха, необходимого для промывки двухступенчатых фильтров, составляет 162 м3/час (интенсивность подачи воздуха 20 л/с м2). Необходимое количество воздуха поступает из местной стационарной воздушной системы оборудованной ресивером.
9 Реагентное хозяйство
В состав реагентного хозяйства входят склад реагентов, помещение приготовления рабочих растворов коагулянтов. Склад реагентов принят согласно СНиП 2.04.02-84 п.п. 6.202-6-207. Помещение приготовления рабочих растворов коагулянтов входит в состав блока очистных сооружений и включает в себя расходные баки, дозаторы.
Раствор оксихлорида алюминия (см. приложение 3) подают в расходные баки, а затем насосами дозаторами В-V6-1 “Сантопрен” (один рабочий, один резервный) по трубопроводу в отстойник-усреднитель. К установке принимаются два расходных бака для оксихлорида алюминия. Концентрация раствора оксихлорида алюминия в таре 19-20%, в расходной емкости доводится до 10 % путем разбавления водой. Для физико-химической очистки промстоков дезпромывочного пункта принимается доза коагулянта – оксихлорида алюминия 50-100* мг/л. В качестве дозирующих установок приняты насосы-дозаторы В-V6-1 “Сантопрен” (подача - 6 л/ч, напор 1 бар).
* Доза коагулянта уточняется во время пуско-наладочных работ.
10 Бактерицидная установка
Для обеззараживания очищенных хозбытовых стоков применены бактерицидная установка ОС-1А-8-50 производительностью 6 м3/час и блоком промывки типа БПР-5. Бактерицидная установка включается на промывку при снижении минимальной заданной дозы УФ-облучения, которая контролируется датчиком измерения интенсивности УФ-излучения в камере обеззараживания установки при включении звукового и светового сигнала.
11. Научная Работа
11.1 Введение
В данной работе приведен сравнительный анализ эффективности работы флотационных установок при очистке нефтесодержащих сточных вод промышленных предприятий методами напорной и безнапорной флотации. Рассмотрены и определены основные параметры и принцип работы флотационных установок различной конструкции, позволяющие повысить степень очистки сточных вод от нефтепродуктов. На основании экспериментальных данных приведены графики зависимостей содержания нефтепродуктов в сточной воде после очистки их на флотационных установках при напорной и безнапорной флотации. Рассмотрены основные конструктивные характеристики электрогидродинамического устройства и определены его положительные и отрицательные влияния на интенсификацию очистки сточных вод методом флотационной очистки. Рассмотрены схема и принцип работы вихревого смесительного устройства, позволяющего повысить степень очистки промышленных сточных вод от нефтепродуктов и тем самым обеспечить рентабельную эксплуатацию флотационных установок. В работе, помимо существующих технологий флотационной очистки нефтесодержащих сточных вод, представлены рецептуры стеклоэмалей различного назначения, позволяющие интенсифицировать эффективность работы вихревого смесительного и электрогидродинамического устройств. На основании проведенных исследований выявлено перспективное направление рецептуры безгрунтовых эмалевых покрытий, исследования в направлении которых может способствовать повышению качества очистки нефтесодержащих сточных вод методами напорной и безнапорной флотации.
В настоящее время экологическое состояние планеты играет значительную роль в сферах политического, экономического и социального благосостояния всего человечества. Для достижения максимальных условий, удовлетворяющих обеспечение целостности экологии, затрачивается труд многочисленных ученых и исследователей, разработки и инновации которых во многих случаях позволяют достичь положительных эффектов.
Важным объектом экологии в настоящее время являются поверхностные воды, которые ежегодно загрязняются отходами различных производств. Одними из крупнейших загрязнителей поверхностных вод являются промышленные предприятия, сточные воды которых характеризуются наличием нефтепродуктов, негативно сказывающихся на состояние окружающей среды. В связи с этим исследование и разработка эффективных способов очистки сточных вод таких предприятий перед сбросом в поверхностные воды являются актуальными.
Очистка промышленных сточных вод от нефтепродуктов является весьма сложным процессом, так как растворенная в воде нефть образует эмульсию, полностью удалить которую механическими методами является невозможным. В связи с этим наиболее эффективными на данное время являются схемы напорной и безнапорной флотационной очистки стоков, где происходит полное удаление нефтяной эмульсии за счет газонасыщения водовоздушной смесью сточной воды. Эффективность применения этих методов очистки позволяет достичь результатов, удовлетворяющих нормам содержания нефтепродуктов перед сбросом в поверхностные воды.
Средняя эффективность очистки воды от нефтепродуктов при безреагентной напорной флотации с использованием радиальных флотоотстойников (рисунок 1а) обычно не превышает 65 % (рисунок 2а), а с применением горизонтальных флотаторов (рисунок 1б) составляет не более 30 % (рисунок 2б) [6].
а)
б)
а − схема радиального флотатора: I − подача сточной воды; II − отвод обработанной сточной воды; III − опорожнение флотатора и отвод осадка; IV − отвод пены; б − схема горизонтального флотатора: 1 − флотационная камера; 2 − выделительная камера; 3 − скребковое устройство; 4 − сборный карман очищенной воды; 5 − пеносборная камера; 6 − выпуск пенной массы; 7 − выпуск воды; 8 − дросселирующее устройство
Рисунок 11.1 - Принципиальная схема радиального и горизонтального флотаторов
а)
б)
а − зависимость эффективности очистки воды безреагентной напорной флотацией от давления в напорном баке (радиальный флотатор); б − зависимость эффективности очистки воды от мазута в горизонтальном флотоотстойнике от давления насыщения воды воздухом
Рисунок 11.2 -Графики зависимости эффективной очистки сточных вод в радиальном и горизонтальном флотаторах
Степень очистки сточных вод при реагентной напорной флотации достигает 88 % на радиальных флотаторах и 65 %-70 % − на горизонтальных при давлениях в напорных резервуарах 3,5-4,0 · 105 Па [6]. При давлениях в сатураторах выше 4,0 · 105 Па эффективность флотационной очистки воды уменьшается, так как происходит рост среднего размера пузырька с увеличением исходного пересыщения воды и разбавление водовоздушной смеси при смешении ее с водой во флотоотстойнике.
Таким образом, эффективность очистки в напорных флотационных установках не может быть повышена путем увеличения давления для насыщения воздухом воды в баках-сатураторах.
Увеличение степени изъятия загрязнений из воды методом напорной флотации может быть достигнуто за счет последовательного использования нескольких ступеней обработки стоков, например, в установках рециркуляционной флотации с многокамерным флотатором (рисунок 11.3).
1 − исходная вода; 2 − подача коагулянта; 3 − смеситель гидроциклонного типа; 4 − скребковый транспортер; 5 − первая ступень флотации; 6 − вторая ступень флотации; 7 − отстойная камера (флотоотстойник); 8 − водоприемный лоток; 9 − очищенная вода; 10 − насос; 11 − эжектор подачи воздуха; 12 − бак-сатуратор; 13 − диафрагма (дроссель); 14 − трубопровод распределения водовоздушной смеси; 15 − отвод осадка; 16 − пеносборник
Рисунок 11.3- Схема многокамерной флотационной установки
В этих установках насыщается воздухом часть очищенной воды, забираемой после флотоотстойника насосом рециркуляции. Смешение водовоздушной смеси, образовавшейся после дросселирования раствора за напорным баком-сатуратором, с очищаемой водой происходит в первой и второй ступени флотации. Очищаемая вода насосом или гидроэлеватором подается в открытый гидроциклон, установленный в первой камере флотации. Сюда же подается коагулянт (флокулянт) при реагентной флотации. Из первой камеры флотации очищаемая вода поступает последовательно во вторую и третью камеры, разделенные переливными перегородками в объеме флотоотстойника. В эти же камеры через перфорированные трубы подается водовоздушная смесь от напорного резервуара. Последняя по ходу воды камеры является отстойной. Очищенная вода сливается в специальный сборник на задней стенке флотоотстойника.
Нефтепродукты удаляются с поверхности воды скребковым транспортером в отсек у передней стенки. Зависимость остаточной концентрации нефтепродуктов (в долях от исходной) от давления в напорном резервуаре при безреагентной очистке сточной воды в трехкамерном флотаторе показана на рисунке 11.4.
Рисунок 11.4. Зависимость эффективности очистки воды рециркуляционной флотацией в многокамерном флотоотстойнике от давления в напорном баке-сатураторе [6]
Метод напорной флотации имеет существенный недостаток, который заключается в том, что при переменных расходах подаваемой на очистку воды регулирование узла насыщения воды воздухом становится весьма сложным.
В связи с этим значительный интерес представляет собой безнапорная флотация, менее чувствительная к изменению производительности, в частности, к организации нужного сочетания достаточно высокого уровня газонасыщения и количества высокодиспергированных пузырьков, приводящего к обеспечению высокого эффекта очистки стоков от нефтепродуктов. В обычных способах безнапорной флотации для этого применяются смесители воды и воздуха гидравлического типа, в которых вследствие высокой турбулентности двухфазных потоков можно получить пузырьки с заданной дисперсностью.
1 − многокамерный флотатор; 2 − насос рециркуляции; 3 − водовоздушный эжектор; 4 − распределительные трубы; 5 − загрязненная вода; 6 − выделенные нефтепродукты; 7 − очищенная вода
Рисунок 11.5. Схема установки безнапорной флотации с многокамерным флотатором
На рисунке 11.5 показана схема организации безнапорной рециркуляционной флотации в трехкамерном флотаторе. Часть очищенной воды забирается насосом рециркуляции и подается в водовоздушный эжектор, коэффициент эжекции которого регулируется конусом, установленным в рабочем сопле. Из эжектора водовоздушная смесь подается через перфорированные трубы во флотоотстойник.
Недостатком данной установки (также, как и установок напорной флотации) является ухудшение качества очистки воды при рабочих давлениях циркуляционного потока перед эжектором выше 4,0 · 105 Па. Этот факт может объясняться тем, что водовоздушный эжектор и находящийся за ним участок трубопровода являются недостаточно совершенными смесительными устройствами.
Высокую степень диспергации воздушных пузырьков можно достичь в тех установках безнапорной флотации, где в качестве смесителей используются вихревые устройства, создающие большие касательные напряжения на границе «пузырек воздуха − жидкость». В качестве вихревого смесителя может применяться электрогидродинамическое устройство (ЭГДУ) (рисунок 11.6), которое было исследовано в диссертации Т. В. Алексеевой [1].
1 − подающий трубопровод; 2 − входная камера; 3 − ствол (вихревая камера); 4 − диэлектрические вставки; 5 − отводящий трубопровод















