ДИПЛОМ МОЙ (1193721), страница 14
Текст из файла (страница 14)
- перетягивать под кран пакеты, состоящие из 4-х и более звеньев, при опущенной стреле;
- направлять руками стальной канат подтягивающей лебедки при намотке его на барабан;
- снимать или одевать направители (направляющие коньки) на концы рельсов, находясь в зоне предполагаемого движения пакета.
Требования безопасности при подъеме и перемещении груза
Перед каждой операцией по подъему и перемещению груза старший стропальщик должен лично подавать соответствующий сигнал машинисту укладочного крана или сигнальщику.
Перед подачей сигнала машинисту укладочного крана о подъеме груза стропальщик, работающий внизу (на пути у рельсошпальной решетки), должен:
убедиться, что на грузе надежно закреплены грузозахватные приспособления, и он ничем не удерживается;
- проверить, нет ли лежащих на грузе незакрепленных деталей и инструмента;
- убедиться, что груз не может во время подъема за что-либо зацепиться;
- убедиться в отсутствии людей возле груза, между поднимаемым грузом и укладочным краном, его отбойной плитой, опорами контактной сети или иными обустройствами, расположенными рядом с рельсошпальной решеткой или блоком стрелочного перевода.
При подъеме, перевороте и перемещении груза стропальщик, работающий внизу, должен:
- предварительно подать сигнал для подъема груза на высоту от 200 до 300 мм, проверить при этом правильность установки траверсы, устойчивость крана и действие тормозов и только после этого подавать сигнал о подъеме груза на необходимую высоту. В случае необходимости исправления положения траверсы или стропов при перевороте звена груз должен быть обязательно опущен на надежную опору;
- перед горизонтальным перемещением груза необходимо убедиться, что он поднят на высоту не менее чем на 0,5 м выше встречающихся на его пути предметов;
- укладку звеньев рельсошпальной решетки или элементов стрелочного перевода производить с учетом требований руководства по эксплуатации укладочного крана, на котором выполняются эти работы.
При подъеме и перемещении груза все стропальщики, работающие на верху (на кране), должны перейти на откидные площадки крана.
При подъеме и перемещении груза стропальщику запрещается:
- находиться на грузе во время подъема или перемещения, а также допускать подъем или перемещение груза, если на нем находятся другие лица;
- находиться под поднятым грузом или допускать нахождение под ним или в опасной зоне других людей:
- оттягивать или выравнивать груз руками, а не оттяжками или баграми, во время его подъема, перемещения, переворота и опускания;
При подъеме или перевороте звена стропальщики и другие рабочие должны находиться:
- дальние от крана, работающие внизу, - на расстоянии не менее 2 метров от переднего края звена;
- ближние от крана, работающие внизу, - за порталом крана;
- стропальщики, работающие наверху крана, - на его откидных площадках.
Если при подъеме, перемещении или перевороте звена произойдет отрыв с одной стороны шпалы то необходимо опустить груз на балласт, отсоединить второй конец шпалы, и только после этого продолжить погрузку. Шпалы должны быть убраны с пути только после погрузки этого звена .
Требования безопасности при опускании груза
Перед опусканием груза стропальщик обязан предварительно осмотреть место, на которое необходимо опустить груз, и убедиться в невозможности опрокидывания или сползания груза.
Стропальщику запрещается устанавливать груз на временные подставки, подсыпки, трубы и кабели.
При стыковании звена необходимо удерживать его направляющей штангой за головки рельсов на расстоянии не ближе 40 см от стыка, при этом ноги стропальщиков и монтеров пути должны находиться на расстоянии не менее 0,3 м от рельсов и шпал до момента его полного опускания на балласт.
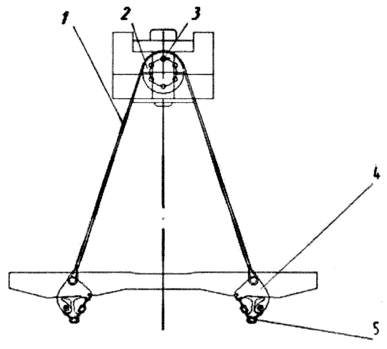
Схема строповки и переворота звена путевой решетки при укладке пути приведена на рисунке 7.3
Рисунок 7.3. Схема зацепки и переворота звена при укладке рельсошпальной решетки.
7.2 Защита склада ГСМ от удара молнии
Для специальных объектов (нефтеперерабатывающие предприятия; заправочные станции; производства петард и фейерверков; склады горюче смазочных материалов) минимально допустимый уровень надежности защиты от прямых ударов молнии устанавливается в пределах 0,9-0,999 в зависимости от степени его общественной значимости и тяжести ожидаемых последствий от прямых ударов молнии по согласованию с органами государственного контроля.
Последствия могут оказаться тяжёлыми - пожары и взрывы внутри объекта и в непосредственной близости.
Необходимо выполнить систему молниезащиты и заземления для склад ГСМ:
длина: 24 м;
ширина: 8 м;
высота: 4,3 м;
грунт: суглинок, удельное сопротивление грунта: 100 Ом*м.
Общее сопротивление растеканию заземлителей (в том числе естественных) всех повторных заземлений PEN-проводника каждой ВЛ в любое время года должно быть не более 10 Ом при линейном напряжении 380 В источника трехфазного тока или 220 В источника однофазного тока. На складе ГСМ должен быть общий контур заземления для электрооборудования, защиты от статического электричества, прямых ударов и вторичных проявлений молний. Сопротивление растеканию тока заземлителей не должно быть более 10 Ом.
Защита склада ГСМ от разрядов молнии осуществляется с помощью молниеприемников. Система молниезащиты состоит из молниеприемника, непосредственно воспринимающего на себя разряд молнии и заземлителя.
Комплекс мероприятий:
- установка двух отдельно стоящих молниеприемников-мачт высотой 17 м;
- молниеприемник заземляется 3-мя электродами;
- монтаж заземляющего устройства, состоящего из 6 вертикальных электродов D=14 мм, длиной 3 м, объединенных горизонтальным электродом (омедненная проволока 10 мм). Расстояние от электрода до молниеприемной мачты 1 м, расстояние между электродами 5 м, заглубление 0,5 – 0,7 метра.
Расчет сопротивления заземляющего устройства:
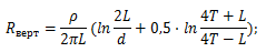
Сопротивление вертикального электрода:
где ρэкв – эквивалентное удельное сопротивление грунта, Ом·м;
L – длина вертикального электрода, м;
d – диаметр вертикального электрода, м;
T– заглубление - расстояние от поверхности земли до заземлителя, м;
где t – заглубление верха электрода, м
Сопротивление горизонтального электрода:
где D – диаметр горизонтального электрода, м;
t - глубина заложения горизонтальной сетки, м;
Lгор – длина горизонтального электрода, м.
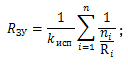
Полное сопротивление заземляющего устройства:
где n – количество комплектов;
kисп – коэффициент использования;
Расчетное сопротивление заземляющего устройства составляет 2,6 Ом, что меньше требуемого 10 Ом.
Расчет параметров зоны защиты двойного стержневого молниеотвода:
Минимальная высота зоны посередине между молниеотводами:
Ширина горизонтального сечения в центре между молниеотводами на высоте hx:
Исходные данные:
h = 17 м
L = 35 м
h0 = 0.8h = 13,6 м
r0 = 0.8h = 13.6 м
Lmax = 4.75h = 80,75 м
Lc = 2.25h = 38,25 м
для hx = 6 м:
Lmax; Lc; h0; r0 – табличные значения.
Таблица 7.1 - Расчет зоны защиты одиночного тросового молниеотвода
| Надежность защиты Рз | Высота молниеотвода h, м | Высота конуса h0, м | Радиус конуса r0, м |
| 0,9 | От 0 до 150 | 0,87h | 1,5h |
| 0,99 | От 0 до 30 | 0,8h | 0,95h |
| От 30 до 100 | 0,8h | [0,95-7,14µ10-4(h-30)]h | |
| От 100 до 150 | 0,8h | [0,9-10-3(h-100)]h | |
| 0,999 | От 0 до 30 | 0,75h | 0,7h |
| От 30 до 100 | [0,75-4,28·10-4(h-30)]h | [0,7-1,43·10-3(h-30)]h | |
| От 100 до 150 | [0,72-10-3(h-100)]h | [0,6-10-3(h-100)]h |
Таблица 7.2 - Расчет параметров зоны защиты двойного стержневого молниеотвода
| Надежность защиты Рз | Высота молниеотвода h, м | Lmax, м | L0, м |
| 1 | 2 | 3 | 4 |
| 0,9 | От 0 до 30 | 5,75h | 2,5h |
| От 30 до 100 | [5,75-3,57·10-3(h-30)]h | 2,5h | |
| От 100 до 150 | 5,5h | 2,5h | |
| 0,99 | От 0 до 30 | 4,75h | 2,25h |
| От 30 до 100 | [4,75-3,57·10-3(h-30)]h | [2,25-0,01007 (h-30)]h | |
| От 100 до 150 | 4,5h | 1,5h |
Продолжение 7.2
| 1 | 2 | 3 | 4 |
| 0,999 | От 0 до 30 | 4,25h | 2,25h |
| От 30 до 100 | [4,25-3,57·10-3(h-30)]h | [2,25-0,01007 (h-30)]h | |
| От 100 до 150 | 4,0h | 1,5h |
Вывод:
Разобравшись с вопросами построения молниезащиты и заземления на складах ГСМ и требованиями к ним, стоит также отметить важность поддержания этих систем в исправном и рабочем состоянии. Ежегодно в летний период должны проводиться плановые проверочные и измерительные работы. Они включают в себя проверку состояния всех токоотводов, их соединений, измерение сопротивления заземляющих электродов. Если сопротивление заземляющего контура на 20% больше предельно допустимого, следует установить дополнительные электроды. Замена токоотводов и заземлителей производится в том случае, если их площадь сечения уменьшилась на 25%.
Правильное планирование системы защиты от грозы и заземления склада ГСМ, а также поддержание ее в рабочем состоянии, позволит защитить людей, животных и окружающую среду от негативных последствий удара молнии.
ЗАКЛЮЧЕНИЕ
















