1 (1131253), страница 29
Текст из файла (страница 29)
Монитор не может определить, где произошел разрыв кольца. Поэтому, если какая-то станция заметит отсутствие соседа, она генерирует BEACON-кадр. По мере распространения этого кадра по кольцу определяется, какие станции живы, а какие нет, и последние удаляют из кольца с помощью кабельного центра.
Нет механизма, позволяющего сменить существующий монитор.
Билет № 31.
Сравнение стандартов 802.3, 802.4 и 802.5. Стандарт IEEE 802.2: управление логическим каналом.
Сравнение 802.3, 802.4 и 802.5.
Начать следует с того, что все три стандарта используют примерно одинаковую технологию и имеют примерно одинаковую производительность. Инженеры могут бесконечно спорить о том, что лучше - коаксиал или витая пара, но рядовому пользователю, компьютерному обывателю это, как правило, не важно.
Достоинства 802.3
-
Очень широко используется, имеет огромную инсталляционную базу.
-
Широко известен, многие инженеры знают как с ним работать.
-
Протокол простой.
-
Станция может быть подключена без остановки сети.
-
Используется пассивный кабель, модемы и прочее оборудование не требуется.
-
При малой загрузке задержки практически равны 0.
Недостатки 802.3
-
Есть значительный аналоговый компонент.
-
Минимальная длина кадра 64 байта.
-
Не детерминирован, что плохо для приложений реального времени.
-
Нет приоритетов.
-
Ограничена длина кабеля.
-
С ростом скорости передачи время состязаний не сокращается, следовательно минимальная длина кадра растет.
Достоинства 802.4
-
Используется обычный телевизионный кабель, высоко надежный.
-
Более детерминирован чем 802.3.
-
Минимальная длина кадра короче.
-
Поддерживает приоритеты.
-
Есть гарантированная доля трафика.
-
Прекрасная эффективность и пропускная способность при высокой загрузке.
-
Коаксиальный кабель может поддерживать несколько каналов.
Недостатки 802.4
-
Используется много аналоговой аппаратуры.
-
Очень сложный протокол.
-
Большие задержки при низкой загрузке.
-
Используется относительно немногими пользователями.
-
Нельзя использовать оптоволокно.
Достоинства 802.5
-
Использует соединения точка-точка: полностью цифровое и простое в обращении.
-
Можно использовать любую физическую среду - от почтовых голубей до оптоволокна.
-
Стандартная витая пара дешева и проста в обращении.
-
Наличие кабельного центра делает кольцо с маркером единственным стандартом, где нарушения физической среды могут восстанавливаться автоматически.
-
Есть приоритеты, однако схема их установки не так справедлива, как в шине с маркером.
-
Небольшой размер минимального кадра и неограниченный размер передаваемого кадра.
-
Прекрасная пропускная способность при высокой загрузке, как и у 802.4.
Недостатки 802.5
-
Основной недостаток - наличие централизованного монитора, который является критическим компонентом.
-
Из-за схемы передачи маркера относительно большие задержки при небольшой загрузке.
Таким образом, все три платформы более или менее равны, и дело, скорее всего, будут решать отдельные нюансы, значения параметров, особенности конкретных приложений.
Стандарт IEEE 802.2: управление логическим каналом.
До сих пор мы ни слова не сказали о надежности коммуникаций через 802.х. Как правило, сети типа 802 обеспечивают дейтаграммный сервис. Иногда этого достаточно. Например, при передаче IP-пакетов никаких гарантий не требуется и не предполагается. Поэтому IP-пакет просто вставляется в кадр и передается. Если он потерялся, то так тому и быть.
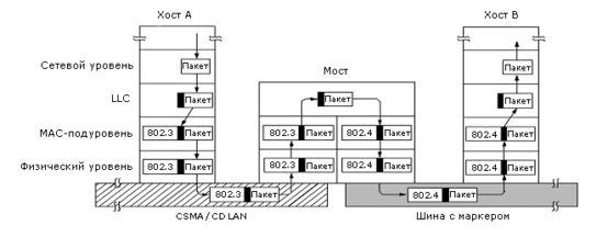
Тем не менее, есть системы, где нужен контроль ошибок, а управление потоком весьма желательно. IEEE создало такой протокол, который работает над всеми 802.х. Он называется LLC (Logical Link Control). Он скрывает различия между версиями 802, определяя единый интерфейс и формат для сетевого уровня. LLC-протокол образует верхний уровень канального протокола с МАС-протоколом под ним так, как это показано на рисунке 4-29.
LLC предоставляет три вида сервиса: ненадежный: дейтаграммы без уведомления, дейтаграммы с уведомлением и надежный сервис, ориентированный на соединение.
Рисунок 4-29. Действие LCC-протокола: (а) его расположение; (b) форматы протокола
Билет № 32.
Мосты: организация, основные функции, принципы функционирования. Мосты из 802.х в 802.х. Сравнение мостов для 802.х.
Довольно часто в организации возникает потребность соединить между собой несколько ЛВС. Этой цели служат специальные устройства, называемые мосты, которые функционируют на уровне канала данных. Это означает, что это устройство не анализирует заголовки пакетов сетевого уровня и выше и, таким образом, может просто копировать пакеты IP, IPX, OSI, в то время как маршрутизаторы могут работать только с определенными пакетами.
Далее мы рассмотрим устройство мостов, а частности, для соединения сетей в стандарте 802.3, 802.4, 802.5. Но прежде рассмотрим типичные ситуации, где применяются мосты. Их как минимум шесть:
-
Многие подразделения в организации имеют свои собственные локальные сети. Например, сети факультетов в университетах, отделы в институтах и т.п. В силу различий стоящих перед ним задач, они используют разные приложения и, что естественно, сети, отличные от сетей других подразделений. Рано или поздно наступает момент, когда необходимо интегрировать информационные потоки всей организации и, соответственно, объединять сети между собой.
-
Организация может занимать несколько зданий и, возможно, будет целесообразно в каждом здании иметь свою сеть, объединив их через мосты.
Иногда, при высоких рабочих нагрузках, приходится разбивать сеть на несколько, с целью локализации трафика в каждой подсети. Например, ясно, что класс рабочих станций для студентов лучше оформлять как самостоятельную сеть, локализовав трафик в этой сети: к чему распространять по всему факультету трафик с фотографиями и музыкой?
-
В некоторых случаях причиной для использования моста может служить большое расстояние между объединяемыми сетями. Дело в том, что, используя мост, можно увеличить длину сегмента.
-
Мост может увеличить надежность сети. В локальной сети один узел может нарушить работоспособность сети в целом. Мосты, размещенные в критических точках сети, подобно запасным пожарным выходам, могут заблокировать такой узел и предотвратить нарушение работы системы в целом.
-
Мост может повысить безопасность сети. Большинство интерфейсов в ЛВС имеют специальный режим, при котором компьютер получает все пакеты, проходящие в сети, а не только адресованные ему. Всякого рода злоумышленники и просто любопытствующая публика просто обожают эту возможность. С помощью правильно расставленных мостов можно добиться, чтобы определенный трафик проходил лишь по определенным маршрутам, где он бы не мог попасть в чужие руки.
Теперь, когда мы знаем, для чего нужны мосты, рассмотрим, как они работают. Рисунок 4-31 показывает работу простого двухпортового моста.
Рисунок 4-31. Двухпортовый мост между 802.3 и 802.4
Мосты из 802 в 802.
На первый взгляд может показаться, что построить мост из 802 в 802 не сложно. Но это не так. У каждой из девяти возможных пар есть свои трудности. Но прежде чем начать рассматривать эти индивидуальные проблемы, начнем с общих. Первая - каждый стандарт имеет свой собственный формат кадра. Они показаны на рисунке 4-32. Для этих различий не было никаких технических оснований. Просто корпорации, поддерживавшие их разработки, - Xerox, GM, IBM - не захотели пойти на встречу друг другу и что-то изменить у себя. В результате при переходе из сети в сеть требуется реформатирование кадра, на что тратится время процессора, перевычисляется контрольная сумма. Ничего этого не потребовалось бы, если бы три комитета смогли договориться о едином формате.
Рисунок 4-32. Форматы кадров IEEE 802
Следующая проблема - разные сети могут работать с разной скоростью. Если передача идет из скоростной сети в медленную, то мост должен обладать достаточным буфером. Эта проблема может усугубляться непостоянством скорости передачи из-за коллизий, как, например, в 802.3. К тому же несколько сетей могут посылать трафик одной и той же сети, что опять приведет к перекосу скоростей.
Другой тонкой, но важной проблемой является проблема моста как источника временной задержки, которая может влиять на тайм-аут на верхних уровнях. Предположим, что сетевой уровень над 802.4 пытается послать длинное сообщение в виде последовательности кадров. После отправки последнего кадра таймер устанавливается на ожидание уведомления о получении. Если сообщение проходит через мост с медленной 802.5, то есть опасность, что тайм-аут наступит прежде, чем последний кадр будет передан в медленную сеть. Сетевой уровень решит, что все сообщение утеряно, и начнет все сначала. После нескольких попыток сетевой уровень сообщит транспортному, что получатель отсутствует.
Третьей, и наиболее серьезной проблемой является то, что все три стандарта имеют разную максимальную длину кадра. Для 802.3 на 10 Мбит/сек. это 1500 байт, для 802.4 - 8191 байт, для 802.5 максимальная длина ограничена временем удержания маркера. Последняя величина по умолчанию имеет значение 10 мсек., что соответствует 5000 байтам.
Очевидная проблема возникает, когда длинный кадр надо доставить в сеть с короткими кадрами. Разбиение кадра на части не является задачей данного уровня. Это не значит, что таких протоколов не было создано, просто стандарты 802 не предусматривают надлежащих средств. Слишком длинные кадры просто сбрасываются.
Теперь рассмотрим все девять пар.
Рисунок 4-33. Проблемы, возникающие при построении мостов из 802.x в 802.y
802.3 - 802.3
Здесь есть только одна опасность, что сеть, в которую передают, сильно перегружена и мост не успевает вставлять свои кадры. Есть опасность переполнения буфера у моста, в случае чего мост начнет сбрасывать кадры. Такая проблема потенциально есть всегда и мы о ней здесь более упоминать не будем. По отношению к двум другим стандартам все проще, так как мост обязательно получит маркер и свой временной слот на передачу кадров.
802.4 - 802.3
Здесь две проблемы. Первая - кадры из 802.4 содержат биты приоритета, а в кадрах 802.3 таких нет. В результате, если две 802.4 взаимодействуют через 802.3, то информация о приоритетах будет уничтожена.
Вторая проблема вызвана исключительно тем, что в кадре 802.4 есть бит временной передачи маркера получателю для уведомления. Что делать мосту, если ему поступит такой кадр? Послать подтверждение самому нельзя - получатель может быть неработоспособен. С другой стороны, если не дать подтверждения, то отправитель решит, что получатель неработоспособен, что может быть не так, и предпринять соответствующие меры. Похоже, что у этой проблемы нет решения.
802.5 - 802.3
Здесь мы имеем проблемы, аналогичные тем, что мы обсуждали выше. Например, есть биты А и С, которые используются для анализа информации о доставке и получении кадра. Как поступать мосту с такими кадрами? Если мост сам начнет имитировать за получателя значения этих разрядов, то очевидно, здесь могут возникать трудноисправимые ошибки. Ситуация выглядит так, что появление моста может менять семантику отдельных разрядов кадра, и как решить эту проблему - представить трудно.
















