Автореферат (1094958), страница 2
Текст из файла (страница 2)
2. Усовершенствованная теория расчета температурных полей и напряжений рабочих валков полосовых станов горячей прокатки, позволяющая повышать эксплуатационную надежность стана.
3. Теория продольной устойчивости полосы при ее боковом обжатии вертикальными валками полосового стана и методика выбора режима натяжения для снижения нагрузок на рабочие валки.
4. Теория минимизации числа проходов при прокатке полос за счет более полного использования ресурса пластичности на основе созданной диаграммы предельной пластичности, позволяющая уменьшить суммарный расход энергии.
5. Методика физического моделирования условий формирования структуры низкоуглеродистой стали при прокатке полос на НШСГП для минимизации энергосиловых параметров.
6. Основные закономерности формирования структуры низкоуглеродистой стали Ст3сп при непрерывной горячей прокатке и алгоритм расчета настройки чистовой группы клетей НШСГП на производство проката с заданными структурой и механическими свойствами, оптимизацией нагрузки по клетям и увеличением производительности стана.
Апробация результатов диссертации. Основные материалы работы лично доложены и обсуждены на: семинаре V-ой Уральской школы металловедов-термистов «Вопросы металловедения и термической обработки стали и титановых сплавов», г. Киров, 1977 г.; Всес. научно-техн. семинаре «Автоматизация листовых станов горячей прокатки», г. Кривой Рог, 1977 г.; Всес. научно-техн. конференции «Современные проблемы повышения качества металла», г. Донецк, 1978 г.; Всес. научно-техн. семинаре «Прогрессивные технологические процессы в производстве холоднокатаного листа», г. Липецк, 1981 г.; Всес. научно-техн. семинаре «Прогрессивные технологические процессы в производстве холоднокатаного листа», г. Липецк, 1985 г.; VII-ой Всес. научно-техн. конференции «Теплофизика технологических процессов», г. Тольятти, 1988 г.; Республиканской научно-практ. конференции КамАЗ – КамПИ «Программно-целевое проектирование технологий», г. Набережные Челны, 1989 г.; Республиканской научно-техн. конференции «Наука – производству», г. Набережные Челны, 1990 г.; 7-ой Международной научно-техн. конференции «Моделирование и исследование сложных систем», г. Севастополь, 2000 г.; Всес. научно-техн. коференции «Ресурсоэнергосбережение – XXI век», г. С.-Петербург, 2000 г.; Международной научно-техн. конференции «Теория и практика производства проката», г. Липецк, 2001 г.; 4-ом Конгрессе прокатчиков, г. Магнитогорск, 2001 г.; VI-ом Международном Конгрессе «Кузнец-2002. Состояние, проблемы и перспективы развития КШП, КП машин и обработки металлов давлением», г. Москва, 2002 г.; научно-техн. коференции МГВМИ и Союза кузнецов «Состояние, проблемы и перспективы развития металлургии и обработки металлов давлением» г. Москва, 2003 г.; II-ой Всероссийской межвуз. научно-практ. конференции «Проблемы повышения качества подготовки специалистов в области художественной обработки металлов», г. Москва, 2004 г.; Международной научно-техн. конференции «Теория и практика производства листового проката», г. Липецк, 2005 г.; Бернштейновских чтениях по термомеханической обработке металлических материалов, г. Москва, 2006 г.; Всероссийской научно-техн. конференции «Состояние, проблемы и перспективы развития металлургии и обработки металлов давлением», г. Москва, 2007 г.; Международной научно-техн. конференции «Теория и практика производства листового проката», г. Липецк, 2008 г.; Международной научно-техн. конференции «Нанотехнологии и наноматериалы», г. Москва, 2009 г.
Публикации. Основное содержание диссертационной работы опублико-
вано в монографии, 50 научных статьях, в том числе 22 публикациях в журналах, рекомендованных ВАК РФ, и одном изобретении.
Структура и объем работы. Диссертация состоит из введения, 8 глав, выводов, 7 приложений. Она изложена на 410 страницах машинописного текста, содержит 100 рисунков, 46 таблиц, список использованных источников содержит 446 наименований.
СОВЕРШЕНСТВОВАНИЕ МЕТОДОВ ПРОЕКТИРОВАНИЯ ОБОРУДОВНИЯ ДЛЯ ПРОИЗВОДСТВА ПЛОСКОГО ПРОКАТА
В связи с интенсификацией процессов прокатки известных сплавов и освоением производства новых материалов необходимо создание усовершенствованных конструкций оборудования на основе новых знаний о сопротивлении пластической деформации, предельной пластичности, распределении пластической деформации по толщине полосы, температурном режиме работы и напряжениях валков, основных закономерностях формирования заданной структуры и физико-механических свойств. Эти данные необходимы еще для выбора и оптимизации состава и компоновки технологического оборудования, определения максимально допустимых значений силовых параметров, а также совершенствования конструкции систем охлаждения валков (рис. 1). Разработка режимов прокатки на основе выбора областей с повышенной пластичностью и однородной структурой металла способствует снижению нагрузок на рабочие узлы оборудования, уменьшению деформационной поврежденности металла и улучшению качества поверхности готового проката. Использование усовершенствованной теории расчета температурных полей, термических и остаточных напряжений валков позволяет отрабатывать основные параметры системы их охлаждения для повышения эксплуатационной надежности и долговечности прокатных станов.
| Рис. 1. Совершенствование методов технологического проектирования оборудования листопрокатных станов |
Анализ действующих компоновок и состава оборудования для производства полос и лент показал их несовершенство. Скрытые резервы металла по структуре и пластичности используются далеко неполно, разнозернистость и разброс механических свойств готовых полос значительны и требуют сущест-венного улучшения.
Для моделирования условий формирования структуры низкоуглеродистой стали на НШСГП на базе лабораторного двухвалкового стана 250×400 была создана экспериментальная автоматизированная установка, у которой нижний прокатный валок выполнен трехступенчатым. При прокатке образцов за один и два прохода установка воспроизводит основные температурно-деформационные, скоростные и временные параметры прокатки полос в чистовой группе НШСГП.
С
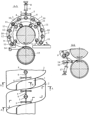
целью повышения производительности и улучшения качества продукции по структуре и механическим свойствам была усовершенствована конструкция нереверсивной двухвалковой прокатной клети путем применения разработанного обводного устройства, защищенного авторским свидетельством на изобретение (рис. 2).
Рис. 2. Устройство нереверсивной двухвалковой клети для параллельной горячей прокатки полос:
1 – верхний валок, 2 – кожух, 3 – приводные ролики, 4 – тяги, 5 – коромысла, 6 – ось, 7 – пневмоцилиндр, 8 – ось, 9 – датчик, 10 – промежуточные гибкие элементы, 11 – пары транспортирующих роликов, 12 – непривоные ролики, 13 – направляющие, 14 – отсекатель, 15 – нижний валок, 16 – заслонка, 17 – пневмо-цилиндр
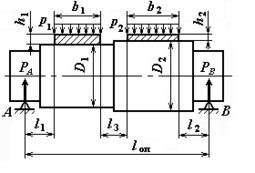
Использование данного технического решения подтверждено соответствующим расчетом прочности нижнего модернизированного ступенчатого валка при действии усилий прокатки на его двух ступенях (рис. 3) и опытно-промышленным опробованием конструкции в АОА «Авиапромналадка».
Рис. 3. Схема к расчету ступенчатого валка
Данная конструкция обеспечивает сокращение междеформационных пауз при горячей прокатке полос, улучшение качества полос, снижение тепловых потерь и сокращение числа клетей на 8-10 %.
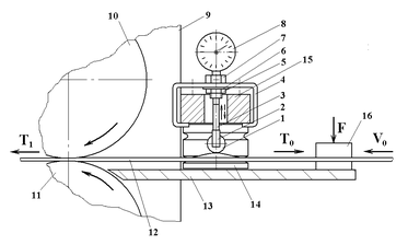
Для экспериментального исследования продольной устойчивости полос при прокатке на промышленном полосовом двухвалковом стане 260×400 с вертикальными калиброванными роликами без натяжения и с натяжением раската был разработан роликовый измеритель выпучивания (рис. 4).
Рис. 4. Схема измерения выпучивания полосы на двухвалковом стане 260×400:
а) роликовый измеритель выпучивания полосы
1 – контактный ролик; 2 – вилка; 3 – стержень; 4 – скоба; 5 –гайка; 6 шайба; 7 – резьбовая втулка; 8 – индикаторная часовая головка;
б) детали стана
9 – станина; 10, 11 – рабочие валки; 12 – прокатываемая полоса; 13 – приемный стол; 14 – правый вертикальный ролик; 15 – брус; 16 – прижим
Получили зависимости величины выпучивания прокатываемых полос от абсолютного обжатия их кромок, некоторые из которых приведены на рис. 5.
Рис. 5. Потеря устойчивости полос при обжатии боковых кромок без натяжения (1, 3) и с задним натяжением (2, 4):
Л68 0,78×129,6 мм (1, 2 - мягкое состояние) и МНц15-20 1,15×98 мм (3, 4 – мягкое состояние)
Получены количественные оценки положительного воздействия переднего и заднего натяжений на продольную устойчивость раската.
Разработка методики расчета температурных полей и напряжений рабочих валков
Для современных полосовых станов горячей прокатки закономерна тенденция интенсификации охлаждения рабочих валков за счет увеличения расхода Q и давления p воды, а также уменьшения расстояния l от коллекторов до поверхности валков.
Температурное поле рабочего валка полосового стана горячей прокатки определяется известным уравнением теплопроводности:
и краевыми условиями
где
- текущая температура на радиусе
в момент времени
, ºС;
- коэффициент температуропроводности,
;
- коэффициент теплопроводности,
;
- коэффициент теплоотдачи,
;
- температура подката, ºС;
- средняя начальная температура валка, ºС;
- радиус бочки валка, м.
При длительной работе полосового стана температура рабочих валков за текущий часовой период определяется по усовершенствованной нами методике Н.С. Кошлякова и А.В. Лыкова:
















