Реферат-курсовая. Проблемы очистки сточных вод (1094344), страница 7
Текст из файла (страница 7)
Азотнокислотный метод разложения фосфатов позволяет наряду с получением NPK-удобрений попутно выделить из сырья такие ценные вещества, как стронций, находящий применение в различных отраслях народного хозяйства. На рисунке 11 приведена схема безотходного получения нитроаммофоски и попутных продуктов – оксидов редкоземельных элементов, фторида кальция, аммиачной селитры и т. п.
-
Оценка экономического ущерба сброса сточных вод.
Сточные воды химических предприятий представляют собой многокомпонентные концентрированные растворы сильных электролитов с высоким содержанием твердой фазы и обладающие значительной коррозионной и накипеобразующей активностью. В таблице 7 приведен состав сточных вод химического завода после их усреднения в шламонакопителях.
Таблица 7
| Показатели | Вода | ||||
| Сточная | Оборотная охлаждающая | поливная | Питательная для котлов (p = 1,5 мПа ) | Питьевая (ГОСТ 2874 - 82) | |
| Взвешенные вещества, г/дм3 ХПК, мг О2/ дм3 Общее солесодержание, г/ дм3 Содержание ионов, г/ дм3*103: Ca2+ Mg2+ Cl1- SO42- Азот, г/ дм3*103: аммонийный нитратный рН Сухой остаток, г/ дм3*103 Общая жесткость, ммоль/ дм3 | 12 8 11 – 15 480 7,2 6000 8000 4 14 12 - 20 | 1,0 - 1,5 100 - 400 2000 - - 7-10 - - | - - - 180 100 800 650 150 - 6,3 – 8,5 - - | - 1,0 10*10-3 - - - - - - - - 0,17 | - 1,0 - 180 50 350 500 0,05 - 6,5 – 8,5 1000 5 |
При производстве NPK-удобрений в сточных водах образуется большое количество (по массе) взвешенных частиц (см. таблицу 7), содержание которых определяет наличие соединений SrCO3 и CaF2.
Определим общую массу (тонны) взвешенных частиц, сброшенных со сточными водами. Учитывая, что сточные воды содержат взвешенные частицы в количестве 12 г/ дм3, или 12*10-3 т/м3, а объемный расход составляет 1200 м3/ч, рассчитаем сброс взвешенных частиц в окружающую среду в год:
12*10-3*1200*16*261 = 60134,4 тонны в год, при условии, что в году 261 рабочий день по 2 смены (8 часов).
По формуле оценки экономического ущерба от загрязнения водного бассейна найдем стоимость ущерба, произведенного в результате сброса взвешенных частиц в окружающую среду.
Yэу = γ*δж*М (руб/год) (13)
где γ – величина удельного ущерба, от годовых сбросов, постановление РФ № 632 от 28.02.96 и равная γ = 140051,5 руб./тусловн с учетом ежегодной инфляции в среднем равной 11%.
δж – безразмерная константа, определяющая среднюю опасность загрязнения водоемов (временная типовая методика, определения экономической эффективности осуществления природоохранных мероприятий и оценки экономического ущерба, причиняемого народному хозяйству загрязнением окружающей среды (Москва, Госстрой, 1983г). δж= 2,6
М – приведенная масса годового сброса загрязняющих веществ данным источником в водохозяйственный участок. q
М = ∑ Ajmj (тусл/год), (14)
i = 1
q – общее число примесей, сбрасываемых в водохозяйственный участок.
mj – общая масса годового сброса загрязняющего вещества j типа (т/год).
Aj – показатель относительной опасности сброса загрязняющего вещества j типа в водохозяйственный участок (см. таблицу 2).
Aj = 1/Cпдк (15)
1) Спдк взвешенных частиц для водоемов рыбохозяйственного назначения составляет 9,75 мг/л. Следуя из формулы (15) Aвч = 1/9,75= 0,102564
2) Aвч = 0,102564; mвч = 60134,4 тонны в год; q = 1.
По формуле (14) М = 0,102564*60134,4 = 6167,63 (т/год)
3) По формуле (13):
Yэу = 140051,5 *2,6*6167,63 = 2245843166 руб/год.
Данная сумма составляет экономический ущерб от сброса растворенных в воде осадков SrCO3 и CaF2 в окружающую среду.
-
Затраты, понесенные в результате внесения в систему водоочистки отстойников горизонтального типа.
Полученный годовой экономический ущерб можно значительно снизить путем уменьшения потребляемой предприятием воды посредством внедрения в производство замкнутых систем водопользования (см. рис. 10). Данные системы позволяют пускать на вторичное производство более, чем 50 % от общего объема воды, задействованного в производстве. Это означает, что при поступлении в производство объема воды, равного 100 %, в окружающую среду сбрасывается меньше половины данного объема, что позволяет экономить многие миллионы рублей в год.
Процесс получения NPK-удобрения характеризуется образованием осадков SrCO3 и CaF2, сброс которых приводит к внушительному экономическому ущербу (см. пункт 1 данного раздела). Выброс осадков в окружающую среду можно предотвратить путем внесения в систему очистки сточных вод отстойников горизонтального типа (на примере отстойника SJ). Причем в отстойнике будет осаждаться только 75% взвешенных частиц, остальные 25% оседают в фильтрационных установках.
Отстойник SJ предназначен, прежде всего, для отделения и задерживания крупных загрязнений, которые находятся в сточной воде, что является важным для обеспечения правильной работы дальнейших ступеней очистки. Ввиду достаточного объема и, следовательно, времени отстаивания, он одновременно служит для сепарации частично эмульгированного масла, понижает температуру и ударно повышенную концентрацию на входе в сепаратор. Установка полупогруженной перегородки на входе в отстойник позволяет использовать всю поверхность отстойника и не допускает проскока стоков без отстаивания.
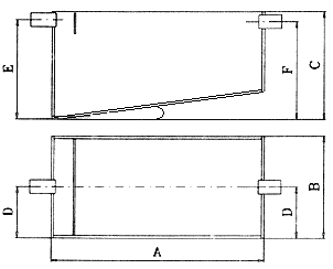
Рис. 12. Принципиальная схема отстойника SJ.
ТЕХНИЧЕСКИЕ ХАРАКТЕРИСТИКИ
| Тип - расход л/с | SJ 2 | SJ 5 | ||||
| Нагрузка | низкая | средняя | высокая | низкая | средняя | высокая |
| Размер А, мм | 1200 | 1800 | 5000 | 1200 | 1800 | 5000 |
| Размер B, мм | 800 | 1200 | 800 | 1200 | ||
| Размер C, мм | 1280 | |||||
| Размер D, мм | 400 | 600 | 400 | 600 | ||
| Размер E, мм | 1180 | |||||
| Размер F, мм | 1160 | |||||
| Диаметр подводящего и отводящего трубопровода, мм | 160 | |||||
| Вес, кг | 140 | 220 | 490 | 140 | 220 | 490 |
| Объем отстойника, л | 625 | 1660 | 5000 | 625 | 1660 | 5000 |
| Тип - расход л/с | SJ 10 | SJ 20 | ||||
| Нагрузка | низкая | средняя | высокая | низкая | средняя | высокая |
| Размер А, мм | 1600 | 2000 | 3800 | 1600 | 2000 | 3800 |
| Размер B, мм | 1000 | 1400 | 2000 | 1000 | 1400 | 2000 |
| Размер C, мм | 1280 | |||||
| Размер D, мм | 500 | 700 | 1000 | 500 | 700 | 1000 |
| Размер E, мм | 1130 | |||||
| Размер F, мм | 1130 | |||||
| Диаметр подводящего и отводящего трубопровода, мм | 200 | |||||
| Вес, кг | 190 | 260 | 450 | 190 | 260 | 450 |
| Объем отстойника, л | 1125 | 2160 | 6290 | 1125 | 2160 | 6290 |
Установка состоит из пластикового резервуара с полупогруженной перегородкой на входе. Загрязненная вода поступает по подводящему трубопроводу в отстойник SJ. В резервуаре происходит сепарация крупных загрязнений и одновременно гомогенизация поступающей воды. Вода, очищенная от механических загрязнений, стекает по отводящему трубопроводу и следует на дальнейшую переработку. Резервуар и перегородки сварены из стеновых элементов из интегрированного полипропилена MOSTEN 52 492. Подводящий и отводящий трубопроводы (ПВХ) уплотнены резиновыми кольцами. Швартовы резервуара выполнены из полипропиленовых канатов. Примененный материал отстойника SJ гарантирует его коррозионную стойкость, и дальнейшие защитные покрытия не нужны.
Учитывая объемный расход воды (1200 м3/ч) целесообразно выбрать отстойник SJ с расходом 20 л/с (1728 м3/сут).















