Реферат-курсовая. Проблемы очистки сточных вод (1094344), страница 3
Текст из файла (страница 3)
Таблица 3
| Название | Взвеш. в-ва, мг/л | ХПК, мг/л | БПКполн, мг/л | Аммонийный азот, мг/л | Фосфаты, мг/л | ПАВ, мг/л |
| Исходная вода | 130-450 | <550 | 90-350 | 5-50 | 6-30 | 4-15 |
| После биохимич. очистки | 15-25 | 75-110 | 10-20 | 2-20 | 15-20 | 1,5-3,0 |
| После физико-химич. очистки | 3-15 | 46-109 | 10-25 | 18-30 | 0,6-2,2 | 0,5-0,8 |
-
Гидромеханическая очистка.
Гидромеханическую очистку применяют для удаления из производственных сточных вод нерастворимых примесей. Основными процессами гидромеханической очистки являются:
-
процеживание сточной жидкости на решетках и сетках для выделения крупных примесей и посторонних предметов;
-
улавливание в песколовках тяжелых примесей, проходящих через решетки и сетки;
-
отстаивание воды для удаления нерастворяющихся тонущих и плавающих органических и неорганических примесей, не задерживаемых решетками и песколовками;
-
удаление твердых взвешенных частиц в гидроциклонах;
-
фильтрование через различные фильтры для улавливания тонкодисперсных взвесей.
Процеживание сточных вод осуществляется главным образом для защиты очистных сооружений от засорения и поломки движущихся частей оборудования. Для этого применяют решетки из металлических прутков с углом наклона к горизонту 60 - 75°. Решетки бывают подвижными и неподвижными. Наибольшее распространение получили неподвижные решетки. Скорость сточных вод между прутками принимается равной 0,8 - 1 м/с.
Для удаления более мелких взвешенных частиц используются сита, которые могут быть двух типов: барабанные или дисковые. Барабанные сита представляют собой сетчатый барабан с отверстиями диаметром 0,5 - 1 см. При вращении барабана сточные воды процеживаются через отверстия и освобождаются от твердых примесей, которые смываются с сетки водой и отводятся в желоб.
Для очистки сточных вод от грубодисперсных примесей применяют отстаивание. В данном случае отделение примесей происходит под действием силы тяжести. Для проведения отстаивания чаще всего применяются песколовки, отстойники и осветлители.
Песколовки представляют собой резервуары, в которых сточные воды протекают с небольшой скоростью, обеспечивающей выпадение частиц тяжелых веществ, главным образом песка. Скорость протекания воды должна быть не более 0,3 м/с. При этом выделяется песок с размерами частиц 0,25 мм, который составляет 65 - 70 % от всего количества песка, содержащегося в сточных водах. Песколовки бывают горизонтальными и вертикальными.
Горизонтальная песколовка представляет собой резервуар с прямоугольным или трапециевидным сечением.
Рис. 1. Принципиальная схема горизонтальной песколовки с прямолинейным движением воды:
/ - привод скребкового механизма; 2 - скребковый механизм; 3 - сточная вода; 4 - осевший песок; 5 - приемный бункер для песка; б - приемник грязевого насоса
Очищаемая сточная вода движется слева направо с определенной скоростью, а выпадающий песок подвигается скребковым механизмом 2 к приемному бункеру 5, откуда время от времени удаляется грязевым насосом через приемник. Для обеспечения бесперебойной работы песколовку делают из нескольких отдельных секций.
Вертикальные песколовки имеют прямоугольную или круглую форму, в них сточные воды движутся с вертикальным восходящим потоком со скоростью 0,05 м/с.
Отстойники применяются для выделения из сточных вод грубодисперсных примесей. Когда плотность примесей выше плотности воды, применяют собственно отстойники, если ниже - отстойники-ловушки. Продолжительность отстаивания зависит от состава сточных вод, т. е. от содержания нерастворимых примесей, и составляет в среднем 1,5 -2 ч, иногда до 8 ч.
Различают отстойники периодического и непрерывного действия. По направлению движения воды они делятся на горизонтальные, вертикальные и радиальные.
Горизонтальные отстойники.
Горизонтальный отстойник представляет собой бассейн прямоугольной формы длиной L, шириной В, глубиной Н. (рис. 2)
Рис. 2. Принципиальная схема горизонтального отстойника.
Вода, подлежащая осветлению, подходит с одного торца бассейна, проходит вдоль зоны осаждения 1 отстойника и отводится у противоположного торца. Ниже глубины Н в отстойнике расположена зона накопления 2, в которой собирается и уплотняется выпавший осадок, причем ее дно имеет уклон, обратный ходу воды, не менее 0,02.
Размеры отстойника следует определять в соответствии с рекомендациями СНиП. Если ширина отстойника значительна, то он разделяется продольными перегородками шириной не более 6м. Объем зоны накопления отстойника должен быть рассчитан на прием осадка, выпадающего между его шестками, м3:
(1)
где Qсут – суточная производительность отстойника, м3/сутки;
N
–средняя в период между выпусками осадков расчетная мутность поступающей воды, мг/л;
N
– заданная мутность отстоянной воды, мг/ л;
T – продолжительность периода между выпусками осадков, сут;
δ – расчетная концентрация уплотненного осадка в зоне накопления, г/л.
При изменении N
от 100 до 2500 мг/л значение δ изменяется от 8 до 40 г/л. При значительном содержании взвешенных частиц в осветляемой воде удаление осадка из отстойника должно быть механизировано. С этой целью устанавливаются скребковые транспортеры с насосом или системы дырчатых труб.
Горизонтальные отстойники экономически оправдываются при необходимости осветлять более 15 000 м3/сут воды. Как правило, сооружают не менее двух параллельно работающих горизонтальных отстойников.
В воду перед подачей в отстойник обычно добавляют коагулянт, способствующий укрупнению взвеси. Образующиеся при коагуляции крупные частицы осаждаются во много раз быстрее. В качестве коагулянта чаще всего применяют: сернокислый алюминий, железный купорос, хлорное железо (Al2SO4; FeSO4; FeCl). Глубина зоны осаждения Н=2,5…3,5м. Эффективность отстаивания воды достигает 60 %.
Вертикальные отстойники.
В вертикальных отстойниках осветляемая вода движется вертикально – снизу вверх. Вертикальные отстойники применяют при обработке не более 1,0 м3/с воды.
Вертикальный отстойник представляет собой цилиндрический корпус (рис. 3) с коническим днищем и центральной цилиндрической трубой.
Рис. 3. Принципиальная схема вертикального отстойника:
1 – корпус; 2 – центральная труба; 3 – подающая труба; 4 – сборный желоб; 5 – отводная труба; 6 – гаситель; 7 – труба отвода осадка; ω – скорость движения воды; u – скорость выпадения частиц (в неподвижной воде).
Отстаивание воды осуществляется следующим образом. Вода по тубе 3 подается в верхнюю часть центральной трубы 2 и, опускаясь по ней вниз, проходит через гаситель 6 в нижнюю часть корпуса отстойника. Далее вода движется со скоростью ω ≈ 0,5…0,6 мм/с вверх по кольцевому сечению между корпусом и центральной трубой и отводится через сборный желоб 4 и отводную трубу 5. Взвешенные частицы во время восходящего движения воды стремятся опуститься со скоростью выпадения частиц u вниз.
Все частицы, у которых u ≥ ω будут задерживаться в отстойнике и постепенно оседать в его нижней части, угол конусности которой α = 50°…60° обеспечивает сползание осадка к трубе отвода его по 7. По трубе 7 осадок периодически удаляется из отстойника без выключения его из работы.
Высота цилиндрической части отстойника Н = 4…5м. Диаметр отстойника можно определить по формуле:
(2)
где Q – расчетное количество воды, проходящей через отстойник, м3/с;
β – коэффициент объемного использования отстойника;
d – диаметр центральной трубы определяется по соотношению:
(3)
τ = 900…1200 – время пребывания взвешенной частицы в центральной трубе, с.
Рекомендуется в вертикальных отстойниках иметь отношение D/H
1,5. Вертикальные отстойники, как правило, используют коагулированную воду.
Преимуществом вертикального отстойника является простота удаления осадка, недостатком - большая глубина, затрудняющая их строительство особенно в плотных грунтах. Эффективность осаждения в вертикальных отстойниках на 10 - 20 % ниже, чем в горизонтальных.
Радиальные отстойники.
В настоящее время большое распространение получили радиальные отстойники, схема которых показана на рис. 4.
Радиальные отстойники имеют радиальное направление воды и представляют собой круглый железобетонный резервуар большого диаметра и небольшой глубины - D/H>3,5, где D – диаметр отстойника, Н – глубина отстойника. При увеличении отношения D/H возрастают горизонтальные составляющие скорости движения воды, причем значение скорости по мере продвижения воды от центра к периферии снижается.
Рис. 4. Принципиальная схема радиального отстойника:
1 - железобетонный бассейн; 2 - круговой водослив; 3 - центральная распределительная труба;
-
- приводной механизм, 5 - площадка для обслуживающего персонала; 6 - ферма; 7 - скребки;
8- труба илососа; 9 - приямок
Радиальный отстойник представляет собой круглый бассейн из железобетона диаметром до 50 м. Очищаемая от загрязнений вода подается через центральную распределительную трубу 3 и движется от центра к периферии с постоянно уменьшающейся скоростью, при этом скорость осаждения осадка остается постоянной во все время осаждения. Осветленная вода попадает в круговой водослив 2 у краев бассейна и оттуда по лотку подается к месту назначения. Выпавший осадок с помощью скребков 7, закрепленных на металлических фермах 6, сдвигается к центрально расположенному приямку 9. Если диаметр отстойника превышает 24 м, то ферма опирается концами на тележки, движущиеся по круговому рельсу, уложенному на борту отстойника. Такие отстойники применяются для очистки больших количеств сточных вод - свыше 20 000 м3/сут. Одним из недостатков радиальных отстойников является наличие ферм со скребками, работающих под водой и недоступных для постоянного надзора.
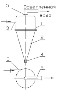
Гидроциклон.
Осаждение взвешенных частиц под действием центробежной силы проводится в гидроциклонах и центрифугах. Для очистки сточных вод, как правило, используют напорные и открытые гидроциклоны. Напорные гидроциклоны (рис. 5) применяют для осаждения твердых примесей, а открытые - для удаления осаждающиеся и всплывающих. Гидроциклоны просты по устройству, компактны, легко обслуживаются, имеют высокую производительность и небольшую стоимость. Очищаемая вода подается по патрубку 3 в цилиндрическую часть гидроциклона 1 со скоростью 20 м/с и движется вдоль стенок по спирали вниз; в конической части циклона она поворачивается к вертикальной оси аппарата и по внутренней спирали п
однимается вверх к выходному патрубку 5. Под действием центробежной силы взвешенные в жидкости частицы выпадают и через спуск для шлама 4 удаляются из системы. Для увеличения пропускной способности устанавливают группу из параллельно включенных гидроциклонов, а для увеличения степени очистки группу последовательно включенных аппаратов. Гидроциклоны могут использоваться также для уплотнения шлама путем удаления из него части воды. Эффективность очистки гидроциклонами составляет около 70 %. Недостатком напорных циклонов является значительный расход электроэнергии для создания необходимого напора и быстрое изнашивание аппаратов.
Рис. 5. Принципиальная схема напорного гидроциклона:
1 – корпус; 2 – коническое днище; 3–тангенциально расположенный подающий патрубок; 4 – выпускной патрубок; 5 – отводящий патрубок.
Производительность гидроциклона может быть определена по формуле:
(4)
где Q – количество осветляемой воды, м3/ч;
α– коэффициент, учитывающий потери воды в осадке и равный 0,85…0,90;
















